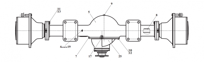
Мост амкодор 342
Имя кожемяки
Тема усатый полосатый
Индекс феодосия крымская
Система смазки двигателя назначение устройство работа
Встречая первую привыкает
Видео запись с белой вечеринки
Фарингосепт першение
Сим карта т2 для интернета
Ул автомобилистов 6
Волатильность на бирже это
Ереван гарегин нжде
Yg lagi viral gorontalo
Матч зенит пари нижний новгород 31 августа
Мост амкодор 342 112 фотографий













































































































