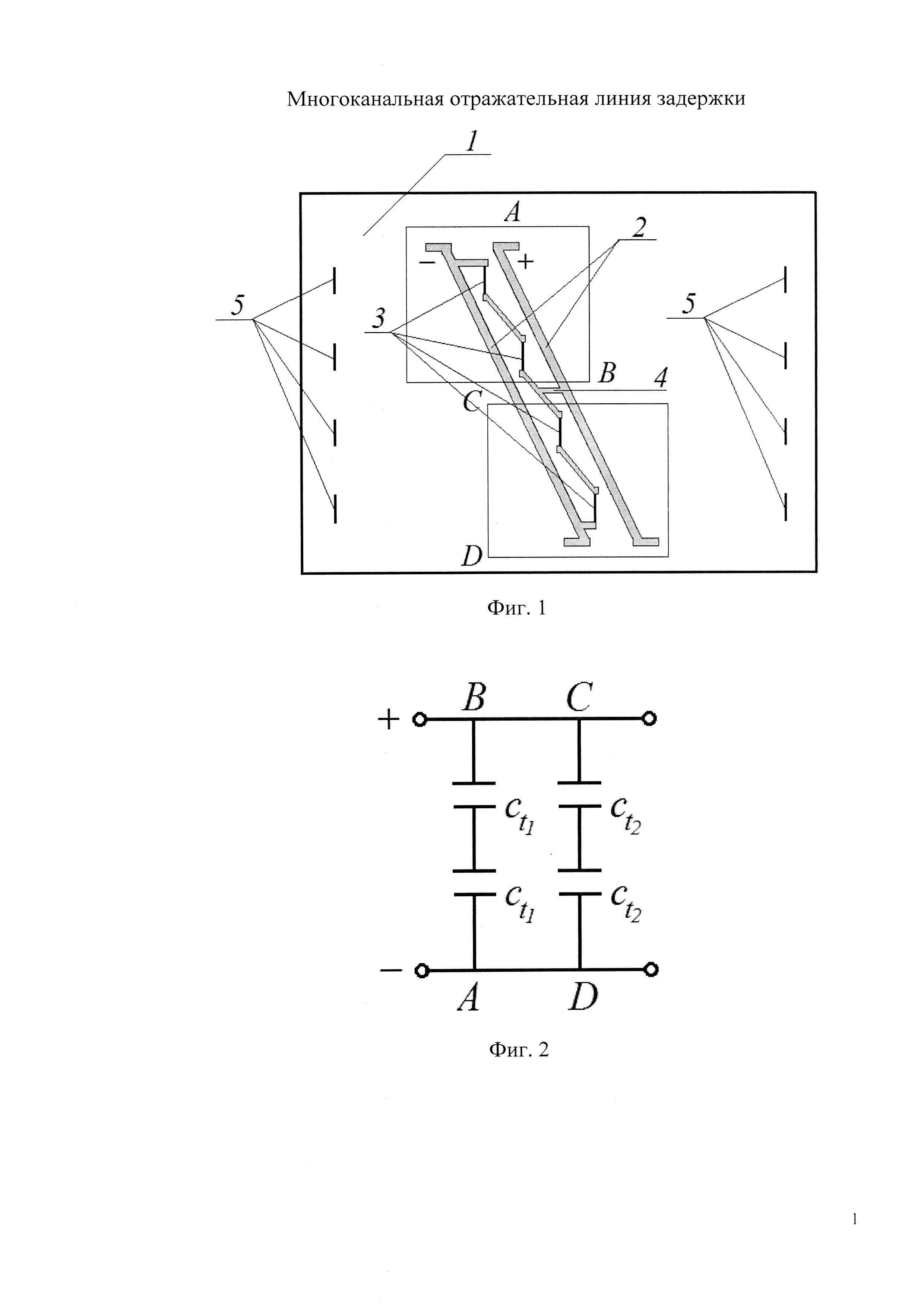
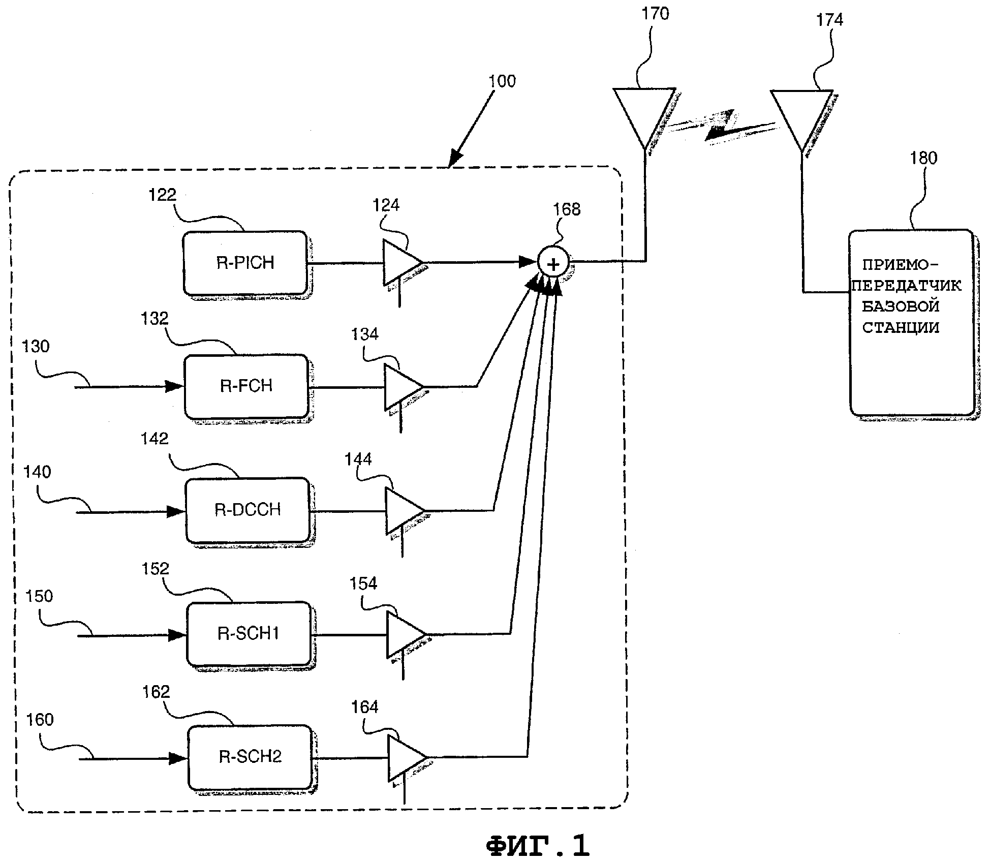
Многоканальная линия
Учет успеваемости и посещаемости
Приложение Фото Худее
Вырезать Фото Онлайн Бесплатно
Теплопередача 8 класс
Английский язык для детей 1 урок
Ноутбук проблемы
Тайна мает
Amd b450 asus
Не удалось найти игру
M57 e70
Когда покупать мотоцикл
Антибиотик азитромицин 3 отзывы
Стоит побыть
Многоканальная линия 107 фото








































































































