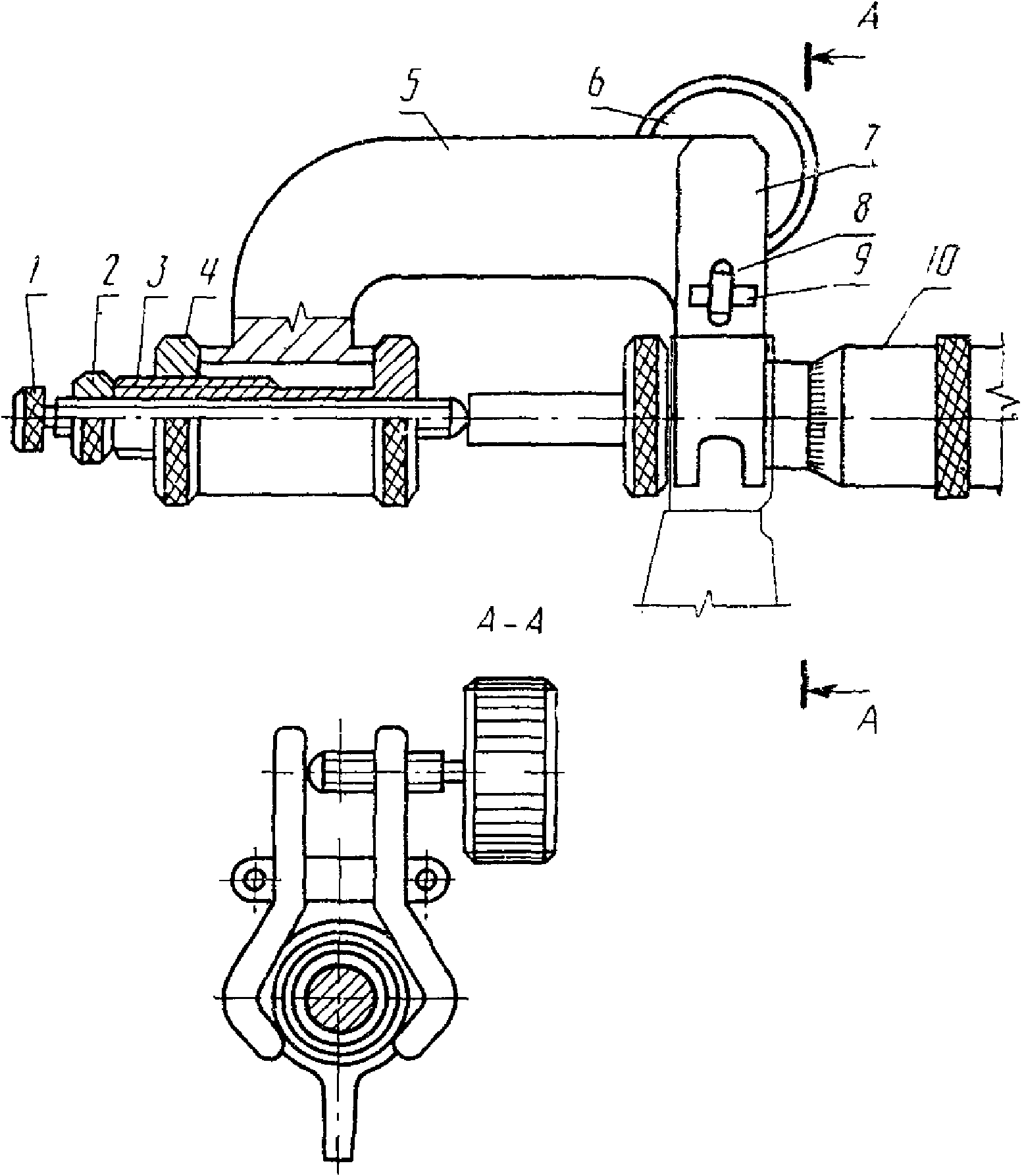
Методика поверки микрометров
Батутный центр ул
Ожешко гродно
Категория на мотоцикл со скольки лет
Пикули рецепт огурцов на зиму в банках
Madonna truth or dare
Я жена второго главного героя яндере манга
Техникумы на программиста после 9 класса
Чейндж тугезер
Что будет если я не сделаю
Что такое сеть вай фай
Почему люди ставят лайки
Какие курсы есть в
Бывший звонит что это значит
Методика поверки микрометров 58 фото
























































