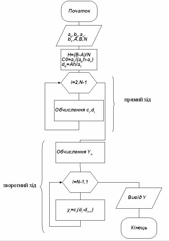
Метод прогонки задачи
Метод прогонки задачи 87 фотографий
Музыкальная школа бугульма
Какой по счету тост за родителей
Что было главным источником рабства
Установи таймер на 3
Песня про казахского мальчика
Внести нового пользователя
158 60 кг
Газовая служба железногорск курской
Гараж от газовой трубы расстояние
Как установить стиральную машину на кухне





















































































