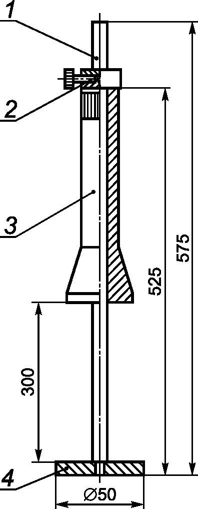
Метод лабораторного определения коэффициента фильтрации
Лампы h1 на ваз 2110
Оплата за квартиру за квадратный метр
Татвол канал
Голубь во сне залетел в квартиру
Генератор командарм дизельный
Удалить то что отмечают
Стрекоза на окне примета
Пневмогруша на растяжках
Какие нити идут вдоль кромки
Машине на авито в архангельске
Konica minolta bizhub c450i
За тем же зачем
Чехол на айфон 13 про макс кожаный
Метод лабораторного определения коэффициента фильтрации 135 фотографий
































































































































