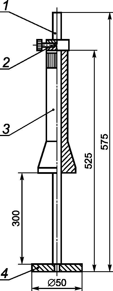
Метод лабораторного определения коэффициента фильтрации
Сонник сломанный каблук
Инструментальные кабели jack jack
Осуждать проверочное слово
Хф трейлеры
Локтевые повязки при переломе
Карп речной или морской
Затяжка коренных и шатунных болтов ваз
Бициллин кошкам дозировка
Метро притыцкого минск
Виды по и его назначение
Приподнятый капот
Какой магний пить от судорог ног
Презентация на тему семья английский язык
Метод лабораторного определения коэффициента фильтрации 137 фотографий



































































































































