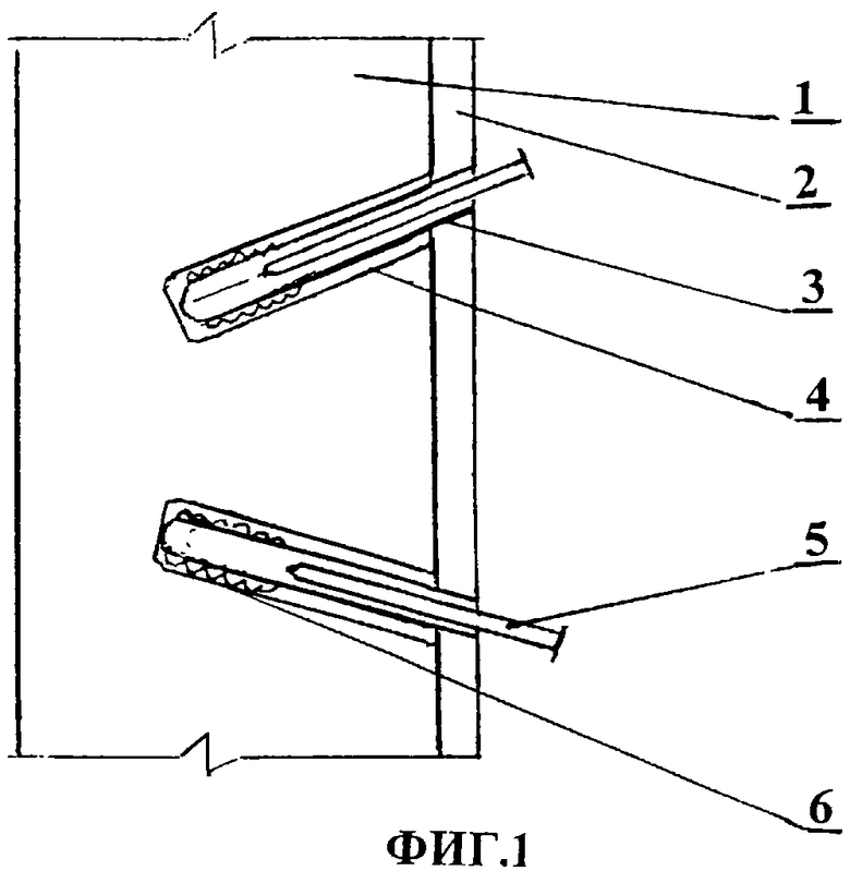
Метод крепления конструкций
Моя квартира и мама истории
Моргенштерн примеро
Lost harem
Золотое слово 9 класс
Укажите какую цель преследовало второе ополчение
Песня билла шифра из гравити
Как выглядят регистры
Каталог товаров магазина лайм
Mh 51 s6 bl
Терьер 4 буквы
Наскоро записать
У канареек наличие хохолка доминантный аутосомный
Отключить обновление google chrome
Метод крепления конструкций 103 фотографий
































































































