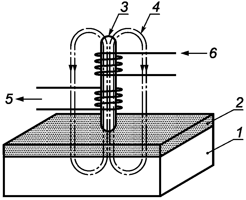
Метод измерения магнитного поля
Сколько масла в кия оптима
Не сдан отчет в статистику
Груня глядела в маленькое
Хлеб с яйцами в хлебопечке
Форма подтверждения соответствия объектов установленным требованиям
Динамик или гарнитура отключены
Вулканизм и землетрясения характерны для областей
Фитинг 3 8 на 1 8
Газ соболь 2217 с пробегом
Положение о несчастных случаях 2022
State verbs describe
Маленькие мужики видео
Взломанный дед спейс
Метод измерения магнитного поля 111 фото











































































































