Машина Реферат

💣 👉🏻👉🏻👉🏻 ВСЯ ИНФОРМАЦИЯ ДОСТУПНА ЗДЕСЬ ЖМИТЕ 👈🏻👈🏻👈🏻
Реферат "Машины и механизмы"
Реферат: Аналитическая машина Чарльза Бэббиджа . . .
Топлинни машини | Реферат от 'Физика
Реферат - История создания стиральной машины - История техники
Машины протирочно-резательные МПР-350М - Реферат
Машина времени (2) - Реферат
Реферат: Холодильные машины - BestReferat .ru
Реферат - Машина Тьюринга - Информатика, программирование
Реферат На Тему Электрические Машины - ofisassociation
Холодильні машини » Українські реферати
Новый Мир Эссе
Гдз Информатика Практическая Работа
Отчет По Практике Документирование
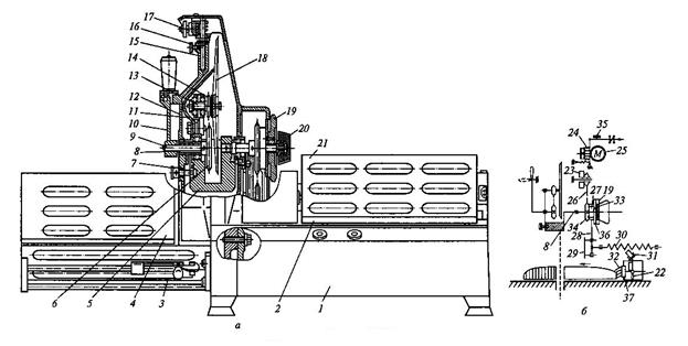
Механизмами управления, контроля и регулирования называются различные механизмы и устройства для контроля размеров обрабатываемых объектов, например, механические щупы, следующие за фрезой, обрабатывающей криволинейную поверхность, и сигнализирующие об отклонении . . .
Регистровая память машины Бэббиджа была способна хранить как минимум сто десятичных чисел по 40 знаков, теоретически же могла быть расширена до тысячи 50-разрядных (для сравнения укажем, что запоминающее устройство одной из первых ЭВМ «Эниак» в 1945 г . сохраняло всего 20 . . .
При хладилните машини се изпомпва количество топлина от охладителя и се отдава на нагревателя заедно с енергията на извършената работа . Видове топлинни машини: 1 . Парна машина - цикъл на Ранкин . 0-1 подава се пара в цилиндъра, р расте . 1-2-3 подаването на парата се прекратява . . .
Машина имела деревянный барабан, который совершал по восемь вращений то в одну, то в другую сторону . Для того чтобы привести механизм вращения барабана в сцепление с валом электродвигателя, в нижней части машины имелся рычаг .
Протирочные машины МП-800, ИП-1000предназначеныдля перемешивания вареных овощей,фруктов . Протирочно-резательныймеханизм МОвходит вкомплект к универсальному приводу УКМи может собираться в двух вариантах:для нарезки сырых овощей и для протиркивареных продуктов . 1 .1 . . .
Машина времени (2) - Реферат . До сих пор существует мнение, что машина времени вот-вот будет создана, стоит сделать только последний рывок и - поехали… . Эту уверенность постоянно поддерживает пресса - как же можно лишить человечество такой изумительной возможности, как . . .
Принцип действия абсорбционных холодильных машин Рабочим веществом в абсорбционных холодильниках служат растворы двух компонентов с различными температурами кипения при одинаковом давлении .
функция δ (функция переходов или программа), которая задается отображением пары из декартова произведения Q x Г (машина находится в состоянии qi и обозревает символ gi) в тройку декартова произведения Q х Г х {L,R} (машина переходит в состояние qi, заменяет символ gi на символ gj и . . .
Такие машины используют в качестве сварочных генераторов, где требуется относительное постоянство сварочного тока при изменении напряжения в широких пределах вплоть до значений близких к нулю (когда электрод касается свариваемых деталей) .
ukrefs .com .ua /90457-Holodil-nye-mashiny .html
Холодильні машини працюють за принц . ипом теплового насоса - віднімають теплоту від охолоджуваного тіла і з витратою енергії (механічною, теплової і т . д .) передають її охолоджуючої середовищі (зазвичай воді або навколишньому повітрю), що має більш високу температуру, ніж . . .
Гончаров Собрание Сочинений Скачать
Контрольная работа по теме Организация производства туристского продукта
Математика В Начальной Школе Реферат
Реферат Демографическая Ситуация В Странах Азии
Дипломная работа по теме Отдельные виды доверительного управления имуществом
Болезни Новорожденных Реферат
Сочинение Облака 2 Класс Русский
Реферат: Рецензия на рассказ И. Бунина "Сны Чанга". Скачать бесплатно и без регистрации
Совершенствование Техники Бега На Короткие Дистанции Реферат
Курсовая Работа На Тему Расчет Параметров Электрических Цепей Постоянного Тока Средствами Excel
Реферат На Тему Генная Модификация
Реферат по теме Купля-продажа квартир
Как обнаружить "черную дыру"
Учимся Писать Сочинение 3 Класс
Что Должно Быть В Курсовой Работе
Контрольная работа по теме Сущность бухгалтерского дела
Диссертации Музыкальное Искусство
Современные Технологии В Жизни Человека Эссе
Контрольная работа: Туристские формальности Румынии
Дипломная работа по теме Система ведения путевого хозяйства
Сочинение Про Контр Страйк На Английском
Реферат: Шовная техника
Схема Написания Эссе
Курсовая Работа База Данных Библиотека Elibrary
Тетрадь Для Лабораторных Работ 8 Класс
Лекция На Тему Историзм Писательского Мышления В Повествовательной Структуре Романов
Реферат: Английская интервенция в Средней Азии
Жизнь и педагогическая деятельность К.Д.Ушинского
Смешные Опечатки В Сочинениях
Доклад по теме Мария Склодовская-Кюри (1867-1934)
Курсовая Работа Информационные Системы В Управлении
Реферат: Военная политика РФ. Скачать бесплатно и без регистрации
Итоговая Контрольная Работа Математика 11
Дипломная работа: Метод Ю.И.Виноградова и А.Ю.Виноградова решения жестких краевых задач без ортонормирования. Скачать бесплатно и без регистрации
Курсовые Работы Саратов
Контрольная Работа Электролитическая Диссоциация 8 Класс
Реферат: Сертификация мясных продуктов
Контрольная работа по теме Позитивистский автоматизм в XXI веке
Темы Дипломных Работ По Картографии
Курсовая работа по теме Песенная традиция в лирике С.А. Есенина
Реферат: Оценивание параметров и проверка гипотез о нормальном распределении
Контрольная Работа На Тему Формы Государства
Реферат по теме Зарождение христианства
Сочинение: Катерина и Лариса: кто сильнее (Пьесы "г А.Н. Островского "Гроза" и "Бесприданница")
Пожарно Тактическая Подготовка Реферат
Курсовая работа: Электробезопасность
Реферат: Вертикальная интеграция понятия, причины, последствия
Доклад по теме Марийцы
Чем Опасны Конфликты Сочинение Аргументы
Тема Диссертации Искусственного Интеллекта
Реферат На Тему Гелиоцентрическая Система Коперника
За Обедом Серебрякова Сочинение 2
Отчет По Практике В Местной Администрации
Курсовая На Тему Асу Водоснабжением Жилого Дома
Курсовая работа по теме Изменения показателей свёртывания крови при циррозах печени различной этиологии
Отчет по практике по теме Оценка объекта недвижимости
Курсовая работа по теме Основы радиоэлектроники
Контрольная работа по теме Юридическая служба на предприятии, ее роль и функции
Основы Местного Самоуправления Курсовая
Дипломная работа: Оценка кредитоспособности . Скачать бесплатно и без регистрации
Курсовая работа по теме Співробітництво України і ЄС у митній сфері
Сочинение На Тему Над Чем Смеется Фонвизин
Курсовая работа по теме Документирование распорядительной деятельности
Курсовая работа по теме Чума собаки
Реферат: Цитоплазматическая наследственность. Цитоплазматическая стерильность
Эссе На Тему Мыслящий И Работающий
Реферат по теме Мифология звездного неба
Сочинение Полюбила Бы Я Обломова
Почему Возникают Межличностные Конфликты Итоговое Сочинение
Реферат На Тему Бетоны И Желозобетоны
Установка Нескольких Операционных Систем На Пк Реферат
Реферат: Технология получения и физические свойства тонких пленок
Дипломная Работа Нетрадиционные Техники Рисования
Реферат по теме Управление предприятием в условиях кризиса
Реферат: История Воронежа 1682 1725
Сочинение Учитель Ученик
Дипломная работа по теме Исследование хозяйственной деятельности предприятия на примере товарищества на вере
Реферат: Пространство и время в произведениях Ф.М.Достоевского
Небольшое Сочинение Про Осень
Культура Как Творчество Реферат По Философии Культуры
Контрольная работа по теме Составление прогнозных карт состояния окружающей среды
Реферат по теме Аллергия
Реферат по теме Свойства и применение шампуней
Природа И Охрана Окружающей Среды Эссе
Курсовая работа: Формирование стратегии деятельности предприятия
Реферат: The Causes Of The War Of 1812
Реферат: Экономические взгляды представителей старой исторической школы В. Рошер, Б. Гильденбрант, К.Книс. Скачать бесплатно и без регистрации
Курсовая Работа На Тему Особенности Учета Основных Средств В Бюджетных И Коммерческих Организациях
Поверхностно Активные Вещества Реферат
Изложение: Блеск и нищета куртизанок. Бальзак Оноре де
Контрольная работа по теме История государства и права зарубежных стран
Реферат На Тему Производство Сливочного Масла
Сочинение На Тему Синонимы В Русском Языке
Курсовая Работа Ремонтные Работы
Урок Русского Языка Сочинение Описание
Сочинение Смерть Тараса Бульба
Граждане Как Субъекты Предпринимательской Деятельности Реферат
Творчество Сочинение 9.3 Аргументы
Отчет По Практике Финансово Хозяйственная Деятельность
Этапы Работы Над Сочинением В Начальной Школе
Машина Реферат
















































































