Линейка Реферат

👉🏻👉🏻👉🏻 ВСЯ ИНФОРМАЦИЯ ДОСТУПНА ЗДЕСЬ ЖМИТЕ 👈🏻👈🏻👈🏻
Разлинованный лист а4 в линейку для реферата (какие должны . . .
реферат: Крнтрольно-измерительные приборы (линейка . . .
Реферат: Крнтрольно-измерительные приборы (линейка . . .
Реферат на тему "Крнтрольно-измерительные приборы (линейка . . .
Логарифмическая линейка — allRefs .net
Линейка закройщика - Страна Мам
Линейка - презентация к уроку Технологии
Что такое продуктовая линейка
Логарифмическая линейка — Википедия
Разлинееные листы формата А4 для печати .
Практическая Работа Простейшие
Отчет По Практике Мгу
Сайт Эссе
Одним из главных правил, отличающих студенческую работу от школьной, является изменение поля с правой стороны со стандартного, равного 1,5 см, на 1 см . Это можно сделать в документе Word следующим образом: Зайдите во вкладку «Разметка страницы»; Выберите «Поля»; Купить реферат .
uchit .net /catalog/Estestvoznanie/38704/
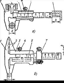
(рис .8,а) .Линейки с широкой рабочей поверхностью приме няют для поверки прямолинейности и для поверки плоскостности узких поверхностей Размеры l X Ь линеек различных типов имеют следующие зна чения: для линеек типа ШП 205Х5 — 630Х10 мм;
(рис .8,а) .Линейки с широкой рабочей поверхностью применяют для поверки прямолинейности и для поверки плоскостности узких поверхностей Размеры l X Ь линеек различных типов имеют следующие значения: для линеек типа ШП 205Х5—630Х10 мм;
Крнтрольно-измерительные приборы (линейка,штангенциркуль) - реферат по естествознанию (КСЕ) Тип: Реферат . Предмет: Естествознание (КСЕ) Все рефераты по естествознанию (КСЕ) » . Язык: Русский . Автор: Касса . Программа: Microsoft Word 9 .0 . Дата: 5 дек 2001 .
allrefs .net /c12/3sivn/p3/
Он же впервые нанес на шкалы "особые точки", отметив ими числа, часто встречающиеся в вычислениях: 3,14 (число p); 0,886 (сторона квадрата, равновеликого кругу единичного радиуса) и ряд других . Любопытно отметить, что такой неотъемлемый элемент современной линейки, как "бегунок . . .
«Линейка закройщика» - это по сути обыкновенная масштабная линейка . Поделиться Открыть в полный размер
Линейки начали производить для парижских студентов . Только в начале xix века линейка прочно заняла свое место в школьных классах . После 1812 года «республиканские» линейки попали в Россию как . . .
Продуктовая линейка (от анг . «product line») - это перечень товаров и услуг, отличных по цене, объему, весу, размерам и иным характеристикам . Чаще всего под продуктовой линейкой (или линейкой продуктов) в системе маркетинга понимают группу продуктов, связанных одной торговой . . .
Начало (или конец) подвижной шкалы указывает на результат: log ( x ) − log ( y ) = log ( x y ) {\displaystyle \log (x)-\log (y)=\log \left ( {\frac {x} {y}}\right)} С помощью логарифмической линейки находят лишь мантиссу числа, его порядок вычисляют в уме . Точность вычисления зависит от длины шкалы и для . . .
Шаблоны разлинеенных листов формата А4 . Можно распечатать на принтере из pdf (пдф) файла онлайн прямо из браузера . Фоны в полоску . Линии на весь лист - горизонтальные и вертикальные . Для того . . .
Курсовая Работа На Тему Метод Золотого Сечения На Delphi
Итоговое Сочинение На Тему Время Перемен Аргументы
Растения Курсовая
Контрольная работа: Счетчик команд. Регистр DPTR. Память. Порты
Реферат: История парикмахерского искусства
Контрольные Работы Мельникова 9 Класс
Производственное Планирование Курсовая
Контрольная работа: Расчет трактора ДТ-175С
Практическое задание по теме Заголовки інформаційних структур SDH
Контрольная Работа По Всеобщей Истории 11 Класс
Курсовая работа: Организация, планирование и управление инструментальным хозяйством
Курсовая Работа На Тему Оценка Уровня Шума В Помещении. Расчет Средств Защиты От Шума
Лабораторная Работа Изучение Строения Раковины Моллюсков
Шпаргалки На Тему Семейное Право
Курсовая Работа На Тему Фигуры Речи
Реферат по теме Коллективное поведение в обществе
Реферат: Torture Essay Research Paper Torture is defines
Курсовая работа по теме Бизнес-план по разработке и сопровождению продуктов для оборудования пожарной безопасности
Реферат: Towels Beach And The Sand
Сочинения Огэ Русский Язык 9.1 2022 Цыбулько
Героизм Сочинение Рассуждение 9.3 По Тексту
Курсовая работа по теме Метод "Стрілянини"
Дипломная работа: Информатика и информационные технологии в образовании
Дипломная Работа На Английском Языке
Реферат На Тему Народные Промыслы России
Курсовая работа по теме Отношение Флоренского к символизму
Реферат: Рекомендации по эффективной адаптации маркетинговой деятельности фитнес-клуба «FitLand» на рынке фитнес-услуг 42 Рекомендации по ассортиментной, ценовой и сбытовой политике организации 42
Реферат по теме Межличностная неприязнь
Контрольная работа по теме Природа в детских рисунках
Образ Руси В Поэме Блока Сочинение
Шпаргалка: Дедуктивное умозаключение
Понятие И Установление Инвалидности Курсовая Работа
Контрольная работа по теме Корпоративная культура и поведение организации
Контрольная Работа На Тему Русский Язык И Культура Речи
Реферат Тема Общество
Отчет По Практике Сельская Администрация
Дипломная работа по теме Структура, военная деятельность и персоналии магистров ордена госпитальеров
Полусеместровая Контрольная Работа По Физике Мфти
Реферат: Отчет по производственной практике в СПК Сибай с. Старый Сибай Баймакского района
Реферат: Londres 38
Курсовая работа: Этапы разработки экскурсионной программы
Дипломная работа по теме Фононы
Курсовая работа по теме Економічна характеристика Росії
Реферат по теме Афина
Эссе Эволюция Человека
Реферат по теме Становление экономической теории
Сочинение Старая И Новая Москва
Курсовая работа по теме Процес психологічної допомоги підліткам, що зазнали насильства
Современная Педагогика Реферат
Клише Для Итогового Сочинения Декабрьское 2022
Реферат: Загрязнение атмосферы машиностроением. Скачать бесплатно и без регистрации
Эссе Золотое Слово
Учебное Пособие На Тему Теxніко-Тактична Підготовка Гри У Баскетбол
Реферат: Учение Вернадского о ноосфере
Контрольная работа: Оборот земель сельскохозяйственного назначения
Весна Сочинение 2
Дипломная работа по теме Учёт финансовых результатов от реализации продукции (работ, услуг) на примере ООО "Виктория"
Сочинение Про Ромашку Короткое
Организация коммерческой деятельности предприятия
Реферат На Тему Теория Воспитания
Курсовая работа: Квалифицированное убийство. Скачать бесплатно и без регистрации
Дипломная работа: Семья и дошкольные учреждения
Реферат: Понятие правосознания, его структура и виды. Пути повышения правосознания граждан РФ. Скачать бесплатно и без регистрации
Реферат: Количественная теория денег 4
Дипломная работа по теме Конверсионные модели в английском и русском языках
Реферат: Herbs Essay Research Paper Your studying for
Реферат: Аналіз завдання щодо удосконалення вищої освіти України у контексті вимог Болонського процесу
Защиты Диссертаций Новость
Реферат На Тему Психическое Состояние. Фрустрация
Курсовая Работа На Тему Проблематика И Поэтика Романа В.М. Теккерея "Ярмарка Тщеславия"
Реферат На Тему Культура Общения
График Контрольных Работ 1 Класс Школа России
Сравнительная Характеристика Онегина И Чацкого Сочинение
Реферат Три Стороны Общения
Реферат по теме Петр Захаров-Чеченец (1816-1846 гг.)
Сочинение по теме Зося Норейко и Антон (по повести «Пойти и не вернуться»)
Елена Сударева Эссе О Романах Достоевского
Дипломная работа по теме Воздействие изменений в налогообложении малого бизнеса на социально-экономические аспекты развития п...
Урок Сочинение Рассуждение 11 Класс
Реферат по теме Вексельный оборот в Украине
Доклад по теме Давид Рикардо
Дипломная работа по теме Ролевые игры и социально-психологический тип личности - участника ролевой игры
Курсовая работа: Творческое мышление. Скачать бесплатно и без регистрации
Дипломная работа: Грабеж как форма хищения
Курсовая работа: Коммерческая тайна
Реферат: Внешняя торговля Китая
Сочинение По Тексту Жуховицкого
Реферат На Тему Конструктивные Методы Изучения Языка
Курсовая работа: Эксплуатация локомотивов
Реферат по теме Духовные споры конца XV - начала XVI вв.
Курсовая работа: Защита авторских и смежных прав в России
Курсовая работа по теме Судебный и административный порядок установления происхождения детей
Реферат: Poetry Explication Stopping By Woods On A
Реферат: Шпаргалка к экзамену по истории
Реферат: Луганский государственный заповедник
Виды Воздействия Электрического Тока На Человека Реферат
Реферат На Тему Источники Техногенного Загрязнения Биосферы
Реферат: Nunavut
Сочинение Письмо 6 Класс
Реферат по теме Исследование мочи
Линейка Реферат













































































