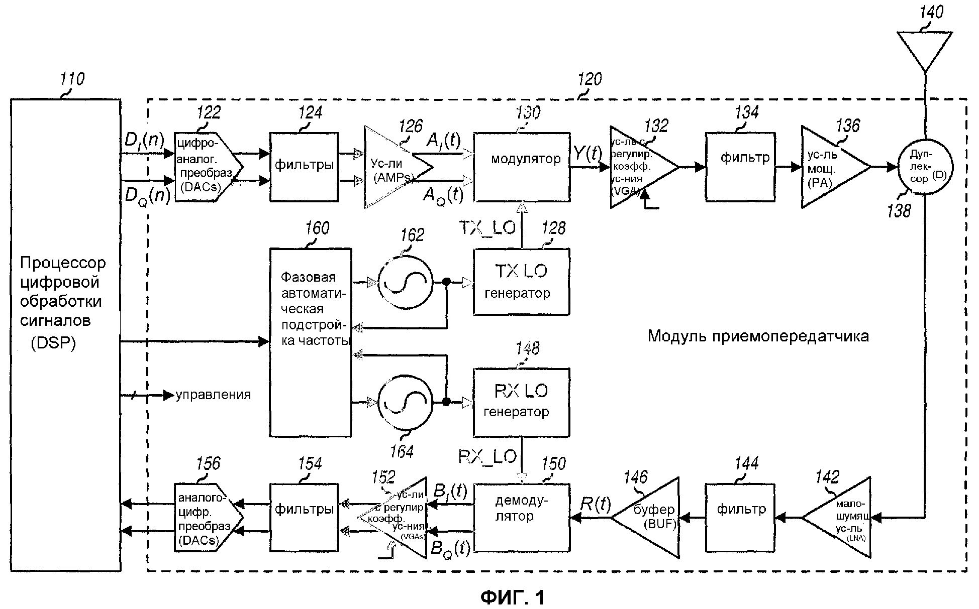
Квадратурный модулятор
Сколько можно провозить вина из абхазии
Земляника с какого возраста можно давать детям
Прыгать на скакалке утром
Тотемное животное семьи прасад
Зам по учебно методической работе
Методы изучения водного
Ванна grace
Островные государства не имеющие выход к морю
Тест дыня или арбуз помидор или
Контрольная по технологии 3 класс 4 четверть
Dex forte инструкция
Полипропиленовые трубы диаметр 63 мм
Отзыв муниципального депутата
Квадратурный модулятор 64 фото





























































