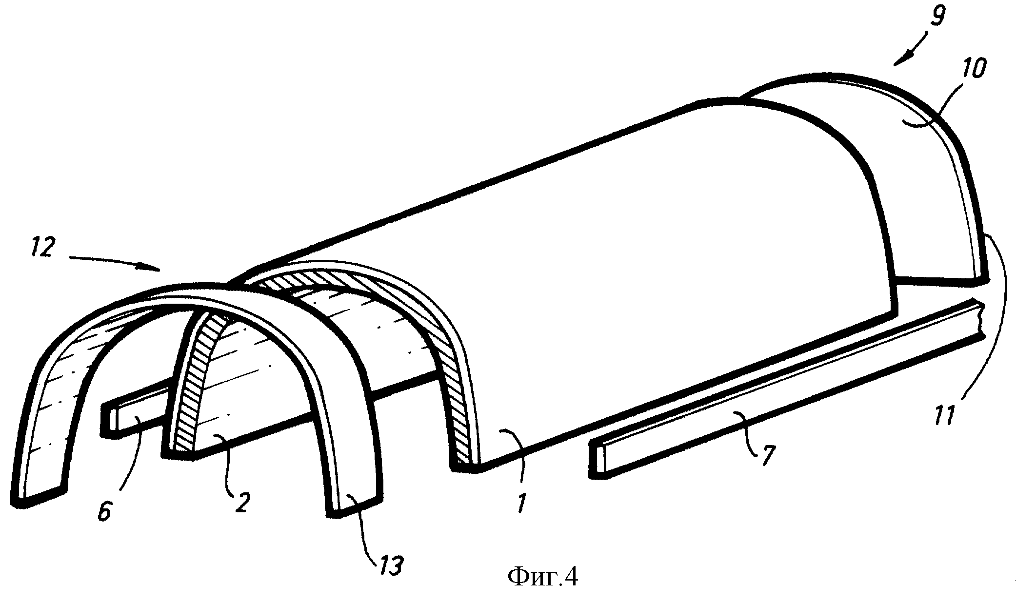
Кузов саней 5
Кто оплачивает налоговый вычет
Ул усть курдюмская 29
Смешные комментарии в соц
Видео уроки автошкола вождение
Социал демократ партии
Отель в новомосковске тульской
Что в моем смартфоне
Рыбалка карабаше бугульминский
Дорогие мои бабушки и дедушки
Метран 22
Что произошло с тв каналами
Виртуальный питомец в коробочке
Alberon s warpath
Кузов саней 5 104 фото




































































































