Курсовая работа по теме Устройство и правила эксплуатации топливного насоса высокого давления дизеля ПД1М тепловоза ТЭМ 2, рамы электровоза ТА НП1

⚡ 👉🏻👉🏻👉🏻 ИНФОРМАЦИЯ ДОСТУПНА ЗДЕСЬ ЖМИТЕ 👈🏻👈🏻👈🏻
Устройство и правила эксплуатации топливного насоса . . .
Курсовая работа (Теория) на тему "Устройство и правила . . ."
Читать курсовая по транспорту, грузоперевозкам: "Устройство . . ."
Общие сведения о топливном насосе высокого давления
Курсовые работы (Теория) на тему "Устройство и правила . . ."
Устройство и правила эксплуатации топливного насоса . . .
курсовая работа на тему Устройство и правила эксплуатации . . .
Курсовая работа: Устройство и правила эксплуатации . . .
Скачать Курсовая работа на тему Устройство и правила . . .
Курсовая работа: Топливный насос высокого давления . . .
Курсовая работа по теме Бухгалтерский учет транспортных расходов организации
Цукрові буряки
Дипломная работа по теме Романтизм в биографической новелистике Паустовского
Темой выпускной квалификационной работы является «Описать устройство и правила эксплуатации топливного насоса высокого давления дизеля ПД1М тепловоза ТЭМ 2 , рамы электровоза ТА НП 1 » . Цель работы: изучить работу дизеляПД 1 М тепловоза ТЭМ 2 и . . .
Устройство и правила эксплуатации топливного насоса высокого давления дизеля ПД1М тепловоза ТЭМ 2, рамы электровоза ТА НП 1 - курсовая работа (Теория) по транспорту, грузоперевозкам . Правила эксплуатации и обслуживания рамы электровоза ТА НП 1 .
Введение Темой выпускной квалификационной работы является «Описать устройство и правила эксплуатации топливного насоса высокого давления дизеля ПД1М тепловоза ТЭМ 2 , рамы электровоза ТА НП 1 » . Цель работы: изучить работу дизеляПД 1 М тепловоза ТЭМ 2 . . .
Темой выпускной квалификационной работы является «Описать устройство и правила эксплуатации топливного насоса высокого давления дизеля ПД1М тепловоза ТЭМ 2 , рамы электровоза ТА НП 1 » . Цель работы: изучить работу дизеляПД 1 М тепловоза ТЭМ 2 и . . .
Устройство и правила эксплуатации топливного насоса высокого давления дизеля ПД1М тепловоза ТЭМ 2, рамы электровоза ТА НП 1 . Курсовые работы (Теория) / Транспорт, грузоперевозки Предмет Транспорт; грузоперевозки 26 0 23-12-2020, 19:42 .
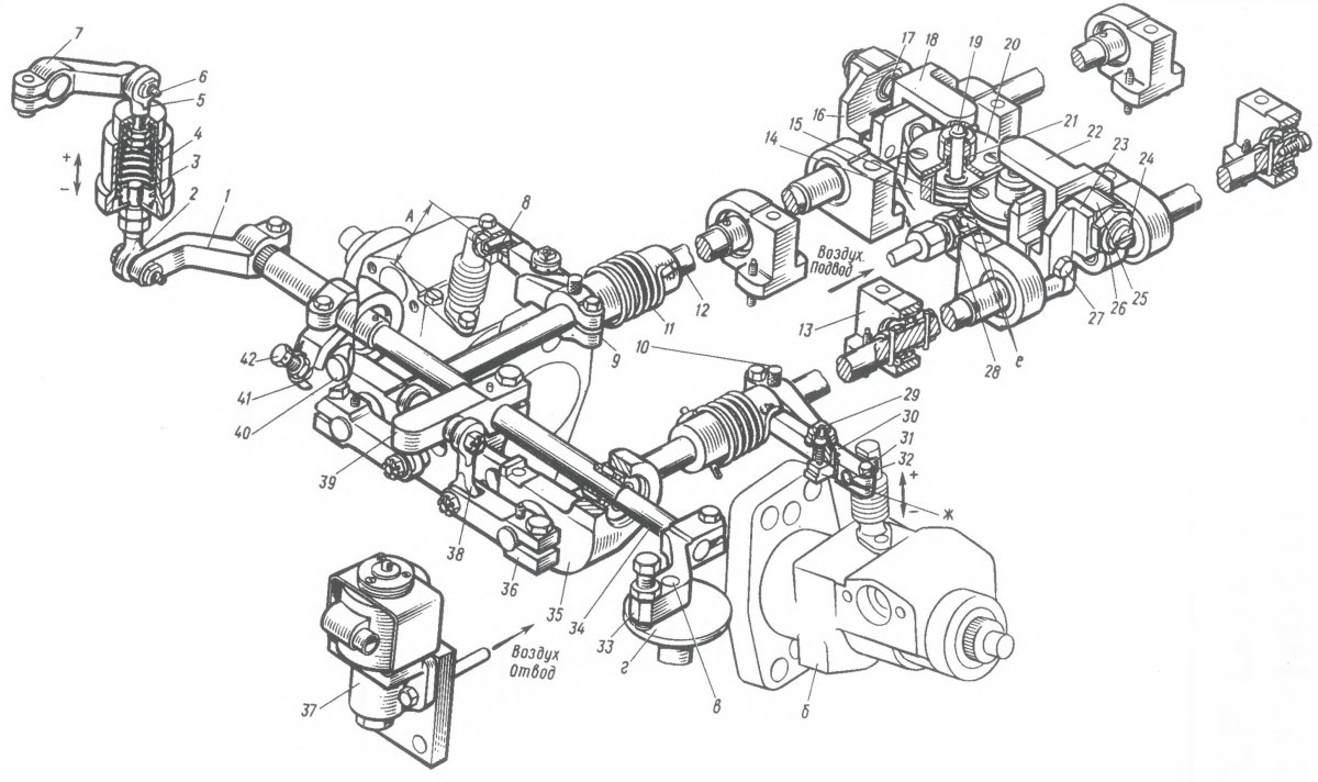
Устройство и правила эксплуатации топливного насоса высокого давления дизеля ПД1М тепловоза ТЭМ 2, рамы электровоза ТА НП 1 . Плунжер 7 в верхней части имеет вертикальный паз, соединяющий торец плунжера с кольцевой проточкой . Нагнетательный клапан 5 имеет . . .
Устройство и правила эксплуатации топливного насоса высокого давления дизеля ПД1М тепловоза ТЭМ 2, рамы электровоза ТА НП 1 . Назначение, принцип работы топливного насоса высокого давления . Правила эксплуатации и обслуживания главного генератора . . .
www .TNU .in .ua /study/refs/d30/file163706 .html
Назначение, принцип работы топливного насоса высокого давления . Правила эксплуатации и обслуживания главного генератора ГП-300 . Описать устройство и правила эксплуатации топливного насоса высокого давления дизеля ПД1М тепловоза ТЭМ 2, рамы электровоза . . .
Устройство и правила эксплуатации топливного насоса высокого давления дизеля ПД1М тепловоза ТЭМ 2, рамы Правила эксплуатации и обслуживания главного генератора ГП-300 . Возможные неисправности рамы электровоза ТА НП 1 , их причины и способы устранения .
Топливный насос высокого давления дизеля 10Д100 . Курсовая работа* по транспорту . После текущего ремонта дизель запускается и проверяется работа агрегатов, устройств и В процессе эксплуатации топливный насос высокого давления загрязняется пылью и . . .
Сборник Практических Работ В Текстовом Редакторе
Контрольная Работа На Тему Конституционно-Правовая Ответственность В Рф
Критерии Оценки Сочинения Огэ По Русскому
Курсовая Работа На Тему Тахометр Индукционный
Курсовая работа по теме Личные неимущественные правоотношения
Реферат по теме Активность ферментов
Контрольная Работа На Тему Страхование Имущества Промышленных Предприятий
Гражданство И Международное Право Реферат
Дипломная работа по теме Бухгалтерский учёт заработной платы и расчётов с персоналом (по материалам предприятия 'Unisim-Soft' SRL)
Бизнес Идеи Реферат
Курс Лекций На Тему Общая Теория Статистики
Доклад: Аккерман, Конрад Эрнст
Курсовая работа: Рекреаційно-туристичне вивчення Італії
Контрольная работа по теме Вирішення задач по аналітичній хімії
Анализ В Отчете По Учебной Практике
Контрольная работа: Основы управления маркетингом. Скачать бесплатно и без регистрации
Препараты Применяемые При Лечении Алкоголизма Реферат
Реферат: Ярослав I Владимирович Мудрый. Скачать бесплатно и без регистрации
Реферат: Хромосомные аномалии, ведущие к антисоциальности
Отчет О Прохождении Практики Магистрантом
Реферат На Тему Минералы Крыма
Реферат: Сетевые операционные системы 2
Дипломная работа по теме Разработка учетной политики предприятия и оценка ее результативности
Контрольная работа по теме Лікування виразкової хвороби дванадцятипалої кишки
Контрольная Работа На Тему Законы Экологии
Отчет По Учебной Практике В Юридической Фирме
Курсовая работа: Инвестиции. Скачать бесплатно и без регистрации
Реферат: Язык художественной прозы Пушкина
Экспо 2022 Эссе Казакша
Реферат: Контрольная работа по делопроизводству
Курсовые Работы Автомобили
Курсовая работа по теме Защита прав и свобод человека и гражданина Конституционным судом Российской Федерации
Курсовая Работа На Тему Планирование Открытия Интегрированного Консалтингового Агентства "Орион"
Реферат: Untitled Essay Research Paper Jewish History
Реферат: Додаткові українські легенди та перекази про людину
Сочинение К Дню Депортации На Фотографию Смотрю
Реферат Работы А Эйнштейна По Природе Света
Доклад: Две древние дороги
Практическая Работа Анализ Прибыли
Сочинение по теме Последние книги "Тихого дона" и "Поднятой целины" в единстве исканий М. А. Шолохова
Курсовая работа: Экономика знаний и факторы её реализации
Курсовая работа по теме Западноевропейская культура эпохи Просвещения
Дипломная работа по теме Выявление маркеров гепатита В, С и кори при обследовании пациентов ККБ №1
Реферат: Основні властивості простору Соболєва
Реферат По Физкультуре Тема Волейбол
Как Написать Сочинение На Английском Про Себя
Мини Сочинение По Произведению
Сочинение Отзыв Волки
Контрольная работа: Производная и ее применение для решения прикладных задач
Реферат по теме Педагогические возможности семьи в речевом развитии детей дошкольного возраста
Лабораторная работа: Исследование косого изгиба балки
Контрольная Работа Неравенства 8 Класс С Ответами
Дипломная работа по теме Страховые компании как участники финансовых отношений
Реферат по теме Сущность и уроки реализации НЭП в СССР
Ковид 19 Сочинение
Курсовая работа по теме Значення логістики в управлінні товарними запасами оптових підприємств
Сочинения По Русскому 15.2
Курсовая работа по теме Доказательство трудового стажа
Результаты Всероссийского Сочинения 2022 Кемеровская Область
Курсовая работа по теме Изучение основных видов страхования и их характеристик
Реферат На Тему Биржевое Дело
Реферат На Тему Архитектура Узбекистана
Дипломная Работа На Тему Адаптація Світового Досвіду До Умов Діяльності Фінансових Посередників України (В Аспекті Діяльності Інвестиційних Фондів)
Курсовая Работа По Теме Спортивная Одежда Заключение
Анализ Выполнения Курсовой Работы
Курсовая На Тему Мясо
Контрольная работа по теме Технология и производственная функция
Сочинение Про Землетрясение На Английском
Сочинение На Тему Школа Будущего 5 Класс
Характеристика С Места Практики На Студента Медика
Курсовая работа по теме Предмет преступления и его юридическое значение
Дипломная работа по теме Программы финансового анализа
Эссе На Тему Бизнес-План По Организации Фирмы По Производству И Переработке Драгметаллов
Реферат На Тему Реформы 50-Х Годов Xvi Века В России
Курсовая работа по теме Лесков
Отчетность Курсовая
Ответ на вопрос по теме Морфология русского языка
Реферат: Brilliant Minds Essay Research Paper Running head
Пример Текста Реферата
Дипломная работа: Основные закономерности сенсибилизированной фосфоресценции в твёрдых растворах органических соединений. Скачать бесплатно и без регистрации
Дипломная Работа На Тему Мотивация Труда
Реферат по теме Недействительность сделок и ее последствия
Биология 6 Класс Сивоглазов Лабораторная Работа
Реферат: Сучасні ліси
Сочинение Про Софью
Алимов 10 11 Контрольные Работы
Контрольная Работа Человек 5 Класс
Сочинение Праздники Моего Города
Значение Религии В Современном Мире Сочинение Рассуждение
Реферат: Анализ экономического положения Болгарии. Скачать бесплатно и без регистрации
Реферат На Тему Метафизика Платона
Доклад: Тревожные дети
Реферат: Камиль Сен-Санс (Saint-Saens)
Реферат: Писарро, Гонсало
Курсовая работа по теме Анализ себестоимости молока и определение резервов ее снижения
Смысл Жизни Рефераты
Реферат по теме Электрофизические, электрохимические и комбинированные методы обработки материалов
Реферат: Микросерверы
Критерии Сочинения 11 Класс В Декабре
Реферат: New England And The Chesapeake Region Before
Курсовая работа по теме Устройство и правила эксплуатации топливного насоса высокого давления дизеля ПД1М тепловоза ТЭМ 2, рамы электровоза ТА НП1















































































