Курсовая работа по теме Техническое обслуживание и ремонт тормозной системы КАМАЗ 5320

👉🏻👉🏻👉🏻 ВСЯ ИНФОРМАЦИЯ ДОСТУПНА ЗДЕСЬ ЖМИТЕ 👈🏻👈🏻👈🏻
Техническое обслуживание и ремонт тормозной системы КАМАЗ . . .
Техническое обслуживание и ремонт тормозной системы КАМАЗ 5320
Техническое обслуживание и ремонт тормозной системы КАМАЗ 5320
Техническое обслуживание и ремонт тормозной системы . . .
Ремонт тормозной системы КамАЗ-5320
Техническое обслуживание автомобиля "КамАЗ-5320"
Тормозная система камаз 5320: устройство и ремонт
Техническое обслуживание и ремонт автомобилей КамАЗ-5320
Дипломная работа на тему техническое обслуживание и ремонт . . .
курсовая работа техническое обслуживание и ремонт . . .
Дипломная Работа На Тему Строительство Резервуарного Парка Нефтеперерабатывающего Завода
Дипломная работа по теме Тип данных complex стандартной библиотеки языка C++
Как Оформлять Списки В Курсовой Работе
Курсовая работа (Теория) по транспорту, грузоперевозкам на тему: Техническое обслуживание и ремонт тормозной системы КАМАЗ 5320
В данной курсовой работе по теме «Техническое обслуживание и ремонт тормозной системы КАМАЗ 5320 » были рассмотрены все вопросы и составлен план её содержания, приобретена необходимая . . .
Скачать курсовую работу - в формате rtf . Название файла: Техническое обслуживание и ремонт тормозной системы КАМАЗ 5320
Техническое обслуживание и ремонт тормозной системы КАМАЗ 5320 . Курсовая работа (Теория) по транспорту, грузоперевозкам . 382 Кб / 39 стр / 6071 слов / 40432 букв / 24 мар 2015
курсовая работа на тему Ремонт тормозной системы КамАЗ- 5320 по предмету Техническое обслуживание и ремонт автомобилей
курсовая работа [607,0 K], добавлен 14 .02 .2013 . Техническое обслуживание и ремонт коробки передач и топливного насоса высокого давления автомобиля КамАЗ- 5320 . Назначение, устройство, принцип работы . . .
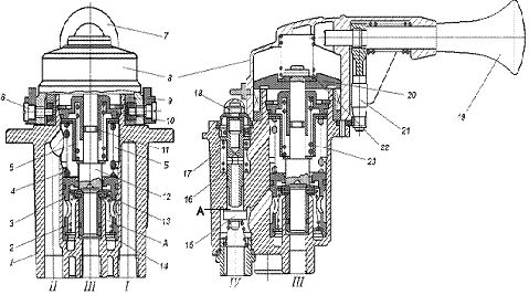
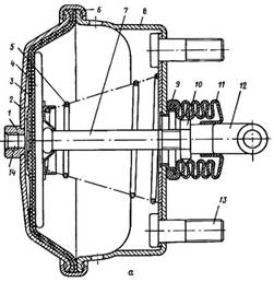
Техническое обслуживание тормозной системы Камаз- 5320 . правильность соединения суппорта с фланцами мостов; надежность крепления гаек на кронштейнах зажимных конструкций; положение . . .
Назначение, устройство, принцип работы, техническое обслуживание и ремонт коробки передач и топливного насоса высокого давления автомобиля КамАЗ- 5320 .
курсовая работа, добавлен 17 .05 .2011 . Технологический процесс технического обслуживания и ремонта автомобиля . Назначение, устройство и работа тормозной системы автомобиля КАМАЗ .
sepulker .narod .ru /171 .html
курсовая работа техническое обслуживание и ремонт автомобилей камаз- 5320 ремонт и техническое обслуживание автомобилей - нормы затрат на техническое обслуживание и текущий ремонт автомобилей - в .м . власов . . .
Реферат: Бетоносмесительное отделение для цеха по производству плит аэродромных и дорожных покрытий произ
Курсовая работа по теме Экологическая документация предприятий
Реферат На Тему Сравнительный Анализ Демократии И Тоталитаризма
Реферат: Профилактика респираторных инфекций
Лабораторная Работа 12 7 Класс
Эссе На Тему Странности Любви
Сочинение По Теме Жанры Вокальной Инструментальной Музыки
Реферат: Организация и учет депозитных операций ОАО КБ "Уралтрансбанк". Скачать бесплатно и без регистрации
Отчет по практике по теме Характеристика предприятия ООО 'МЕТРО Кэш энд Кэрри'
Реферат по теме Система текущих библиографических пособий по гуманитарным и социальным наукам
Практическое задание по теме Определение моментов инерции тел методом крутильных колебаний
Реферат По Истории На Тему Александр Македонский
Курсовая работа по теме Изготовление деталей листовой штамповкой
Доклад: Влияние первичного вскрытия на производительность скважин после гидроразрыва пласта
Доклад: Пространство в осмыслении литературоведов и философов
Курсовая работа: Семантика и функционирование предлога of в английском языке
Вино Эссе Сатера
Реферат: Состояние и основные пути улучшения использования трудовых ресурсов на примере АО Прогресс Сарат
Реферат по теме Экзамен
Эссе На Тему Каким Я Буду Учителем
Реферат На Тему Дроби
Курсовая работа по теме Принципы бюджетного федерализма
Реферат: Динамика развития человечества. Скачать бесплатно и без регистрации
Историческое Сочинение Период 1132 1236
Сочинение На Тему Сложный Характер
Эссе Про Казахстанское Кино
Публичная Власть Эссе
Контрольная работа по теме Особливості реалізації цілей економічної статистки в Україні
История Развития Телефона Реферат
Как Прошел Базаров Испытание Любовью Сочинение
Дипломная работа: Проблемы экономического роста в России
Реферат по теме Концепції логістики
Дипломная работа по теме Традиционные и инновационные подходы в развитии системы управления сферой культуры
Реферат по теме Школьная неуспеваемость
Реферат: Геккер, Анатолий Ильич
Сочинение Рассуждение На Тему Нужны Ли Жаргонизмы
Реферат по теме Международные организации, их классификация и правовой статус
Доклад по теме Остров Рождества
Дипломная Работа Новорожденные
Реферат по теме Юридична відповідальність в сфері валютного регулювання
Как Разбирается Садовая Соковыжималка Эсс 304
Сочинение по теме Эрнст Теодор Амадей Гофман. Крошка Цахес по прозванию Циннобер
Курсовая Работа Взаимодействие Доу И Семьи
Реферат: Tupac Shakur Essay Research Paper Tupac Shakur
Контрольная работа по теме Территориальное общественное самоуправление
Историческое Сочинение Лжедмитрий 1
Реферат Методы Рационализации Труда Менеджера По Управлению
Курсовая работа: Функции управления социальными процессами на предприятиях в России
Написать Сочинение 8 Каково Значение Сна Святослава
Реферат: Правовое обеспечение. Скачать бесплатно и без регистрации
Заполнение Дневника По Практике Бухгалтера
Реферат Утренняя
Контрольные Работы В Начальной Школе По Фгос
Контрольная работа: Представительство в арбитражном процессе: понятие и виды
Сочинение Рассуждение По Рассказу Старуха Изергиль
Реферат по теме Розвиток апокрифічної літератури та її вплив на народний світогляд і українську народну словесність
Реферат: Фристайл. Скачать бесплатно и без регистрации
Дипломная работа: Продвижение потребительских товаров на рынок. Скачать бесплатно и без регистрации
Курсовая работа: Эстетическое воспитание детей в процессе занятий физической культурой
Реферат: Информационно-аналитическая справка на фирму "Boeing". Скачать бесплатно и без регистрации
Курсовая Работа На Тему Личностно-Ориентированный Подход В Обучении Иностранному Языку
Курсовая работа по теме Проектирование локальной сети организации
Курсовая работа по теме Организация строительства автомобильных дорог
Контрольная работа: Принципы экологической безопасности
Реферат: Asian Crisis Essay Research Paper Asian Crisis
Реферат: Избирательный процесс и избирательные технологии. Скачать бесплатно и без регистрации
Реферат: Строительный кирпич. Скачать бесплатно и без регистрации
Курсовая Работа На Тему Правовые Основы Оказания Платных Медицинских Услуг
Реферат На Тему Современные Религии
Реферат Строительство И Архитектура Древних Государств Междуречья
Дипломная работа по теме Влияние сегмента аудитории и формата ТВ на размещение рекламы (на примере канала ТНТ)
Отчет по практике по теме Месторождения полезных ископаемых Южного Урала
Реферат: Неоклассическая модель общего экономического равновесия. Применение в России
Контрольная Работа Силы 7 Класс Ответы
Семья Моего Друга Сочинение На Английском
Реферат: Проблемы взаимодействия следователя и органа дознания
Сочинение по теме Наполеон и Кутузов в романе Л.Н. Толстого "Война и мир"
Курсовая Работа Инфляция И Антиинфляционное Регулирование
Контрольная работа по теме Количественные методы в экономике и управлении
Шпаргалки: Эндокринология
Худписанди Далели Нодонист Иншо Эссе
Реферат На Тему Бойня У Понырей
Курсовая Работа По Психологии Игра
Реферат: Музичне виховання в дитячому садку
Резервные Дни Для Итогового Сочинения
Эссе На Тему Чацкий Победитель Или Побежденный
Контрольная работа по теме Документооборот: понятие, способы совершенствования
Реферат: Методические рекомендации по разработке требований к проведению школьного и муниципального этапов всероссийской олимпиады школьников по истории 1 в 2022/2022 учебном году
Контрольная работа по теме Секреты школьного успеха
Доклад по теме Оценка слабых сторон в проведении денежно-кредитной политики Республики Беларусь
Реферат: Хранение документов и процедура их изъятия
Обучение курсантов учебных заведений МВД России защите от холодного оружия
Нужно Ли Нумеровать Список Литературы В Реферате
Реферат На Тему Будущее Которого Мы Хотим
Курсовая Работа На Тему Холдинговые Структуры В Рф
Реферат: Античная колыбель европейской культуры
Уровень жизни. Литература, общественная мысль советской эпохи 1950-1980-х гг
Дипломная работа по теме Проблемы молодой семьи: ролевая адекватность и рассогласованность семейных ценностей
Заказ Курсовой Работы Онлайн
Реферат по теме Основные виды терроризма. Роль и место в предупреждении и пресечении террористических актов
Курсовая работа по теме Техническое обслуживание и ремонт тормозной системы КАМАЗ 5320








































































