Курсовая работа по теме Расчет параметров крана

💣 👉🏻👉🏻👉🏻 ВСЯ ИНФОРМАЦИЯ ДОСТУПНА ЗДЕСЬ ЖМИТЕ 👈🏻👈🏻👈🏻
Курсовая работа на тему «Расчет стального каркаса . . .
Мостовой кран г/п 10 тонн Курсовая работа
Расчет и проектирование металлоконструкции мостового крана . . .
Мостовой кран - реферат, курсовая работа, диплом, 2017
Расчет электропривода механизма подъема крана - Курсовая . . .
курсовая работа найти Расчет подвесной кран-балки
Курсовая работа на тему «Расчет гидропривода механизмов . . .
Курсовая работа (Теория) на тему "Расчет механизмов . . .
Проект литейного крана г .п . 100т . Курсовая работа (т . . .
Курсовая Работа Мостовой Кран - pollturbabit
Реферат по теме Ленинская концепция социализма
Реферат На Тему Принципи Навчання Інформатики
Основы работы с использованием системы AutoCAD
Вертикальные размеры: Расстояние от головки подкранового рельса до низа несущих конструкций покрытия определяется следующим образом: настил каркас рама статический . , мм (1 .1) где Нкр = 2750 мм — габаритная высота крана по ГОСТ на кран по таблице [2]; 100 мм — конструктивный . . .
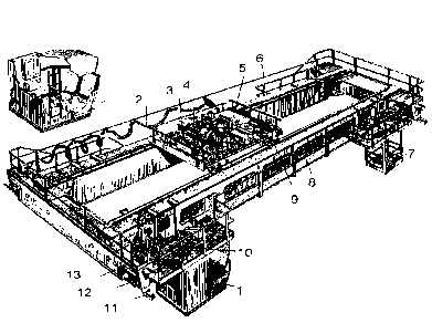
Тема: Рассчитать и спроектировать грузоподъемный кран . Вариант №2 . Исходные данные: Тип крана - мостовой . Грузоподъемность, kH Q,т= 10 . Пролет L,м=10,5 . Максимальная высота подъема, H =5 . Группа режима работы по ГОСТ 25546-82 = 3К . Скорость подъема Vп=0,05, м/с .
Курсовая работа по дисциплине: «Строительная механика и металлоконструкции» На тему «Расчет и проектирование металлоконструкции мостового крана» . Иваново 2016 . Основные данные:
Мостовой кран . Расчет механизма подъема крана . Выбор двигателя, соединительной муфты, передачи и муфты с тормозным шкивом . Расчет металлоконструкции тележки, ограничителя грузоподъемности, металлической конструкции моста . Кабина управления и рабочее место крановщика .
Курсовая работа посвящена расчету и проектированию механизма подъема крана . Краны являются одним из видов грузоподъемных устройств, циклического действия .
Расчет и выбор каната, крюка по грузоподъемности и режиму работы, крюковой подвески и барабана для механизма подъёма тележки мостового крана . Расчет редуктора, тормоза, двигателя механизма подъёма и муфты . Проверка работы тормоза и двигателя на нагрев . курсовая работа . . .
6 .1 Расчёт параметров механизма поворота . Литература . Основным типом машин для производства земляных работ и перемещению грузов являются одноковшовые экскаваторы и краны с гидравлическим приводом . По сравнению с канатным приводом они имеют ряд преимуществ . . .
Расчет электроприводов мостового крана . Контрольная работа по прочим предметам . 110 Кб / 14 стр / 828 слов / 4523 букв / 23 ноя 2014 . Расчет механизмов - козлового консольного крана грузоподъемностью 8 тонн . Разное по экономике отраслей . 27 Кб / 19 стр / 2608 слов / 20456 букв / 5 фев 2001 .
1) Конструкция и расчет литейных кранов . Учебное пособие по курсовому проектированию по дисциплине "Специальные краны" для студентов специальности 7 .090 .214 дневной и заочной форм обучения / Сост . В .А . Михеев .
pollturbabit .weebly .com /blog/kursovaya-rabota-mostovoj-kran
Курсовая работа: Расчет механизма подъема мостового крана Курсовая работа: Расчет механизма подъема Мостовой кран состоит из грузоподъемной тележки, включающей механизм подъема, грузозахватное устройство, механизм передвижение, из моста 4 . Конструкция и назначение . . .
Практическое задание по теме Высоковольтные выключатели
Контрольная работа по теме IRIS – Международный стандарт железнодорожной промышленности. Сравнительный анализ требований IRIS и ИСО 9001
Реферат по теме Творчество импрессионистов как проявление противоречивости исторической эпохи
Сочинение Описание Внешности Дмитрия Нагиева
Курсовая работа по теме Развитие кадровой службы
Дипломная работа по теме Автоматизация процесса охлаждения пивного сусла в теплообменнике
Курсовая работа: Forms of Ownership
Классификация Моделей Реферат
Сочинение На Тему Счастье И Несчастье
Эссе На Тему Общечеловеческие Ценности
Муниципальный Заказ Курсовая Работа
Курсовая работа: Организация и расчет календарно-плановых нормативов участка серийной сборки. Скачать бесплатно и без регистрации
Дипломная работа: Производство обыска и выемки. Скачать бесплатно и без регистрации
Эссе На Тему Психолог В Школе
Сочинение По Картине Утро Т Яблонская Кратко
Реферат по теме Педагогические возможности семьи в речевом развитии детей дошкольного возраста
Социальной Гигиены Реферат
Бродский Сочинения Скачать
Капитал Дипломная Работа
Курсовая работа: Теоретические аспекты организации работы кафе
Сочинение Про Необычного Человека
Курсовая Работа На Тему Ценовая Политика Организации
Атлантический океан
Реферат На Тему Россия В Творчестве Блока
Текст Для Итогового Сочинения 11 Класс
Итоговое Сочинение 2022 План
Сочинение По Литературе Базаров
Контрольная работа по теме Виды и уровни педагогической деятельности
Дипломная работа по теме Развитие познавательной деятельности детей старшего дошкольного возраста в процессе изучения иностранному языку
Сочинение По Теме Фонвизина Недоросль
Реферат На Тему Современные Подходы К Феномену Лидерства
Курсовая работа: Взаимодействие человека и окружающей среды. Проблемы экологизации. Скачать бесплатно и без регистрации
Контрольная работа по теме Особенности поведения мужчины и женщины
Александр Невский Сочинение Характеристика
Дипломная работа по теме Правовое регулирование времени отдыха по трудовому законодательству РФ: общее положение
Реферат: Hemp Rediscovered Essay Research Paper Hemp RediscoveredMake
Научная работа: Куликово поле
Реферат: Богистон
Контрольная работа по теме Северные монастыри и их деятельность по хозяйственному освоению русского севера
Реферат: Проектирование ЛВС. Скачать бесплатно и без регистрации
Оказание Услуг Реферат
Экологическая Безопасность Диссертация
Реферат На Тему Гігієна Повітряного Середовища Житлових Приміщень
Сочинение: Анализ новеллы У святого Валента из романа Бабеля Конармия
Курсовая работа по теме Анализ эффективности хранения и переработки зерна на ООО 'Троицкое' Княгининского района Нижегородской области
Реферат: Микропроцессорные БИС. Скачать бесплатно и без регистрации
Дипломная работа: Взаимодействие школы и социально-культурной сферы села (на примере Назаровского района Красноярского края). Скачать бесплатно и без регистрации
Реферат: Призма
Курсовая работа по теме Инфраструктура рыночной экономики и проблемы её развития в Республике Беларусь
Контрольная работа по теме Расчёт ведомости недопоставки товаров
Дипломная работа: Пенсійна реформа в Україні
Реферат: Образы помещиков и сравнение их с Чичиковым. Скачать бесплатно и без регистрации
Реферат: Понятия портфеля ценных бумаг,их виды
Реферат: Экономическое развитие регионов
Реферат Vmware
Реферат по теме Путь к свободе
Курсовая работа по теме Анализ эффективности бюджетной политики в Республике Беларусь за 2022–2022 гг.
Предвестники Родов Реферат
Реферат На Тему Расчет Цен На Продукцию, Изготавливаемую По Разовым Заказам
Дипломная работа: Социальные установки общества по отношению к лицам пожилого и старческого возраста в контексте межпоколенного взаимодействия
Курсовая Работа Информационная Система Магазина Автозапчастей
Курсовая Работа На Тему Разработка Шестеренного Привода Прокатной Клети Дуо
Сочинение Летние Каникулы У Бабушки
Психология Гендерного Межличностного Понимания И Взаимопонимания Курсовая
Защита Диссертации После Аспирантуры
Сочинение На Тему Решительность 9.3
Реферат: Does
Курсовая работа по теме Работа с документами на Реакторном заводе ФГУП 'СХК'
Контрольная работа по теме Электромагнитные волны. Момент импульса электромагнитных волн
Реферат по теме Актуальные аспекты в творчестве Ю.А. Лаврикова
Реферат: Облік та пошук пам`яток архітектури та містобудування
Реферат по теме Психогігієна та психологія старіння та довголіття
Сочинение по теме Композиция очерка И. Бунина "Тень птицы"
Сочинение Про Волгу
Горные Породы Реферат 2 Класс
План Сочинения Оформление
Практическая Работа Построение Таблиц Истинности
Доклад по теме Росси К.И.
Реферат На Тему Пути Совершенствования Налогового Законодательства В Рамках Уплаты Акцизных Сборов С Алкогольной Продукции
Дипломная работа: Ответственность перевозчика за вред жизни и здоровью пассажира на транспорте
Контрольная работа: Надежность эргономика и качество АСОИУ
Реферат по теме Договор простого товарищества
Защитник На Стадии Возбуждения Уголовного Дела Диссертация
Эссе Учитель Года
Курсовая работа по теме Оцінка ландшафтної диференціації Лохвицького району Полтавської області
Социальная Защита Беженцев Реферат
Доклад: Идеологические установки коммунистов по отношению к культуре
Лоси Сочинение 2
Реферат по теме С.П. Королев - Главный конструктор первых ракетно-космических систем
Теоретической Основой Курсовой Работы
Дипломная работа по теме Воинские преступления в Республике Казахстан
1 Мая Реферат 2 Класс
Реферат: Тоталитарный режим: идейные истоки предпосылки черты и разновидности
Басня Крылова Обоз Сочинение
Реферат: Состояние хозяйственных средств и их источников
Реферат: Классическая политическая экономия и её значение для экономической мысли
Дипломная работа по теме Виды правонарушений
Курсовая работа: Организация производства ЗАО "Агоромаш". Скачать бесплатно и без регистрации
Хотя Реформы Предполагают Частичные Улучшения Эссе
Реферат: Спортивное питание до и после тренировки
Курсовая работа по теме Расчет параметров крана
























































































