Курсовая работа по теме Проектирование пролета в виде арки из балок

🛑 👉🏻👉🏻👉🏻 ИНФОРМАЦИЯ ДОСТУПНА ЗДЕСЬ ЖМИТЕ 👈🏻👈🏻👈🏻
Курсовая работа: Проектирование пролета в виде арки из . . .
Реферат: Проектирование пролета в виде арки из балок . . .
курсовая работа Стрельчатая арка "Склад"
Стрельчатая арка "Склад"
Проектирование промышленного здания - реферат, курсовая . . .
Рефераты Строительство-2
Расчет деревянной трехшарнирной арки
Реферат: Особенности проектирования строительных . . .
Расчет деревянной трехшарнирной арки . Курсовая работа (т . . .
Расчет балочной клетки . Курсовая работа (т) . Строительство . . .
Курсовая работа по теме Проблемы нецелевого использования пособий и пути их решения
Курсовая работа по теме Особенности проведения ритмической гимнастики с детьми среднего дошкольного возраста
Курсовая работа по теме Исследование системы мотивации персонала в салонах сотовой связи
Расчет клеефанерной панели рамы с ригелем в виде арки треугольного очертания с затяжкой . Определение параметров трехшарнирной арки, ее статический расчет и …
xreferat .com /88/808-1-proektirovanie-proleta-v-vide-arki-iz-balok .html
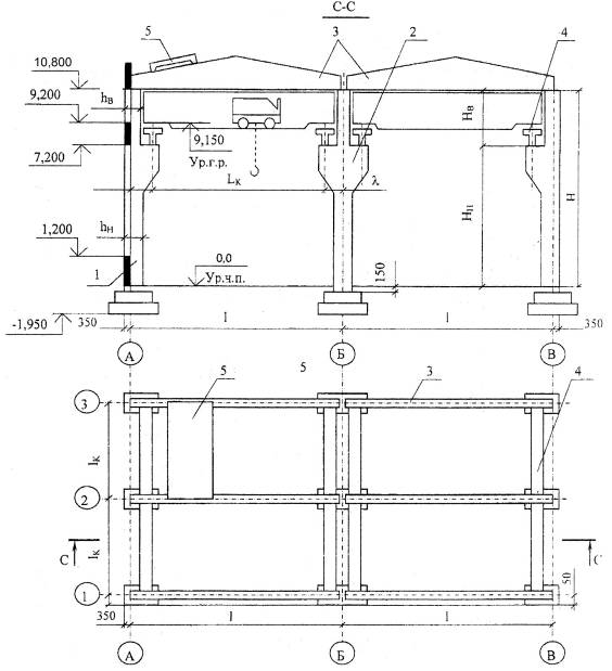
Рама с ригелем в виде арки треугольного очертания с затяжкой (арка из балок, Деревягина) . Пролет . Характер теплового режима: отапливаемое здание . Район …
Напряжение в ребре каркаса и обшивках . Сбор нагрузок на несущие элементы арки . Расчет по прочности сжато-изгибаемой полуарки . Расчет узлов арки . курсовая …
Курсовая работа . по предмету: Конструкции из дерева и пластмасс . на тему: Стрельчатая арка «Склад» Пермь 2014 г . 1 . Задание на проектирование . Рис . 1 - …
Проектирование пролета в виде арки из балок . 3 .10 .2010/ курсовая работа . Расчет клеефанерной панели рамы с ригелем в виде арки треугольного …
116598 Проектирование пролета в виде арки из балок - курсовая работа 116599 Проектирование пролета конструкции перрона - курсовая работа
Напряжение в ребре каркаса и обшивках . Сбор нагрузок на несущие элементы арки . Расчет по прочности сжато-изгибаемой полуарки . Расчет узлов арки . курсовая …
xreferat .com /88/576-1-osobennosti-proektirovaniya-stroitel-nyh-konstrukciiy-grazhdanskih-zdaniiy .html
Проектирование пролета в виде арки из балок . Расчет клеефанерной панели рамы с ригелем в виде арки треугольного очертания с затяжкой .
Все курсовые работы по строительству Скачать курсовую работу Читать текст online Заказать курсовую *Помощь в написании!
Стык делаем в середине пролета балки, где m = 5188,5 кН*м и q = 0 Стык осуществляем высокопрочными болтами d = 27 мм . из стали 40х "селект" имеющий Rb un …
Реферат На Тему Зарождение России
Дипломная Работа На Тему Проблема Административной Ответственности Юридических Лиц
Реферат по теме Вымершие животные
Реферат по теме География Татарстана
Контрольная работа по теме Релігія як предмет філософського дослідження. Основи теології
Учебное пособие: Методические указания по выполнению контрольной работы для студентов-заочников по дисциплине «Экономика отрасли» специальности 230105 «Программное обеспечение вычислительной техники и автоматизированных систем»
Билеты: Развитие государственных внебюджетных фондов в России в современных условиях
Примеры Эссе По Обществознанию Критерии
Реферат по теме Архитектурные памятники Беларуси: Минск
Сочинение 5 Класса На Тему Герасим
Реферат по теме Понятие и особенности административно-правовых отношений
Юридические Лица Диссертация
Реферат На Тему Грибы 7 Класс
Миллион Терзаний Чацкого Сочинение 9 Класс
Курсовая работа по теме Расчет пространственной сейсмоустойчивой конструкции здания
Дипломная работа по теме Эстетическое воспитание школьников с нарушением интеллекта
Сочинение Слепая Любовь Простаковой
Сочинение По Картине Толстой Букет
Курсовая Работа Информационная Система Сбербанка
Реферат по теме Информационное общество
Курсовая работа: Правові аспекти ринку земель в Україні
Танец Чарльстон Реферат
Реферат: Комедии Плавта. Скачать бесплатно и без регистрации
Модели Построения Судебной Системы Эссе
Реферат по теме Роль эмоций в организации поведения , студентка)
Сочинение Про Любимую Игру 2 Класс
Реферат Педагогика Физической Культуры И Спорта
Учебное пособие: Методические указания по курсовому проектированию саратов 2022
Спасение Земли Эссе
Контрольная Работа На Тему Системная Концепция Обеспечения Безопасности Объектов
Реферат Жизнь На Земле
Курсовая Работа Теория И Практика
Курсовая работа: Основные этапы формирования современных взглядов на устойчивое развитие
Реферат: Агресивна поведінка тварин
Реферат: Охрана труда (Украина)
Реферат: Характеристика налогового планирования в учреждениях
Сочинение Чему Учит Недоросль
Реферат: Проблемы развития предпринимательства в Казахстане
Контрольная работа по теме Разработка сборочного узла в системе Pro Engineer
Контрольная Работа Решение Уравнений
Годовая Контрольная Работа 9 Класс Биология
Сочинение Рассуждение На Тему Деепричастие Устраняет Однообразие
Расчет Курсового Угла
Примеры Эссе По Истории Вош
Осенняя Гроза Сочинение
Доклад по теме Музей-заповедник "Гатчина"
Реферат: Расчет себестоимости алюминия-сырца
Курсовая работа по теме Криминологический анализ семейно-бытовой преступности
Курсовая работа по теме Конкуренция и монополия: объективность сочетания и противоречия
Курсовая работа по теме Разработка и оценка маркетинговой программы реализации посуды на рынке г. Южноуральска
Критерии Оценивания Контрольных Работ По Математике Дорофеев
Реферат по теме Этапы производства печатной продукции
Реферат На Тему Web Сайт
Сочинить Сочинение 3 Класс
Реферат: Мировые судьи, их функциональные обязанности
Реферат: Высадка в Италии
Климат Как Природный Ресурс Реферат
Ответ на вопрос по теме Шпаргалки по философии (Томск, 2006г.)
Анализ Урока Практическая Работа
Курсовая работа: Важнейшие достижение в освоении космоса
Сочинение Рассуждение Отчество
Примеры Из Общественной Жизни Для Эссе
Дипломная Работа На Тему Учет Денежных Средств Зао "Мегамарт"
Реферат: Этапы и стратегии маркетинга. Скачать бесплатно и без регистрации
Криминалистическое Обеспечение Расследования Преступлений Диссертация
Реферат по теме Конспект лекций по курсу Защита населения
Контрольная работа по теме Расчет передачи 'винт—гайка'
Реферат по теме Трудовой потенциал Украины
Дипломная работа по теме Створення власного творчого доробку у художньо-публіцистичних жанрах
Реферат: О содержании опытно-экспериментальной работы по включению школьников в коллективные творческие проекты
Курсовая работа по теме Фауна гідробіонтів озера Сірче
Дипломная работа по теме Проблемы бизнес-планирования в малом бизнесе (на примере ООО 'Экспонента')
Курсовая работа по теме Психолого-педагогическое обоснование применения современных технических средств обучения, их классификация и характеристика
Образец Итоговой Аттестационной Работы
Контрольная работа по теме Зависимость поведения индивида в определенной жизненной ситуации от различных факторов
Курсовая Работа Моделирование Рисковых Ситуаций На Примере
Выступление Дипломная Работа
Дипломная работа по теме Туристичний потенціал міста Генічеськ Херсонської області
Проектирование Производственной Структуры Предприятия Курсовая
Вывод О Совести В Сочинении
Реферат: Русский рок. Скачать бесплатно и без регистрации
Курсовая работа: Художньо-естетичні принципи в новелах Сомерсета Моема
Дипломная работа по теме Развитие художественных умений младшего школьника при работе с солёным тестом
Контрольная работа: Внешняя политика славянских государств и народов XV-XVII вв.
Курсовая Работа На Тему Аморфні Метали
Реферат: Беларусь в войне 1812г
Реферат Про Витамины На Английском
Реферат Вопросы Деонтологии В Трудах Канта
Сочинение Про Зарянку 4 Класс
Сочинение О Богатыре Алеше Поповиче
Учебное пособие: Методические указания подготовлены на отделении архивоведения, документоведения и информационно-правового обеспечения управления Составители
Курсовая работа: Самостійна учбова діяльність молодших школярів
Реферат: Компьютерные технологии на примере Apple Macintosh
Сочинение Все Дальше Уходит Великая Отечественная
Реферат На Тему Свято-Успенська Києво-Печерська Лавра
Сочинение По Тексту Крапивина Огэ
Реферат: Медиация
Контрольная работа: Место муниципальных финансов в системе территориальных финансов
Решу Егэ Допускное Сочинение По Литературе
Книга: Вогник далеко в степу
Курсовая работа по теме Проектирование пролета в виде арки из балок






































































