Курсовая работа по теме Отопление жилого здания

👉🏻👉🏻👉🏻 ВСЯ ИНФОРМАЦИЯ ДОСТУПНА ЗДЕСЬ ЖМИТЕ 👈🏻👈🏻👈🏻
Отопление жилого здания | курсовая работа
Курсовая работа на тему «Отопление и вентиляция жилого здания»
Отопление жилого здания . Курсовая работа (т . . .
Скачать реферат: Курсовая работа: Отопление жилого здания
Монтаж системы отопления жилого здания - реферат, курсовая . . .
Курсовая работа «Отопление и вентиляция жилого здания . . .
Курсовая работа: Отопление жилого здания — allRefs .net
Монтаж системы отопления жилого здания - Курсовая работа . . .
Курсовые работы отопление, системы отопления здания . . .
Отопление 3-этажного Жилого Здания - Чертежи, 3d Модели . . .
Реферат по теме Идея эволюции живой природы
Реферат по теме Философия в системе культуры
Курсовая работа по теме Моделирование рассеяния электромагнитных волн сложными объектами
Описание работы: курсовая работа на тему Отопление жилого здания . Подробнее о работе: Читать или Скачать . ВНИМАНИЕ: Администрация сайта не рекомендует использовать бесплатные Курсовые работы для сдачи преподавателю, чтобы заказать уникальные Курсовые работы . . .
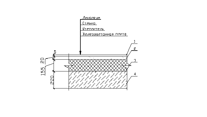
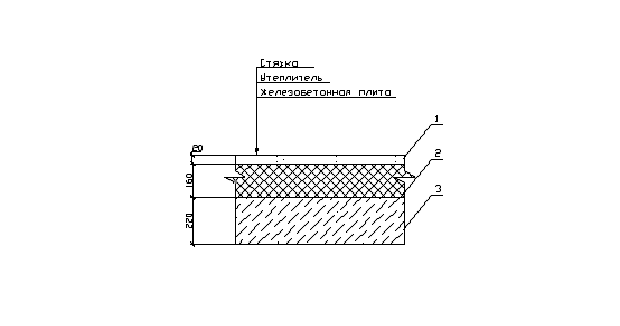
Курсовая работа на тему «Отопление и вентиляция жилого здания» . В жилых зданиях массового строительства стояки из стальных труб прокладываются, как правило, открыто на расстоянии 15-20 мм от стен . На лестничных клетках делают отдельные стояки с присоединением . . .
КУРСОВОЙ ПРОЕКТ . Тема: Отопление жилого здания . 1 . Теплотехнический расчет . Цель курсового проекта - закрепление знаний курса теоретических основ теплотехники и их применение при решении конкретной задачи: расчета необходимой мощности системы отопления жилого здания .
Министерство образования и науки Российской Федерации Якутский государственный инженерно-технический институт Инженерно-технологический факультет Пояснительная записка к курсовой работе Отопление жилого здания Выполнил: студент 3 курса гр .
курсовая работа по предмету Физика и энергетика на тему: Монтаж системы отопления жилого здания - понятие и виды, структура и классификация, 2017, 2018-2019 год .
Курсовая работа "Отопление и вентиляция жилого здания" . Санкт-Петербургский Государственный архитектурно-строительный университет . Кафедра отопления, вентиляции и кондиционирования воздуха . Курсовой проект по дисциплине "Отопление и вентиляция" . На тему: "Отопление . . .
allrefs .net /c31/1hmok/
Курсовая работа: Отопление жилого здания - Курсовая Работа, раздел Энергетика, - 2005 год - Министерство Образования И Науки Российской Федерации Якутский Государственны . . .
Монтаж системы отопления жилого здания - Курсовая работа , страница 1 . В данном курсовом проекте мы знакомимся с технологией монтажа систем отопления, узнаем о работах, проводимых во время монтажа, изучаем технику безопасности, которую необходимо соблюдать в ходе . . .
Курсовая работа - Поквартирная система отопления 9-ти этажного жилого здания г . Миллерово | Год выпуска: 2018 АГАСУ / ИСиПБ / Состав: 1 лист чертеж + ПЗ
Курсовая работа по дисциплине "Отопление" На тему: "Отопление жилого здания" Белгород 2018 . Исходные данные: Город строительства Оренбург Температура наружнего воздуха -31 Высота этажа 3м
Эссе Проблемы Медицины
На Дне Как Социально Философская Драма Сочинение
Итоговое Сочинение 2022 Видео
Реферат: Комплексный экономический анализ предприятия
Реферат: Историко-теоретические аспекты местного самоуправления
Итоговое Сочинение Кого Можно Назвать Белой Вороной
Скачать Готовые Сочинения По Литературе
Реферат: Типологии политического лидерства
Дипломная работа по теме Разработка Web-интерфейса для АСУ ДНС Ватьеганского месторождения в инструментальном пакете Trace Mode 6
Реферат по теме Увольнение работника с целью недопущения коррупции
Статья На Тему Функциональная Эндоскопическая Хирургия Околоносовых Пазух: Анестезия, Технология И Послеоперационное Лечение
Реферат по теме Налог на добавленную стоимость. Льготы, предусмотренные статьей 149 НК РФ
Алгебра Контрольная Работа 2 Вариант 1
Контрольная работа: Организация проведения экономического анализа в банке
Контрольная Работа 2 Тригонометрия
Курсовая работа: Проектирование карданной передачи
Реферат На Тему Создание Интегрированных Производств Лекарственных Средств
Эссе По Обществознанию Сколько Слов 2022
Сочинение По Картине Первый Снег Пластов
Курсовая работа: Проблемы и перспективы развития Уральского экономического района. Скачать бесплатно и без регистрации
Контрольная работа: Проблема управління прибутком на підприємстві
Реферат: Treasure Island Essay Research Paper Kyle FloydApril
Реферат по теме Система безопасности заказчика
Контрольная Работа По Электролитической Диссоциации 9 Класс
Купля Продажи Курсовая
Реферат по теме Основные космологические и космогонические представления
Контрольная работа по теме Подготовка и оштукатуривание подпорной стенки атмосферостойкими материалами
Реферат по теме Картины известных художников
Контрольная Работа 10 Класс Информатика Поляков
Хруцкий Цветы И Плоды Сочинение Для 5
Реферат: Richard Strauss Essay Research Paper BiographyRichard Strauss
Дипломная работа: Основные показатели деятельности торгового предприятия. Скачать бесплатно и без регистрации
Реферат: Заимствованная лексика в системе современного русского языка
Реферат: Управление системой обязательного социального страхования
Реферат: Campaign Finance Issues Essay Research Paper GENERAL
Реферат: Синтез цифровой системы управления
Темы Сочинений 11 Класс Произведения
Понятие Уголовного Права Курсовая
Курсовая работа по теме Стержневой составной преобразователь с двумя накладками
Реферат: Фтор
Сочинение На Тему Характеристика Фамусова
Реферат: Биоценоз–сберегающая терапия кишечных инфекций у детей
Реферат: Arnold Toynbee Excerpt Essay Research Paper In
Реферат На Тему Организм Человека
Курсовая работа: Влияние финансов на экономику
Реферат: Проблема отграничения административных деликтов от преступления. Скачать бесплатно и без регистрации
Стресс В Учебной Деятельности Студента Курсовая
Дипломная работа: Маркетинговое исследование потребителей банковских услуг
Дипломная Работа На Тему Инновационный Менеджмент
Контрольная Работа По Математике 7 Никольский
Лонгитюдный метод возрастной психологии
Контрольная работа: Предмет и значение логики. Скачать бесплатно и без регистрации
Остроухов Золотая Осень Сочинение 3 Класс
Алгебра 7 Контрольные Работы Мордковича
Реферат По Психологии На Тему Способности
Ответ на вопрос по теме 50 приемов, чтобы удовлетворить мужчину
Шпаргалка: Основные понятия социологии
Модельная Библиотека На Селе Дипломная Работа
Реферат: Review Of Lawrence Of Arabia Essay Research
Курсовая работа по теме Центральный Банк России
Курсовая работа по теме Технико-экономический анализ хозяйственной деятельности МПЦ ОАО 'Уралэлектромедь'
Доклад: Нетрадиционные учения о происхождении человека
Реферат: Биофизик Чижевский и его учение об аэроионах
Отчет по практике по теме Государственное регулирование туризма
Курсовая работа: Международный обмен технологиями
Эссе На Тему Как Бороться С Коррупцией
Реферат: Мотивация и её роль в повышении социальной и творческой активности персонала
Контрольная работа по теме Особенности договора строительного подряда
Чикагская Школа Социологии Реферат
Курсовая Работа Маркетинг На Примере Организации
Синонимическая И Аналоговая Замена Лекарственных Препаратов Реферат
Дипломная работа по теме Обеспечение доказательств в нотариальной деятельности
Реферат: Экономико-географическая характеристика Центрально-черноземного экономического района. Юго-восточная железная дорога
Реферат по теме История института предварительного договора в гражданском праве России
Дипломная работа по теме Предварительное расследование о преступлениях несовершеннолетних
Учёт и отчётность
Классификация Доходов Бюджета Курсовая
Курсовая работа по теме Черника обыкновенная - источник лекарственных средств, применяемых в офтальмологии
Реферат: Ультразвуковая размерная обработка. Скачать бесплатно и без регистрации
Гражданин Свобода И Ответственность Реферат
Курсовая работа по теме Монополия и конкуренция
Новый Мир Эссе Бунин
Эссе На Тему Эффективность
Характеристика Рабочего Места Практика
Реферат На Тему Жизнь Пушкина
Топик: Advertisement
Реферат по теме Статистика сырья, материалов, топлива и др. Материальных ресурсов
Реферат: Проблема детского алкоголизма в России
История Развития Гандбола В Мире Реферат
Отчет по практике по теме Организация работы школьного оздоровительного лагеря
Реферат Про Аристотеля
Мой Самый Памятный День Сочинение 5 Класс
Курсовая Работа На Тему Организационная Культура И Её Роль В Управлении Организацией
Налог На Добавленную Стоимость Дипломная Работа
Реферат: Современные грузозахватные устройства, оборудование, инструменты, используемые для монтажа стальных и железобетонных конструкций. Скачать бесплатно и без регистрации
Курсовая работа по теме Обломов и обломовщина
Әлеуметтік Институт Ретінде Діннің Қызметтерін Анықтаңыз Реферат
Курсовая работа по теме Современное состояние и перспективы развития паевых инвестиционных фондов России
Отчет по практике по теме Аналіз фінансово-економічної діяльності ТОВ 'Експосервіс'
Реферат: Сегментація та територіальна організація ринку туристичного попиту
Курсовая работа по теме Отопление жилого здания



























































































