Курсовая работа по теме Формирование у младших школьников ценностного отношения к здоровью

🛑 👉🏻👉🏻👉🏻 ИНФОРМАЦИЯ ДОСТУПНА ЗДЕСЬ ЖМИТЕ 👈🏻👈🏻👈🏻
Формирование у младших школьников ценностного отношения к . . .
Курсовая работа: Формирование у младших школьников . . .
Формирование у младших школьников ценностного отношения к . . .
Формирование у младших школьников ценностного отношения к . . .
Формирование у младших школьников ценностного отношения к . . .
Формирование ценностного отношения к здоровому образу . . .
Курсовая работа по теме "Формирование у младших школьников . . .
Формирование ценностного отношения к здоровому образу . . .
Курсовая работа на тему "Формирование нравственно-волевых . . .
Диагностика уровня знаний младших школьников о ценностном . . .
Реферат по теме Кросскультурные перспектывы шматжонства і эвалюцыі чалавека
Эссе Экономические И Политические Конфликты
Дипломная работа по теме Разработка системы управления заказами на предприятии оптовой торговли
Курсовая работа (Теория) по педагогике на тему: Формирование у младших школьников ценностного отношения к здоровью
Такое «предпосылочное» знание закладывается и на страницах школьных учебников, являясь при этом одним из условий формирования у младших школьников …
Формирование у младших школьников ценностного отношения к здоровью . Формирование у младших школьников ценностного отношения к здоровью …
1 .3 Пути формирования у младших школьников ценностного отношения к здоровью . По выражению академика Н .М . Амосова «…чтобы быть здоровым, нужны …
Просмотр работы: Формирование у младших школьников ценностного отношения к здоровью
Формирование ценностного отношения к здоровому образу жизни у младших школьников в учебном процессе Понятие и виды ценностей, "ценностное отношение" .
Курсовая работа по теме "Формирование у младших школьников основ культуры здорового образа жизни" . идёт Регистрация! 24-26 августа 19:00 (МСК) …
Актуальность этой проблемы определила тему дипломной работы «Формирование ценностного отношения к здоровому образу жизни у младших школьников в учебном …
cкачать: Курсовая работа на тему "Формирование нравственно-волевых качеств у детей младшего школьного возраста во внеурочной деятельности"
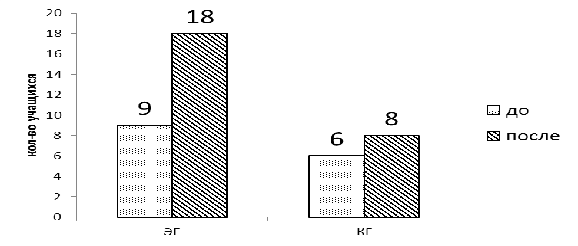
Рассмотрены теоретические основы ценностного отношения к здоровью детей младшего школьного возраста . В практической части определяется уровень знаний о …
Дипломная работа по теме Сущность и функции менеджмента
Дипломная работа по теме Учет и анализ расчетов с отчетными лицами
Реферат: Пятьдесят первый штат
Написание Итогового Сочинения
Известное Эссе
Себестоимости Диссертация
Эссе по теме Реклама в системе маркетинговых коммуникаций
Эссе На Тему Лидерские Качества
Контрольная Работа На Тему Борис Алексеевич Тураев - Корифей Русской Науки О Древнем Востоке
Сочинение На Тему Мое Путешествие В Париж
Реферат: Marx Essay Research Paper After reading through
Курсовая работа по теме Комплексний аналіз соціології праці в умовах підприємства ВАТ "Шахта Красноармійська-Західна №1"
Реферат: US Supreme Court Essay Research Paper The
Реферат: Простейшая схема одноэлектронной теории. Скачать бесплатно и без регистрации
Виленкин 6 Класс Контрольные Работы 13
Реферат по теме Методологические подходы школы науки управления и их роль в современном менеджменте
Реферат по теме Основания и последствия прекращения гражданской службы
Пример Сочинения 15.3 На Тему
Практическая Работа На Тему Разработка Технологического Процесса Механической Обработки Детали – Опора Задней Рессоры
Контрольная работа по теме Системы автоматического управления тепловых двигателей
Реферат: Роль налога на добавочную стоимость в экономике России
Реферат: Adventures On The Rapids Essay Research Paper
Курсовая Работа На Тему Рекламное Творчество От Объявлений До Фестиваля
Доклад по теме Спирты
Реферат: Impact Of Television Essay Research Paper Television
Реферат по теме Математические методы описания моделей конструкций РЭА
Дипломная работа: Нормативно-правовые основы арендных отношений
Контрольная работа по теме Анализ технологии изготовления модуля сопряжения цифрового мультиметра с компьютером
Курсовая работа: Офисная эргономика
Роль сети Интернет
Курсовая работа по теме Теория вероятностей. От Паскаля до Колмогорова
Курсовая работа по теме Становление советского государства
Реферат: Ремонт велосипедных колес
Курсовая работа: Субъективное ощущение одиночества во взаимосвязи с социометрическим статусом подростков с девиантным поведением
Курсовая работа: Православная церковь и печатное дело на белорусских землях в 1917-1941 гг.
Сочинение Про Осень На Английском Языке
Лабораторная работа: Анализ финансовой отчетности предприятия
Курсовая работа по теме Ліберальна модель розвитку Росії
Курсовая работа по теме Международная миграция капитала на всех стадиях развития
Курсовая работа по теме Характеристика видов трудовых договоров
Реферат по теме Роль и возможности электронных средств информации при осуществлении связей с общественностью
Написание Курсовых На Заказ Отзывы
Контрольная Работа На Тему Деньги И Их Функция
Курсовая Работа На Тему Аудит В Страховых Компаниях
Проблема Отчуждения Человека В Философии Реферат
Сочинение На Тему Борьба
Реферат по теме Букингемский дворец
Как Распределяются Темы На Итоговом Сочинении
Реферат: Экономическая конъюнктура России
Устройство Кшм Дипломная Работа
Реферат: Культура Турции
Реферат по теме Трудовое законодательство Украины
Реферат: Разработка технологического процесса ТР топливной аппаратуры автобуса ПАЗ-3205
Курсовая работа по теме Проектирование процессора
Курсовая работа по теме Разработка автобусного тура 'Дефиле по старому свету'
Реферат: Внешняя политика Японии 2
Дипломная Работа На Тему Приоритетные Направления Повышения Эффективности Управления Финансовыми Ресурсами В Организациях Здравоохранения
Реферат по теме Средства мирного разрешения споров
Лабораторная Работа На Тему Тестирование Компьютера Monitor Samsung 710n
Сочинение Рассуждение О Хороших Словах
Контрольная работа по теме Технологии социальной работы
Структура Сочинения Егэ По Русскому Пример
Ответ на вопрос по теме Финансовый менеджмент: сущность, формы его проявления, цели и задачи
Реферат Атомная Энергетика 9 Класс
Курсовая работа по теме Диагностика кризисных ситуаций и банкротства предприятия
Дипломная работа по теме Гомосексуальность в современном обществе
Воспитание И Образование Ребенка В Школе Диссертация
Курсовая Работа На Тему Проект Автомобильной Дороги Ильинка - Дружба
Курсовая работа: Налоговая политика и её роль в экономике
Дипломная Работа На Тему Инновационно-Инвестиционный Процесс В Переходной Экономике России
Реферат: Н.А. Бердяев и его философское мировоззрение
Сочинение Мое Представление О Будущем
Доклад по теме Структура культуры
Реферат: Деловое общение как межличностное взаимодействие
Реферат по теме Алексия
Скачать Курсовой Проект
Реферат: Особенности и характерные черты античной философии
Классификация Ламп Электрического Освещения Реферат
Реферат: Формування та ефективність використання виробничого капіталу в сільському господарстві
Сайт Декабрьское Сочинение
Отчет По Практике В Отделе Участковых
Статья: Опасности и возможности косвенной конкуренции
Сочинение На Тему Нравственный Выбор Пример
Формирование Благоприятных Условий Труда Курсовая Работа
Доклад по теме Гул Земли – 'трубный глас' Апокалипсиса?
Курсовая работа: Общие основы обучения и воспитания новичков по Тэквондо. Скачать бесплатно и без регистрации
Математика 5 Класс Никольский Административная Контрольная Работа
Реферат по теме Понятие, классификация и экспертиза рассеянных металлов
Реферат: Бенджамин Раш. Скачать бесплатно и без регистрации
Сочинение Письмо Моему Герою 5 Класс
Учебное пособие: Методические указания по выполнению лабораторных работ по дисциплине «Имитационное моделирование экономических процессов» для студентов специальности
Курсовая работа по теме Проектирование привода к пресс-валкам
Дипломная работа по теме Развитие силы у гимнастов начальной подготовки с использованием средств атлетической гимнастики без снарядов
Курсовая работа: Цифровые образовательные ресурсы, как составляющая часть электронного образовательного пространс
Общая Теория Систем Берталанфи Реферат
Реферат по теме Агроном Иван Александрович Стебут
Реферат Вред Курение
Договор строительного подряда
Реферат: Обоснование перспектив организации молока в СПК
Реферат: Маршрутизаторы Cisco в сетях X.25
Курсовая работа по теме Формирование у младших школьников ценностного отношения к здоровью











































































