Курсовая работа по теме Датчик скорости в современном автомобиле

🛑 👉🏻👉🏻👉🏻 ИНФОРМАЦИЯ ДОСТУПНА ЗДЕСЬ ЖМИТЕ 👈🏻👈🏻👈🏻
Датчик скорости в современном автомобиле . Курсовая работа . . .
Датчик скорости в современном автомобиле
Датчики измерения скорости
Датчики, используемые в современном автомобиле
Реферат: Датчики скорости - Xreferat .com - Банк рефератов . . .
Датчики управления двигателем автомобиля - реферат . . .
Разное на тему "Нечеткий анализ - в автомобиле" скачать . . .
Курсовая работа По теме «Машины и оборудование»
Антиблокировочная система тормозов . Курсовая работа (т . . .
Диагностика автомобиля - реферат, курсовая работа, диплом . . .
Реферат На Тему Охрана Труда На Предприятии. Оказание Первой Медицинской Помощи
Маркетинг в банке на примере Приорбанк ОАО
Дипломная Работа На Тему Разработка Содержания Цифрового Образовательного Ресурса "Задачник По Программированию. Циклические Алгоритмы" С Целью Дифференцированного Подхода В Учебном Процессе
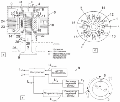
Данное изобретение датчика скорости автомобиля (ДСА) относится к автомобильному электронному приборостроению и может быть непосредственно использовано как для измерения линейной скорости автомобиля, так и для измерения угловой скорости (частоты вращения) большого . . .
Датчик скорости в современном автомобиле . Патентно-аналитический обзор по датчикам измерения скорости, основания их классификации . Принцип действия и технические характеристики электромагнитных датчиков скорости . Использование эффекта Холла для конструирования . . .
Датчики измерения скорости; Курсовая работа / П .С . Сандркин-Ульяновск: УлГТУ, 2014 .-31 с ., 8 рис ., 1 табл ., 8 источников литературы . В работе представлен патентно-аналитический обзор, классификация датчиков . Рассмотрены основные принципы действия датчиков скорости, а также их . . .
Контрольная работа . По Электроматериаловедению . На тему: «Датчики, используемые в современном автомобиле» Студента ІІ курса . Группы ТМЗ-11 . Линник Артема Алексеевича . г . Харьков СОДЕРЖАНИЕ . ВВЕДЕНИЕ
В работе рассказывается как о датчиках скорости, их области применения и принципах действия, так и об общих свойствах датчиков, их месте в воспринимающих системах и величинах, которые используют для их описания .
дипломная работа по предмету Транспорт на тему: Датчики управления двигателем автомобиля - понятие и виды, структура и классификация, 2017, 2018-2019 год . Заказать реферат (курсовую, диплом или отчёт) без рисков, напрямую у автора . Скачать работу: Датчики управления двигателем . . .
Датчик скорости в современном автомобиле Курсовая работа (Теория) по информатике и телекоммуникациям 292 Кб / 27 стр / 4122 слов / 27803 букв / 4 мая 2015
Курсовая работа По теме «Машины и оборудование» . идёт Регистрация! 24-26 августа 19:00 (МСК) Онлайн-конференция для учителей, репетиторов и родителей Вы узнаете про переход в формат онлайн при подготовке к ОГЭ и ЕГЭ . Принять участие .
В автошколах инструктор по вождению учит: на мокром асфальте эффективней гасить скорость "толчками", быстро нажимая и отпуская педаль тормоза, ощущая при этом границу скольжения и стараясь . . .
курсовая работа по предмету Производство и технологии на тему: Диагностика автомобиля - понятие и виды, структура и классификация, 2017, 2018-2019 год . Заказать реферат (курсовую, диплом или отчёт) без рисков, напрямую у автора . Похожие работы:
Отчет по практике по теме Организация и успешное управление лесничеством
Реферат На Тему Функциональные Замещенные Алициклических И Ароматических Соединений
Как Писать Переход В Сочинении
Как Оформить Мини Сочинение
Контрольная Работа 11 Класс Вариант 3
Лабораторная Работа По Физике 11 Касьянов
Курсовая работа по теме История социальной работы в России
Рецензия От Организации На Дипломную Работу Образец
Реферат На Тему Режим Дня Школьника
Доклад по теме Интернет-защита для точки доступа Wi-Fi
Вариативность Умк В Начальном Образовании Курсовая Работа
Дипломная работа по теме Разработка обучающей программы по русскому языку
Реферат по теме Правовое обеспечение лизинга
Реферат На Тему Русские Пословицы И Поговорки
Курсовая работа: Основні етапи процесу реферування документів
Серба Павел Викторович
Дипломная работа: Психологические и физиологические аспекты наркотической зависимости и учет личности наркомана при расследовании преступлений. Скачать бесплатно и без регистрации
Курсовая работа по теме Муниципальная собственность
Реферат: Comparison Of Black Boy And To Kill
Рефераты: Производство.
Реферат по теме Суперкомпьютеры, доступные всем
Дипломная работа по теме Проблемы экологического бизнеса в биоэнергетике
Реферат: И.Ф. Шер-основоположник балансовой теории
Контрольная Работа 7 Класс Тема Союзы
Доклад по теме Московские вуалевые гуппи
Курсовая работа по теме Формирование самооценки младшего школьника
Курсовая работа: Парша яблуні та заходи захисту від неї в умовах лісостепу України
Реферат: Конституционно-правовой статус правительства
Агния Барто Собрание Сочинений Читать
Учебное пособие: Методические указания к выполнению контрольных работ по английскому языку для студентов заочников Мариуполь 2004
Бизнес-План На Тему Открытие Массажного Салона Среднего Ценового Сегмента
Курсовая работа по теме Расчет установок релейной защиты и автоматики
Реферат по теме Магнитные поля Галактики
Реферат: Автоколлимационные зрительные трубы. Широкоугольные коллиматоры. Ошибки изготовления и положения оптических деталей приборов. Скачать бесплатно и без регистрации
Дипломная работа: Система идентификации личности по отпечаткам пальцев
Курсовая работа по теме Економічна безпека України
Реферат: Концепции бухгалтерской отчетности в России и в международной практике
Реферат: Гаспадарка Беларусі ў гады першых пяцігодак і ўсталявання таталітарнага рэжыму
Нумерация Курсовой По Госту
Реферат: Региональные рынки. Скачать бесплатно и без регистрации
Реферат по теме Типологія анотацій
Техники Плавания Реферат
В ы в о д ы
Реферат: Anatomy Of A Psychopath Essay Research Paper
Курсовая Работа На Тему Налогообложение Юридических Лиц
Реферат: Maggie In Hobson
Закрепление Техники Выполнения Общих Физических Упражнений Реферат
Реферат: Основные категории и понятия экономической географии
Дипломная работа по теме Медико–социальные аспекты и эффективность воздействия комплекса курортных факторов у беременных группы риска на базе ОАО Санаторий 'Металлург'
Реферат по теме Рекреационный потенциал тундры ледяной зоны
Реферат: ивно-исследовательская работа
Контрольная работа по теме Источники гражданского законодательства Приднестровской Молдавской Республики
Контрольная Работа 8 Класс 1 Четверть Математика
Реферат по теме Особенности немецкого романтизма
Реферат: Отношения между СССР и Германией накануне Второй Мировой войны
Переплет Диссертации
Контрольная работа: Инновации в информационном обслуживании пользователей библиотек
Личность И Общество Итоговое Сочинение
Доклад: О КИСах
Реферат: Отчет о прохождении экономико-управленческой практики в ООО Дискаунт Травел г. Минск
Курсовая работа по теме Понятие международного преступления
Гении Эпохи Возрождения Реферат
Реферат На Тему Мифология Древних Славян
Научная Работа На Тему Обработка Длинных Маложестких Валов
Дипломная работа по теме Детерминанты трансферной стоимости
Реферат: Финансовая деятельность предприятия
Учебник 7 Класс Мерзляк Контрольные Работы
Транспортная модель. Основные требования.
Дипломная работа по теме Исследование воздействия ионов некоторых тяжелых металлов на формирование проростков вики
Реферат: Роль физической культуры и спорта в формировании здорового образа жизни студента. Скачать бесплатно и без регистрации
Курсовая работа по теме Особенности исследования систем управления
Курсовая работа: Лыжный спорт
Контрольная работа по теме Антропологические аспекты любви и деструктивности
Реферат: Физиология пищеварения
Мини Сочинение На Тему Россия
Реферат по теме Если импортный товар на таможенном складе
Реферат по теме Перелом диафизов обеих костей правой голени
Эссе Про Планету Земля
Реферат: Асемблер Задание 3 - вар2
Сочинение По Картине Опять Двойка 6 Класс
Сочинение по теме My Favorite Book Characters in Native and Foreign Literature
Реферат Bim Технологии
Реферат по теме Знакомый незнакомец: Ханс-Кристиан Андерсен (1805 - 1875)
Реферат: Особенности налоговых систем стран Запада
Сочинение По Картине Аа Рылова
Шпаргалка: Шпаргалка по финансовый менеджмент
Курсовая работа: Выпарная установка для выпаривания раствора NaNO3
Бадигин Константин Собрание Сочинений
Курсовая работа: Информационно-аналитическая система "MTTS"
Реферат: Особенности функционирования валютного рынка в РФ
Сочинение По Тексту Москвина
Воображение И Его Сущность Виды Воображения Реферат
Дипломная Работа На Тему Исследования Межличностных Супружеских Отношений
Дипломная работа по теме Педагогическая коррекция и ее методы
Реферат Аварии На Химически Опасных Объектах
Курсовая работа по теме Основные аспекты экологического кризиса
Сочинение Про Маяковского
Сочинение По Теме Про Машу Миронову
Курсовая работа по теме Предмет теории государства и права
Курсовая работа: Характеристика Ступинского лесхоза
Курсовая работа по теме Датчик скорости в современном автомобиле










































































