Курсовая работа по теме АТП на 250 автомобилей МАЗ-533605 и 200 легковых автомобилей ВАЗ 21-15

👉🏻👉🏻👉🏻 ВСЯ ИНФОРМАЦИЯ ДОСТУПНА ЗДЕСЬ ЖМИТЕ 👈🏻👈🏻👈🏻
АТП на 250 автомобилей МАЗ-533605 и 200 легковых . . .
1 .3 Расчёт коэффициента технической готовности . АТП на 250 . . .
Проектирование АТП на 250 грузовых автомобилей - диплом по . . .
План-график проведения ТО-1 и ТО-2 подвижного состава АТП
курсовая работа ПТС таксомотрного АТП на 112 легковых . . .
Птс Таксомотрного Атп На 112 Легковых Автомобилей Марки Ford
Диплом на тему "АТП на 250 автомобилей ЗИЛ-130" скачать . . .
Организация технического обслуживания и ремонта подвижного . . .
отчет по практике найти Пассажирские перевозки
курсовая работа: Технологический проект грузового АТП на . . .
Реферат по теме Среда обитания живых организмов
Реферат по теме Роль религии в культуре
Сочинение На Тему Праздник Жизни - Молодости Годы
Расчётно-пояснительная записка к курсовому проекту на тему: АТП на 250 автомобилей МАЗ- 533605 и 200 легковых автомобилей ВАЗ 21 -15 Содержание . Введение . 1 Технологический расчёт . 1 .1 Исходные данные
АТП на 250 автомобилей МАЗ- 533605 и 200 легковых автомобилей ВАЗ 21 -15 курсовая работа 1 .3 Расчёт коэффициента технической готовности
АТП на 250 автомобилей МАЗ- 533605 и 200 легковых автомобилей ВАЗ 21 -15 . Курсовая работа (Теория) по транспорту, грузоперевозкам . 132 Кб / 41 стр / 5360 слов / 32297 букв / 4 окт 2015
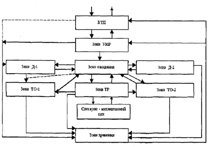
Выбор и обоснование режима работы зон и цехов . курсовая работа . . . АТП на 250 автомобилей МАЗ- 533605 и 200 легковых автомобилей ВАЗ 21 -15 .
ПТС таксомотрного АТП на 112 легковых автомобилей марки ford скачать бесплатно курсовая работа рубрика Транспорт . . . АТП на 250 автомобилей МАЗ- 533605 и 200 легковых автомобилей ВАЗ 21 -15 .
курсовая работа на тему ПТС таксомотрного АТП на 112 легковых автомобилей марки ford по предмету Автомобильный транспорт . . . АТП на 250 автомобилей МАЗ- 533605 и 200 легковых автомобилей ВАЗ 21 -15 .
АТП на 250 автомобилей МАЗ- 533605 и 200 легковых автомобилей ВАЗ 21 -15 . Курсовая работа (Теория) по транспорту, грузоперевозкам . 132 Кб / 41 стр / 5360 слов / 32297 букв / 4 окт 2015
курсовая работа . . . АТП на 250 автомобилей МАЗ- 533605 и 200 легковых автомобилей ВАЗ 21 -15 .
курсовая работа, добавлен 14 .04 .2019 . . . . АТП на 250 автомобилей МАЗ- 533605 и 200 легковых автомобилей ВАЗ 21 -15 .
www .uchit .net /catalog/Transport/187219/
Общий годовой объем работ по ЕО, ТО и ТР для автомобилей МАЗ - 5430 рассчитываем по формуле (1 .22) чел .-ч . Для автомобилей КрАЗ - 257, ГАЗ - 53А расчеты проводятся аналогичным образом .
Реферат по теме Науковий підхід і науковий результат
Курсовая работа: Аналіз споживчого кредитування в банку ВАТ "Кредитпромбанк"
Реферат по теме Накопительная часть пенсии
Экспериментальная Курсовая Работа
Реферат: Иерархия памяти, кэширование
Контрольная работа: Брендинг и маркетинговые коммуникации. Скачать бесплатно и без регистрации
Курсовая работа по теме Информационная безопасность электронной торговой площадки ООО 'Авангард технологии'
Гимнастика С Элементами Акробатики Реферат 11 Класс
Скачать Содержание Для Реферата
Эссе Иксчейндж Фото
Дипломная работа по теме Підвищення економічних показників з урахуванням сезонних коливань в умовах шахти "Добропільська"
Реферат На Тему Педагогічне Спілкування
Курсовая Работа Воспитания Младших Школьников
Дневник Производственно Профессиональной Практики
Курсовая работа по теме Социально-педагогическая деятельность с семьями, имеющими детей-инвалидов
III. Частично согласные тела.
Контрольная работа: Функции индивидуального предпочтения
Проблема Сознания В Истории Философии Реферат
Короткие Книги Для Итогового Сочинения 2022
Мое Отношение К Родному Языку Сочинение Рассуждение
Ответ на вопрос по теме Ответы на экзаменационные вопросы по Истории Государства и Права Зарубежных стран
Сочинение по теме Русский апокрифический Христос: к постановке проблемы
Золотое Кольцо России Сочинение
Реферат: Етика та наука, філософія. Етика в різних галузях, як прояв мистецтва
Демоверсия Контрольной Работы По Географии
Реферат по теме Особенности управленческого анализа в различных отраслях
В Деревне Где Я Рос Сочинение
Реферат по теме Особенности развития флоры, фауны и современный почвенно-растительный покров Азии
Реферат по теме Государственный и международный экологический контроль
Памятка По Написанию Сочинения
Курсовая работа по теме Посуда из коррозионно-стойкой стали
Реферат по теме Личность как объект философского изучения Ницше: по материалам ранних работ
Реферат: Гостиничное дело. Скачать бесплатно и без регистрации
Реферат На Тему Башкирский Национальный Костюм
Сочинение На Тему Мое Отношение К Жаргону
Психология Развития Личности Реферат
Зачем Нужно Изучать Историю Сочинение Рассуждение
Курсовая Работа На Тему Задачи И Основные Направления Деятельности Организационно-Инспекторских (Штабных) Аппаратов Органов Внутренних Дел
Сочинение: Исторические судьбы России в поэме А. С. Пушкина Медный всадник
Дипломная работа по теме Multiple Intelligences in the structure of a new English syllabus for secondary school
Доклад по теме Изучение клиентуры
Курсовая работа по теме Отклонения в поведении школьников, связанные с психическим нездоровьем
Реферат по теме Философия Булгакова
Е А Боратынский Полное Собрание Сочинений Купить
Курсовая работа по теме Загальна характеристика пароварок
Учет И Анализ Кредиторской Задолженности Курсовая
Эстетика и удобочитаемость шрифта
Доклад: Русская журналистика 1840-х годов
Доклад по теме Род Cyclamen
Реферат: The Persian Letters Essay Research Paper The
Реферат: Население Приморского Края
Основные Задачи Высшего Образования Эссе
Курсовая работа: О визуальной поэтике В. Набокова
Контрольная Работа На Тему Издержки Коммерческой Деятельности
Реферат: «Модели и методы оценки личностных характеристик исполнителей»
Сочинение Эссе Моя Будущая Профессия
Бородинское Сражение Война И Мир Сочинение
Курсовая работа: Характеристика системы учёта и контроля дебиторской задолженности
Реферат Стиль
Курсовая работа по теме Определение рыночной стоимости двухкомнатной квартиры
Дипломная работа по теме Влияние тренировочного процесса на сердечно-сосудистую систему
Дипломная Работа На Тему Методика Застосування Наочних Засобів Навчання У Шкільному Курсі Фізичної Географії
Учебное пособие: Что такое психология том 1 Годфруа Ж
Курсовая Работа На Тему Сущность И Структура Органов Местного Самоуправления
Доклад по теме Категория "имущество" в гражданском праве
Рефераты: Ботаника и сельское хоз-во
Готовая Курсовая На Тему
Курсовая работа: Принципы профессионального обучения. Скачать бесплатно и без регистрации
Контрольная Работа На Тему Гештальт-Терапия. Гештальт-Группы
Дипломная работа по теме Маркетинговый (ситуационный) анализ предприятия
Реферат по теме Формирование социально-психологических предпосылок к обучению детей 6 - 7 лет
Доклад по теме Интуиция на страже здоровья
Дипломная работа: Разработка газоразрядного экрана. Скачать бесплатно и без регистрации
Контрольная работа: Бухгалтерский учет в кредитных организациях: учет операций с государственными краткосрочными ценными бумагами
Реферат: Каменны век на Беларусі
Угрозы Экономической Безопасности Предприятия Курсовая
Реферат по теме Социально экономические и организационные формы предприятий и их особенности
Примеры Сочинений Дубровский 6 Класс
Реферат по теме Внутренняя политика Турции
Курс Лекций На Тему Податковий Облік І Звітність
Курсовая Работа На Тему Технико-Экономические Показатели Хозяйственной Деятельности Предприятия Зао "Новая Столица"
Курсовая работа по теме Проектирование трехэтажного здания судоремонтного завода с кирпичными несущими стенами
Дипломная Работа По Теме Театральный Фестиваль
Реферат: Культурологическая концепция преподавания русского языка
Курсовая работа по теме Разработка приложения для предметной области 'Сбор сведений о писателях и их литературных произведениях'
Реферат: Технология инкубации
Найти Сочинение По Теме Дубровский
Контрольная Работа По Теме Многогранники Атанасян
Курсовая Работа На Тему Разработка Управленческих Решений В Организации
Реферат На Тему Россия В Первой Мировой Войне
Реферат по теме Государственные законы и положения, регламентирующие качество лекарственных средств
Реферат по теме Общая характеристика правовых систем современности
Реферат по теме Антропогенний фактор та його вплив на організм людини
Реферат по теме Инфляция как социально-экономическое явление и методы ее регулирования
L Oiseau Bleu 5 Полугодовые Контрольные Работы
Ответ на вопрос по теме Лекции по экономике
Реферат: Оренда майна державних підприємств в Україні
Реферат На Тему Водонапірні Башти Та Баки
Курсовая работа по теме История развития отечественной муниципальной службы
Дипломная работа по теме Ліричний герой в поезії В. Стуса
Курсовая работа по теме АТП на 250 автомобилей МАЗ-533605 и 200 легковых автомобилей ВАЗ 21-15






























































































