Курсовая работа: Расчет циклона

👉🏻👉🏻👉🏻 ВСЯ ИНФОРМАЦИЯ ДОСТУПНА ЗДЕСЬ ЖМИТЕ 👈🏻👈🏻👈🏻
Расчет циклона - Курсовая работа
Курсовая работа: Расчет циклона - BestReferat .ru
Курсовая работа: Расчет батарейного циклона - BestReferat .ru
Расчет батарейного циклона - Курсовая работа
курсовая работа Расчет циклона и подбор оборудования в . . .
Расчет и проектирование циклона
Расчет циклона для очистки воздуха
Очистка воздуха с помощью циклона - курсовая работа . . .
Расчет циклона и подбор оборудования в производстве . . .
Расчёт сушилки с псевдоожиженным слоем . Курсовая работа (т . . .
Реферат по теме Анаболики
Реферат На Тему Проблемы Самопознания И Культурной Идентичности В Русской Философии 30–40-Х Годов Xix Века (Чаадаев И Гоголь)
Реферат по теме Інтерактивні технології навчання української мови
КУРСОВАЯ РАБОТА . на тему « Расчет циклона» по дисциплине «Процессы пылегазоулавливания» Выполнил: ст . гр . ДЭК - 31 . Медникова В . Д . Проверил: Лисьев В . Н . Харьков …
КУРСОВАЯ РАБОТА . на тему « Расчет циклона» по дисциплине«Процессы пылегазоулавливания» Выполнил: ст . гр . ДЭК - 31 . Медникова В . Д . Проверил: Лисьев В . Н . Харьков …
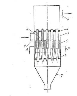
Факультет: Специальность: экология Дисциплина: прикладная экология Курсовая работа На тему: «Расчет батарейного циклона» Вариант 8 Задание В батарейном циклоне …
В данной курсовой работе произведен расчет батарейного циклона . В результате этого были получены следующие данные: число мультициклонов получилось равным 32 .
курсовая работа Расчет циклона и подбор оборудования в производстве хлорида калия
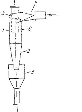
В курсовом проекте приводится краткий литературный обзор основных циклонов, применяемых в промышленности для очистки газовых смесей от твердых загрязняющих частиц и …
курсовая работа [71,9 k], добавлен 25 .10 .2009 Методика определения элемента циклона Расчет элемента циклона при заданном объёмном расходе дымовых газов …
206 Кб / 5 стр / 382 слов / 2276 букв / 22 ноя 2013 . Расчет и проектирование циклона от зерновой пыли . Курсовая работа (Теория) по прочим предметам . 684 Кб / 2 …
курсовая работа "Расчет циклона и подбор оборудования в производстве хлорида калия" скачать
.3 .2 Расчет шлюзового загрузителя 4 .4 Расчет системы пылеочистки 4 .4 .1 Расчет циклона .4 .2 Расчет рукавного фильтра 4 .5 Толщина стенки обечайки 4 .6 Расчет …
Реферат по теме Оценка готовности детей дошкольного возраста к обучению в школе
Особенности Ухода За Тяжелобольными И Агонирующими Реферат
Контрольная Работа По Английскому Тест 6
Курсовая работа по теме Мировая урбанизация
Древние пресмыкающиеся: динозавры
Реферат по теме Экономика Вологодской области
Курсовая работа по теме Профессиональные требования к личности консультанта
Реферат: Стратегия развития компании Казахстанская сотовая связь GSM
Отчет по практике по теме Организация лечебно-диагностической работы Главного клинического госпиталя МВД России
Реферат: Формирование предметно-пространственной среды и интерьера гостиниц
Практическое задание по теме Решение задач линейного программирования
Реферат по теме Добыча и утилизация свалочного газа
Сочинение Моя Будущая Профессия Сварщик
Курсовая работа по теме Современные тенденции развития системы расчетов с использованием банковских пластиковых карточек и электронных денег в республике Беларусь
Реферат: Лингвистическое наследие Е. Д. Поливанова. Скачать бесплатно и без регистрации
Учебное пособие: Методические указания по самостоятельному изучению дисциплины «Торгово-экономические отношения России в современных условиях» для студентов заочной формы обучения специальности 080115 «Таможенное дело»
Расследование Должностных Преступлений Диссертация
Реферат: Организация системы управления рисками на предприятии
Реферат: Правила использования мерчандайзинга в аптечных организациях
Алгебра 7 Контрольная Работа Многочлены
Дипломная работа по теме Казахстано-российские отношения в постсоветский период
Реферат: Негативные факторы в системе "человек - среда обитания"
Курсовая работа по теме Спадковий договір
Темы Курсовых Работ По Современному Русскому Языку
Смысл Жизни Вывод Сочинение Егэ
Эссе На Тему Человек Общество Природа
Сочинение: Жюль Верн - автор «Необыкновенных Путешествий»
Реферат: Режим питания спортсмена
Курсовая работа по теме Особенности понятия экологической культуры детей
Контрольная Работа По Финансовому Праву
Курсовая Работа Договор Купли Продажи Предприятия
Реферат На Тему Особенности Расчета Амортизационных Отчислений, Учета Прибылей И Убытков
Реферат: по введению в авиаионно-космическую технику на тему студента группы 03-109 Овчинников Денис
Дипломная работа по теме Разработка производственной программы цеха машиностроительного предприятия
Курсовая работа по теме Проектирование линии производства пшеничного подового хлеба с разработкой мукопросеивателя производительностью до 150 кг/ч
Курсовая Работа По Авторскому Праву
Сочинение Описание План 8 Класс
Реферат по теме Лечение половых расстройств
Курсовая работа по теме Организация исследовательской деятельности учащихся на уроках литературы (тема любви в повести И.С. Тургенева "Ася")
Отчет По Практике Экономика Организаций
Реферат по теме Благородные металлы
Современная система бизнеса
Курсовая работа: Рассмотрение дел об административных правонарушениях
Знание Сила Фрэнсис Бэкон Эссе
Реферат По Физкультуре 5 Класс Темы
Реферат: Билеты по философии для аспирантов и соискателей
Реферат: Вызовы российской политике в контексте глобальной демографической революции
Курсовая работа по теме Институт делегированного законодательства в зарубежных странах
Курсовая работа: Особенности ухода подготовки пациента к различным видам операций
Оригинальность Курсовой Работы Проверить Бесплатно
Оспаривание Стоимости Реферат
Способы Толкования Юридических Норм Права Курсовая
Реферат: Людвиг ван Бетховен (Beethoven)
Дипломная работа по теме Использование библейских сюжетов в проектной деятельности учащихся старших классов средней школы (на примере немецкого языка)
Итоговое Сочинение По Пьесе На Дне
Реферат: Свадебный обряд
Реферат: Пилар, герцогиня Бадахосская
Реферат: Этические вопросы психологии. Скачать бесплатно и без регистрации
Реферат: Уверенность в себе как фактор взаимодействия
Реферат: Стронгилоидоз. Скачать бесплатно и без регистрации
Контрольная работа: Контрольная работа по Социально-экономической статистике
Аудио К Контрольной Работе 4 Класс Вербицкая
Реферат по теме Поэзия 'Серебряного века'. Основные течения и взгляды на них
Курсовая работа по теме Управление заемным капиталом в ОАО 'Саханефтегазсбыт'
Реферат по теме Международный фондовый рынок
Дипломная работа по теме Возможности дидактических поисковых моделей в обучении биологии в школе (на примере раздела иммунология)
Доклад: Антропов А.П.
Реферат: Техника КЗП
Педагогическая Система М Монтессори Реферат
Курсовая работа по теме Косвенное налогообложение в Российской Федерации
Реферат Про Александра Невского
Реферат: Водные ресурсы Земли
Контрольная Работа На Тему Социальная Политика В Отношении Иждивенчества
Реферат: Didn
Реферат: Производство по делам с участием иностранных лиц в хозяйственном суде Республики Беларусь
Реферат по теме Китай в мировых процессах
Эффективность Курсовой Работы
Реферат: Князь Олег
Реферат: Jackson As A President Yesterday And Today
Реферат по теме Cоциально психологические факторы, влияющие на работоспсобность
Реферат: Проблемы загрязнения Мирового океана. Скачать бесплатно и без регистрации
Реферат: Правовое регулирование и механизмы противодействия терроризму в Германии. Скачать бесплатно и без регистрации
Сочинение Про Событие Летом
Дипломная работа по теме Особенности системы оплаты труда работников бюджетной сферы
Ценности Мәңгілік Ел Эссе
История Возникновения Денег Реферат По Экономике
Реферат: Геолого-технологические методы иследования скважин
Курсовая работа по теме Расчет стальной поперечной рамы сквозного сечения
Курсовая работа по теме Анализ финансово-хозяйственной деятельности ОАО 'Пятёрочка'
Реферат: Лекции по экономике предприятия
Контрольная Работа На Тему Загальнодержавні Класифікатори Економічної Інформації
Эпиграфы К Сочинению По Повести Пушкина Дубровский
Билеты: Мировая экономика структура и основные субъекты 3
Реферат по теме Иррационалистическая философия Шопенгауэра и Ницше
Дипломная работа по теме Система ипотечного кредитования в Казахстане
Пособие по теме Амбулаторное ведение больных с хроническим гепатитом
Урок Математики 4 Класс Контрольная Работа
Реферат по теме Визуализация внутренних органов (интроскопия)
Реферат: Сравнительная характеристика финансового кризиса 2009 г. с Великой депрессией 1929-1932 гг.
Учебное пособие: Методические указания для дипломного проектирования для специальности 060800 «Экономика и управление на предприятии (по отраслям)» 060801 «Экономика и управление на предприятии апк»
Курсовая работа: Расчет циклона


























.jpg)
























































