Курсовая работа: Программная реализация криптографического алгоритма шифрования с использованием открытого текста

🛑 👉🏻👉🏻👉🏻 ИНФОРМАЦИЯ ДОСТУПНА ЗДЕСЬ ЖМИТЕ 👈🏻👈🏻👈🏻
Программная реализация криптографического алгоритма . . .
Курсовая работа: Программная реализация криптографического . . .
курсовая работа Реализация криптографического алгоритма . . .
Программная реализация криптографического алгоритма . . .
курсовая работа Исследование и программная реализация . . .
Курсовая работа: Программная реализация алгоритма . . .
Программная Реализация Алгоритма Шифрования Idea . Курсовая . . .
курсовая работа найти Реализация Программы шифрования и . . .
Курсовая работа: Классификация криптографических методов . . .
Курсовая работа "Программная реализация СКЗИ на основе . . .
Классификация и область применения опалубок. Технология опалубочных работ
Контрольная работа: Мировая валютная система
Реферат по теме Экономическая сущность и особенности финансирования бюджетных организаций в области здравоохранения
В настоящее время широкое распространение получили персональные компьютеры Они, без преувеличения, вошли во все сферы человеческой деятельности Это максимально облегчило человеческий труд Сейчас трудно . . .
Курсовая работа: Программная реализация криптографического алгоритма шифрования с . . .
Особенности работы в среде . Программная реализация . Описание алгоритма и структуры программы . Описание программных средств . Текст программы . курсовая работа [1,0 m], добавлен 27 .11 .2007
Программная реализация криптографического алгоритма шифрования с использованием . . .
Решения задачи шифрования текста и кодирования данных . Тестирование полученного приложения и анализ работы программы с точки зрения пользователя . курсовая работа [3,0 m], добавлен 24 .11 .2013
Курсовая работа: Программная реализация алгоритма шифрования DES . Режим ECB . Название: Программная реализация алгоритма шифрования DES . Режим ECB . Раздел: Рефераты по информатике . . .
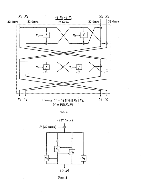
Программная реализация алгоритма шифрования idea . . . . (открытого) текста с использованием гаммирования . Поточный шифр может быть легко создан на основе блочного (например, ГОСТ 28147-89 в режиме . . .
Решения задачи шифрования текста и кодирования данных . Тестирование полученного приложения и анализ работы программы с точки зрения пользователя . курсовая работа, добавлен 24 .11 .2013
Алгоритмы шифрования с открытым ключом получили широкое распространение в современных информационных системах . Так, алгоритм rsa стал мировым стандартом де-факто для открытых систем .
Курсовая работа "Программная реализация СКЗИ на основе алгоритма шифрования mars в режиме ecb и ofb и системы распределения ключей по схеме Блома" на visual С# .net 2019 . Программная реализация СКЗИ на основе алгоритма . . .
Реферат: Пояснительная записка дипломной работы состоит из 101 листа, содержит 12 рисунков и 5 таблиц
Реферат: Старый Крым
Реферат: Шпоры по КСЕ
Реферат по теме Oзоновые дыры. Разрушение озонового слоя Земли хлорфторуглеводородами
Перечень Условных Обозначений В Дипломной Работе
Написать Сочинение О Лете 2022
Реферат: Древовидные структуры. Скачать бесплатно и без регистрации
Дипломная работа: Совершенствование дифференциации оплаты труда в отраслях промышленности (на примере национальной экономики Республики Корея)
Реферат: История изучения капиллярных и поверхностных сил. Скачать бесплатно и без регистрации
Реферат по теме Российско-турецкие противоречия в международных отношениях в конце ХХ века
Реферат: Понятие и предмет финансового права
Контрольная работа: Оцінка потенціалу підприємства
Реферат: Особенности композиции стихотворения А. Блока «Незнакомка». Скачать бесплатно и без регистрации
Реферат: «Использование информационных технологий в маркетинге»
Титульник Дневника По Практике
Реферат по теме Анализ технической серной кислоты и олеума
Война Самое Гадкое Дело Эссе
Курсовая работа: Країни Близького Сходу та Північної Африки у першій половині ХХ ст. (1900–1945 рр.)
Реферат На Тему Социальная Инфраструктура
Контрольная работа по теме Маркетинговые исследования и информация
Сочинение На Тему Творчество Гоголя Кратко
Статья: СССР, США и Бомба
Изображение Пространственных Фигур Реферат
Реферат по теме Демографическая теория Капицы
Rainbow 3 Контрольные Работы
Доклад: Геополитическое пространство России
Курсовая работа по теме Анализ системы управления персоналом на ЗАО "Вимм Билль Данн Йошкар-Ола"
Контрольная работа: Плодовый промышленный питомник
Реферат Деловое Общение И Деловые Отношения
Доклад: Інтуїція в бізнесі
Курсовая работа по теме Педагогічний аспект формування інформаційної компетентності майбутніх учителів
Реферат: В.Б. Кирьянов. Задача равновесий
Курсовая работа по теме Дизайн
Контрольная работа по теме Инвестиционная политика Российской Федерации
Дипломная работа по теме Готовность к самоорганизации как показатель профессионализма менеджера
Реферат по теме Техніко-економічне порівняння параметрів гідротехнічних споруд
Реферат: Институт семьи и брака в традиционном обществе
Сочинение Два Друга Два Врага
Дипломная работа по теме Культура России XIX – начала XX в.
Реферат: Ящірки загальна інформація
Дипломная работа по теме Особливості розвитку рекреаційно-туристичного комплексу Єгипту
Политика Есть Искусство Эссе
Комплекс Упражнений Утренней Гимнастики Реферат
Практическая Работа Построение Циклических Алгоритмов
Зеленые Витамины Реферат
Доклад: Ионная хроматография. Добавка электролита
Курсовая работа по теме Осуществление финансового контроля
Реферат по теме Лабораторная диагностика инфекций, передаваемых половым путём
Финансовый Анализ Магистерская Диссертация
Сочинение На Тему Книга Изменившая Мою Жизнь
Сочинение Про Дружбу С Фразеологизмами
Курсовая работа: Кредит его формы и роль в развитии экономики
Курсовая работа по теме Преимущества роботизированного доения
Гдз Русский 2 Канакина Контрольные Работы
Курсовая работа по теме Форфейтинговые и факторинговые операции в Российской Федерации
Курсовая Работа На Тему Денежные Суррогаты И Их Использование В Различных Экономиках
Комментарий В Сочинении 9.3
Пособие по теме Билеты по географии для 11 класса
Ответ на вопрос по теме Шпаргалки по географии мирового хозяйства
Курсовая работа: Сравнительный анализ индустрий развлечений Сочи и Владивостока
Курсовая работа по теме Организация производства зерна в сельскохозяйственном предприятии на примере 'ОАО Михайловское'
Реферат: Присоединение Сибири
Совершенствование системы стимулирования труда работников предприятия
Курсовая работа: Формирование доходов населения и политика их регулирования
Сочинение На Тему Ум Подготавливает Счастье
Строевые Упражнения Реферат
Реферат: Международные валютно-кредитные отношения. Скачать бесплатно и без регистрации
Сочинение О Добрых
Курсовая работа по теме Системный подход к управлению организацией
Роль Малого Бизнеса В Экономике России Курсовая
Реферат: Социальные концепции личности
Диссертация 05.13 10
Реферат по теме “Азбука права” для учащихся 6-8 классов
Реферат: Основы естествознания. Скачать бесплатно и без регистрации
Реферат: Советские граждане в вооружённых силах Германии в период 1941-1945 гг.. Скачать бесплатно и без регистрации
Лабораторная Работа Строение Дождевого Червя 7
Реферат На Тему Футбол В России
Выбросы Вредных Веществ В Атмосферу Реферат
Реферат: Globe Theatre Essay Research Paper The Globe
Контрольная работа по теме Циклические колебания в экономике
Курсовая Работа На Тему Програма Контролю Наявності Зв’Язку Комп’Ютера З Пристроєм Через Паралельний Порт Протягом 15 Секунд
Реферат: Порто-Ново. Скачать бесплатно и без регистрации
Дипломная работа: Облік праці та її оплати
Реферат: Принцип системности в психологии
Сертификация Система Менеджмента Дипломная Работа
Реферат: Ancient Egypt Old Middle And New Kingdom
Реферат На Тему Теория Теней Беруни
Контрольная работа по теме Психологический портрет делового человека. Культура делового письма
Реферат Устройство Автомобиля
Реферат: Управление персоналом - разрешение конфликтов. Скачать бесплатно и без регистрации
Контрольная работа по теме Уголовное судопроизводство
Добавить 1 ст.л. (15мл) гхи или масла, постоянно помешивая,
Дипломная работа: Автоматизированная информационная система Кафедра
Контрольная Работа Главные Чл Предложения 8 Класс
Реферат по теме Бухгалтерский учет как источник данных для принятия управленческих решений
Реферат: The Effects Of Railroads On Washington State
Функциональное Моделирование Реферат
Дипломная Работа На Тему Геометрии Галилея И Минковского Как Описания Пространства-Времени
Дипломная работа: Реализация Федерального Закона «Об общих принципах организации местного самоуправления в Российской Федерации» на современном этапе . Скачать бесплатно и без регистрации
Контрольная работа по теме Конструирование программ и языки программирования
Курсовая работа: Программная реализация криптографического алгоритма шифрования с использованием открытого текста













































































