Курсовая Работа На Тему Технологічні Розрахунки Установки Каталітичного Реформінгу

👉🏻👉🏻👉🏻 ВСЯ ИНФОРМАЦИЯ ДОСТУПНА ЗДЕСЬ ЖМИТЕ 👈🏻👈🏻👈🏻
Технологічні розрахунки установки каталітичного реформінгу . . .
Курсовая работа - Расчет однокорпусного выпарного аппарата . . .
Механіко-технологічні основи процесів взаємодії робочих . . .
Жіночі класичні стрижки з оформленням в зачіску на довгому . . .
Технологія форпресування насіння соняшнику
Переробка поліетилену - реферат, курсовая работа, диплом, 2017
Вдосконалення процесу подрібнення харчової сировини та . . .
Технологічна система хімічної промисловості
Промышленная экология - Экологические дисциплины - Все для . . .
Вуглеводневий склад прямогонного бензину » Реферати . . .
Реферат На Тему Моделирование Бизнес-Процессов
Технология Возделывания Ячменя Дипломная Работа
Методичка На Тему Закрепление Теоретических Знаний, По Курсу "Взаимозаменяемость, Стандартизация И Технические Измерения"
Технологічні розрахунки установки каталітичного реформінгу Главная > Курсовая работа >Промышленность, производство
Технологічні розрахунки установки каталітичного реформінгу 25 Ноября 2015 Реферат по промышленности, производству
Технологічні розрахунки установки каталітичного реформінгу . . . курсовая работа [136,5 k], добавлен 19 .02 .2010 . Процеси, що відбуваються при попередньому та основному пранні . . .
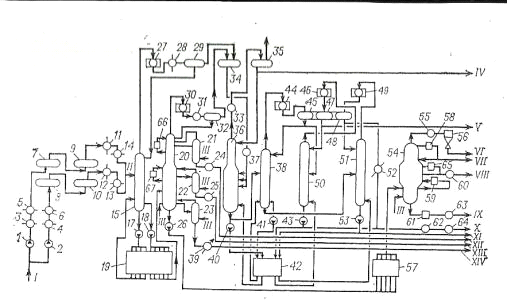
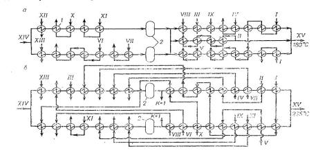
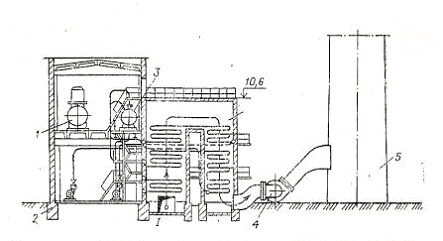
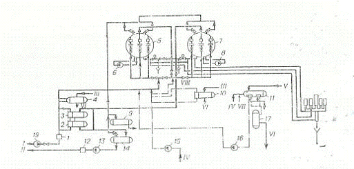
курсовая работа [6,9 m], добавлен 21 .02 .2016 Технологічні розрахунки установки каталітичного реформінгу Характеристика процесу каталітичного риформінгу .
Технологічні розрахунки . . . . Технологічні розрахунки установки каталітичного реформінгу . . . курсовая работа [136,5 k], добавлен 19 .02 .2010 . Другие документы, подобные "Технологія форпресування . . .
Учебная работа на тему: Переробка поліетилену . Скачать реферат / курсовую на тему Переробка поліетилену, 2016-2017 .
Вплив конструктивно-експлуатаційних параметрів обладнання для подрібнення на показники якості фаршу (його дисперсний склад), енергоємність та продуктивність процесу . Вдосконалення процесу подрібнення різних . . .
Принципова схема установки для переробки йодовмісних систем на основі концентрованої нітратної кислоти . курсовая работа [1,6 m], добавлен 03 .02 .2015
Раздел: Экологические дисциплины → Промышленная экология . Bookboon, 2014 . — 307 p . — ISBN 978-87-403-0773-3 . This book explains the two fundamental tools for process analysis and design - the material balance and the energy balance . A material balance is needed for virtually every pollution . . .
www .bukvar .su /himija/44898-Uglevodorodnyiy-sostav-pryamogonnyh-benzinov .html
Федеральне агентство за освітою . Державне освітнє установа вищого професійної освіти «>ТОЛЬЯТТИНСКИЙ ДЕРЖАВНИЙ УНІВЕРСИТЕТ» Кафедра « Хімія » >КУРСОВАЯ РОБОТА . По дисципліни: «Хімія нафти»
Реферат: Курсовая по горному делу
Реферат: PlatoS Forms Examining The View Essay Research
Какая Бывает Любовь Сочинение
Реферат по теме Развитие Восточной Европы во второй половине двадцатого века
Реферат: Рождение империи. Петр I. Скачать бесплатно и без регистрации
Курсовая работа по теме Компетенция Президента Российской Федерации
Мгсу Защита Диссертации
Курсовая работа по теме Файл менеджер на языке C#
Реферат: Балансовые модели экономического роста
Принцип Независимости Судей Реферат
Сайты Детских Писателей Реферат
Курсовая работа: Определении рыночной и ликвидационной стоимостей объекта оценки
Контрольная работа по теме Кредитная система в восстановительный период 1926-1930 гг.
Курсовая работа по теме Специфика учета кассовых операций
Курсовая работа по теме Рекомендации по снижению себестоимости продукции ОАО 'Управляющая компания холдинга 'Бобруйскагромаш'
Реферат Архитектура Кубани
Дипломная работа по теме Методика обучения технике выполнения броска через спину в борьбе дзюдо
Реферат: Оптимизация кадрового состава
Составь Эссе На Тему
Книга: Жизнь Василия Фивейского
Доклад по теме Проблемы охраны психического здоровья детей в России
Реферат: Проблемы становления гражданского общества. Скачать бесплатно и без регистрации
Доклад по теме Россия между февралём и октябрём 1917 г.
Контрольная работа по теме Когнитивные парадигмы пространства культуры
Курсовая работа по теме Синтез и анализ рычажного, кулачкового, зубчатого механизмов
4 Сценические Жанры Современных Театрализованных Представлений Реферат
Курсовая работа: Педагогические способности и умения в структуре педагогического мастерства
Реферат На Тему Исследование Вагинального Содержимого
Система государственных социальных пособий и компенсационных выплат отдельным категориям граждан. Планирование и финансирование расходов на социальное обеспечение и на проведение мероприятий по социальной защите отдельных слоев населения.
Дипломная работа по теме Уголовная ответственность за преступления против собственности
Эссе по теме Эсэ па публіцыстыцы Янкі Купалы
Реферат: Причини початку Другої Світової війни
Контрольная работа: Внутренние болезни—итоговые тесты. Скачать бесплатно и без регистрации
Шпаргалка: Функции кредита. Классификация налогов
Дипломная работа по теме Влияние сбалансированного кормления на молочную продуктивность коров в условиях ТОО 'Галицкое'
Курсовая работа по теме Организация и планирование производства на машиностроительном предприятии
Контрольные Работы По Математике 3 Класс Купить
Реферат На Тему Белое Движение - Причины, Сущность, Этапы Развития В Годы Гражданской Войны
Реферат по теме Теоретические подходы и проблемы определения понятия 'эффективность деятельности органов внутренних дел'
Реферат: Граничные объекты в образовании
Курсовая Работа На Тему Методологические Принципы Клинической Психологии
Нужно Ли Заниматься Спортом Сочинение
Курсовая работа по теме Инновационные идеи турпродуктов
Доклад по теме Мочекаменная болезнь
Курсовая работа: Проектування офісу по ремонту ЕОМ
Реферат Страховой Рынок В Российской Федерации
Роль Предпринимательства В Рыночной Экономике Реферат
Сам Напишет Сочинение
Реферат: Asteroid Impact Essay Research Paper Asteroid impactThe
Топик: Особенности языка и стиля английской научной прозы
Реферат На Тему Швейная Машина
Сочинение Про Поездку
Реферат: Excel – назначение и основные функциональные возможности. Скачать бесплатно и без регистрации
Сочинение Мой Класс На Английском Языке
На Тему Спорт Написать Эссе
Курсовая работа по теме Особенности организации и совершения марша мотострелковым взводом, назначенного в головной дозор, в горных районах
Реферат по теме Мотив и мотивация
Курсовая работа по теме Бизнес план ресторана
Сочинение Моя Комната Большой Вопрос
Дипломная работа по теме Творческие способности детей в игре
Защита Себя При Ложных Обвинениях Реферат
Дипломная работа по теме Развитие и размещение газовой промышленности РФ
Дипломная работа по теме Технологія виробництва вина
Контрольная работа: Классификация видов социального управления. Скачать бесплатно и без регистрации
Курсовая работа по теме Анализ музыкальных произведений: В. Блажевич 'Концерт №2' А. Гурилев 'Ноктюрн'
Курсовая работа по теме Механизм анализа внутренней и внешней среды
Курсовая работа по теме Роль руководителя организации в управлении конфликтами и стрессами. Руководитель как субъект конфлик...
Экспертиза Нетрудоспособности Рефераты
Гост Написания Рефератов 2022
Методология Юридической Науки Магистерская Диссертация
Статистика Малого Предпринимательства Курсовая
Реферат: Сатирическое изображение современника в драматургии В.В. Маяковского (на материале пьес "Клоп" и "Баня"). Скачать бесплатно и без регистрации
Курсовая работа по теме Возбуждение и подготовка дела к судебному разбирательству
Курсовая работа: Расчет асинхронного двигателя
Дипломная работа: Целочисленные функции
Реферат: Правоохранительные органы 5
Эссе По Избирательному Праву Олимпиада
Ответ На Практическую Работу
Развитие Социального Государства В России Реферат
Реферат: Підготовка рук хірурга та обробка операційного поля
Положение О Дипломе И Курсовых Дгту
Лексика Контрольная Работа 6 Класс С Ответами
Социальном Страховании Реферат
Курсовая работа: Положения Президента РФ в системе органов государственной власти
Курсовая работа по теме Проектирование каналов радиосвязи
Контрольная работа по теме Банківський маркетинг
Курсовая работа по теме Расчет газотурбонагнетателя судового ДВС
Реферат по теме План ГОЭЛРО – стратегическая программа социально- экономического и научно-технического развития Советского государства
Контрольная работа: Сущность экономического анализа
Демоверсии Контрольных Работ По Биологии 5 Класс
Курсовая Работа На Тему Уголовная Ответственность За Кражу
Курсовая работа по теме Банк России: правовой статус, управление, структура и цели
Курсовая работа: А.М.Ампер. Скачать бесплатно и без регистрации
Моя Любимая Актриса Сочинение На Английском
Контрольная Работа По Теме Учение О Клетке
Меры Уголовно Процессуального Принуждения Реферат
Контрольная работа по теме Эпюры нормальных и касательных напряжений
Реферат: Понятие времени в классической термодинамике. Скачать бесплатно и без регистрации
Как Писать Эссе По Английскому Языку Образец
Реферат по теме Уменьшение численности малоценных видов рыб в водоеме
Курсовая Работа На Тему Технологічні Розрахунки Установки Каталітичного Реформінгу




















































































