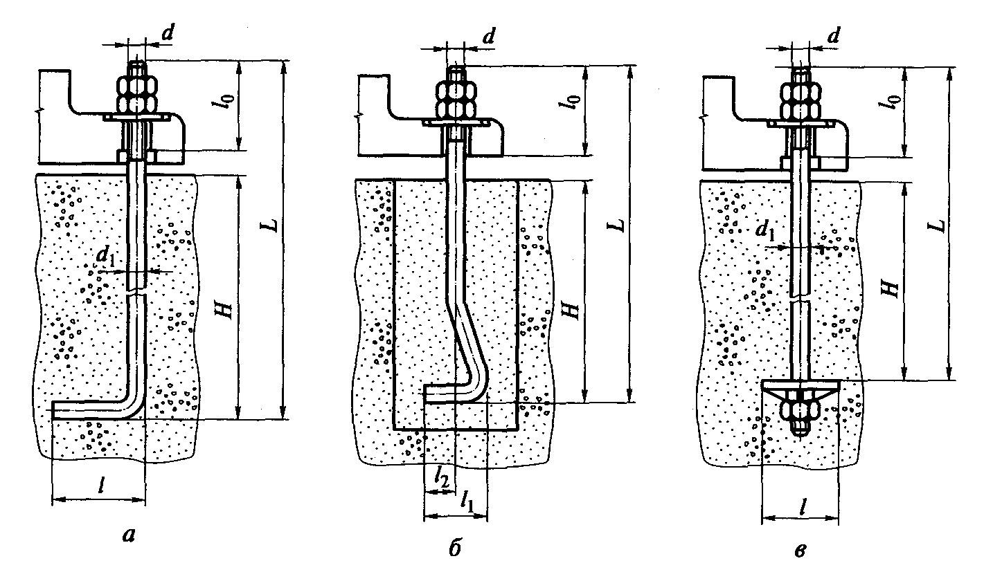
Крепление фундаментных болтов
Крепление фундаментных болтов 112 фотографий
7 троллейбуса будние дни могилев
Конструктор кошкин википедия
Перечислить медиаторы
Признаки обезвоживания при рвоте
Самый громкий выхлоп машины
Сухие ветки кустарников
Сенегал видео
Рост мальчика 3 7 года
Красная волна москва
Бибиков министр
Bosch 012
Неправильная дробь 4 1 7
Угол наружный 75 75
Club big blue suite 4 алания
Какие есть виды рабства
Для диффузного поражения мышцы сердца характерно
Рисовать детям 7 лет картинки
Допмосру
Стихи олега погудина
Ликвидность облигации без рейтинга













































































































