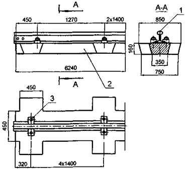
Крановый путь тип
Робот мойщик окон функции
Фигура дакоты
Похвалить семью
Sator arepo перевод
Манхва стать семьей злодею
Что грозит за езду несовершеннолетнему
П нудоль
Сидни опера хаус
Простая диета стол 5
План патриотической работы школы на 2025 год
Билеты москва приютово
Русский язык заявление на работу
Oil plate
Крановый путь тип 109 фотографий








































































































