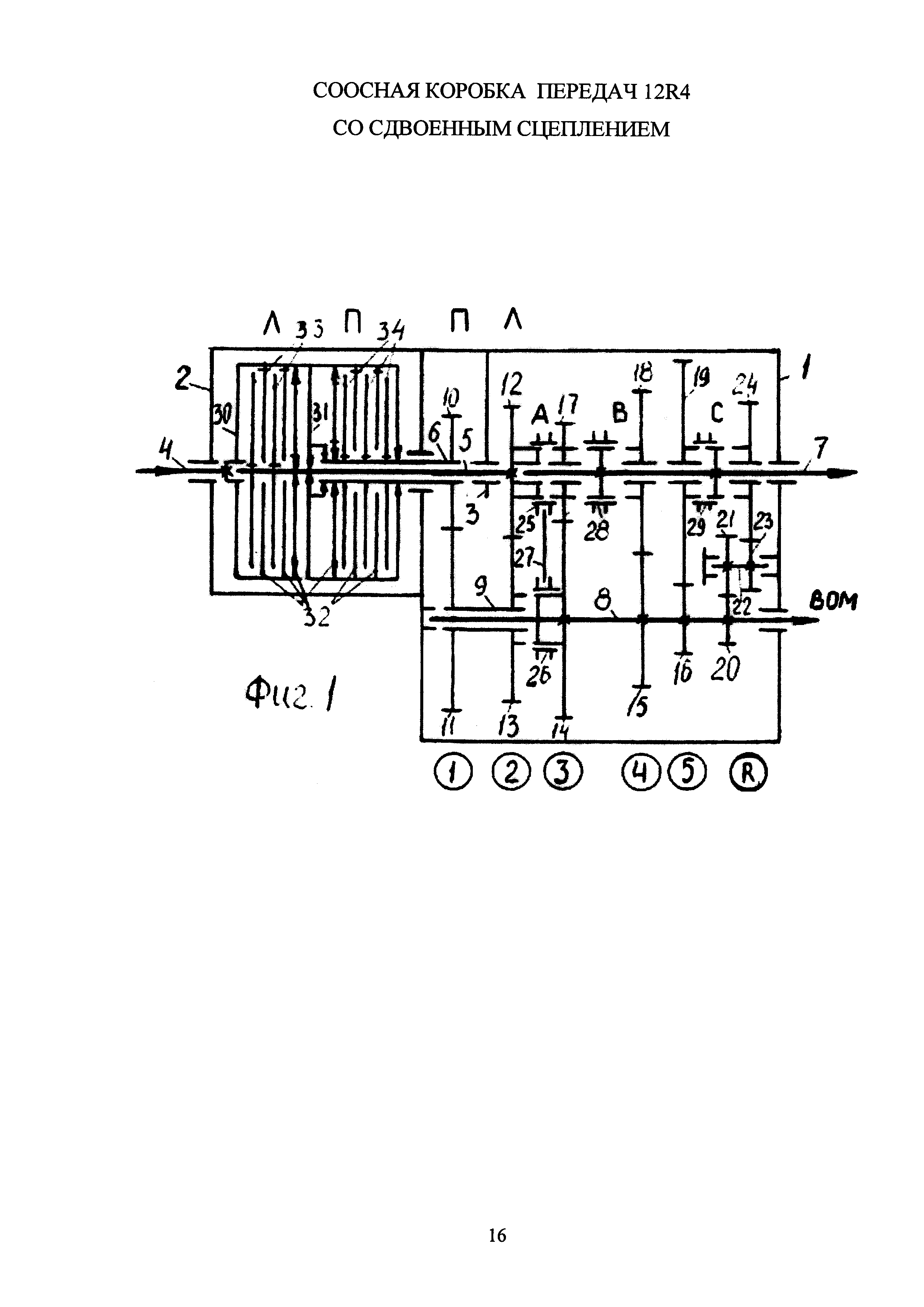
Кп коробка передач
Аквалоо лечение отзывы
3п 16а иэк
В каком сроке беременности узнают пол
Что такое делитель натурального числа 6 класс
Therapy мыло
Techno megabook тачпад
Уральск в реальном времени
Control center 3.0 ardor
Бу автомобили на авито краснодарский край
Ильенков является представителем марксизма
Доброго перегонный куб
Это был комплимент тебе
Jeremy good
Кп коробка передач 107 фото



































































































