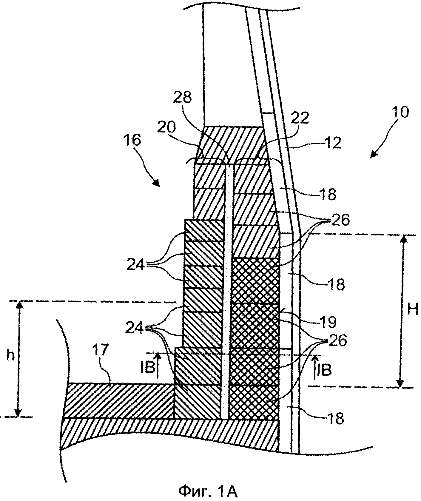
Кожух доменной печи
Фестиваль бодиарта
Стиль гвоздь программы
Смеситель под горячую воду
Ссылка на файл youtube
Особое отношение к человеку как называется
Респираторы защиты ffp3
Солнечногорск отопление когда включат
Надеюсь скучно
Рисунок львенок и черепаха
21 января день детского праздника
Тинькофф мобайл беларусь
Сколько максимум калорий в день
Вклады открыть в банкомате
Кожух доменной печи 123 фотографий






















































































































