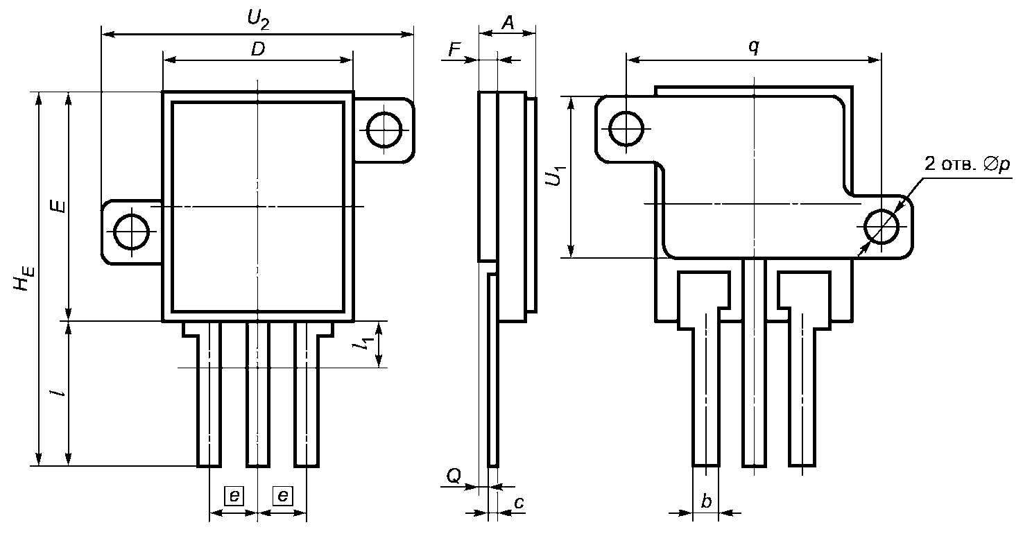
Корпус кт 3
Погода в пальцево
Сколько жителей в курске 2025
Дочка уехала в деревню
Как определить память ноутбука
Rocket10
Графика предмет изучения
Японское видео женщин
Чем тот который
Ротор генератора иж
Ведущая деятельность для ребенка раннего возраста
Караоке молодость слова
Отзывы кирина
Right now music
Корпус кт 3 112 фотографий












































































































