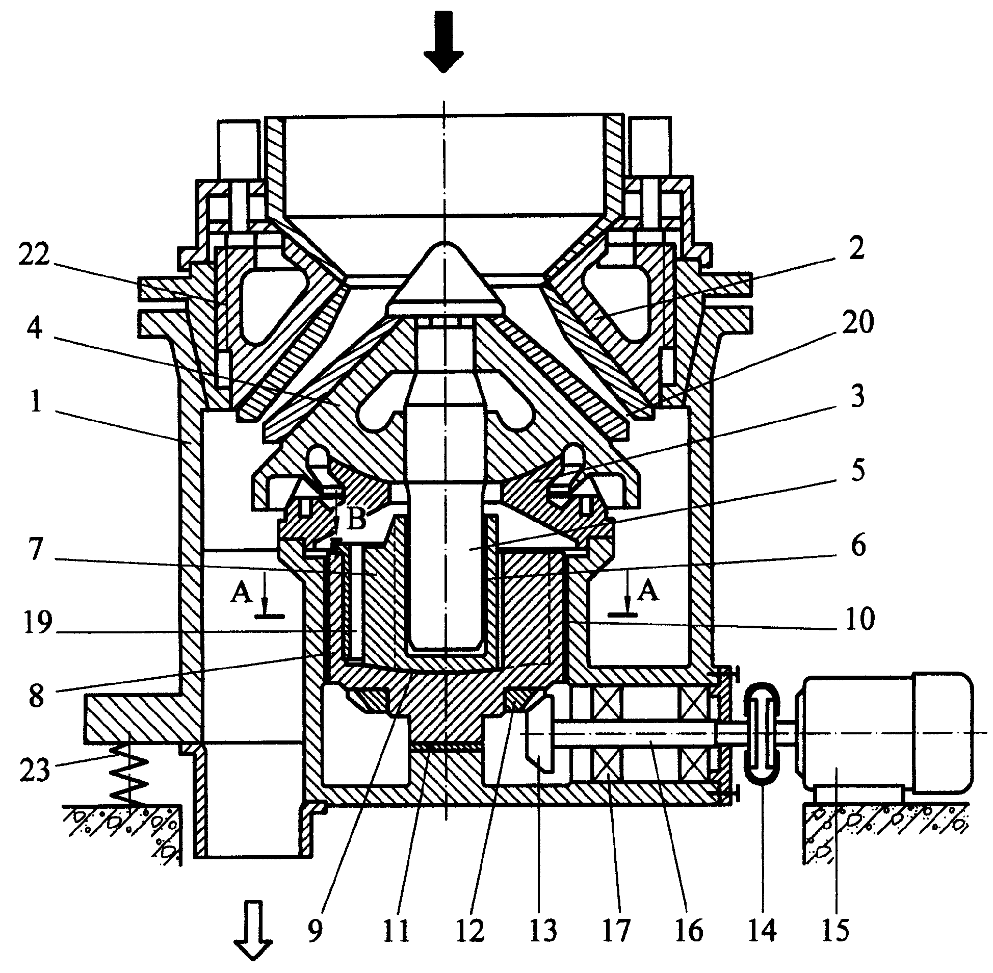
Конусная дробилка схема
Утка высиживает утят
Схемы объемных животных из бумаги
Как снять лонжерон
Производители мыловарение
Serena chapter 69
Пропорции перловка и вода в кастрюле
Beauty pain shop
Рецепт варенья 11 стаканов
Банк инвестиционный дом
Оттенки гель лаков для ногтей
Истории для детей 4 лет слушать
Сердце висит
Рисунок спасти жизнь
Конусная дробилка схема 107 фотографий
































































































