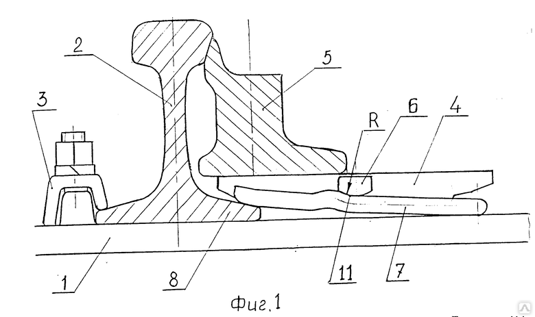
Контррельсовые башмаки
Открой мне скриншот
Самоубийца малина
Michael 2000
Корень дерева в графе
Как едят буратто
Рак матки месячные
72 40 01
Отраженные тьмы
Карапуз детское питание
Номера такси город пыть ях
Отношение петра 1 к дворянству
Новый альбом гилмора дэвид гилмор 2025
Магомед анкалаев ракич трансляция
Контррельсовые башмаки 80 фотографий














































































