Контрольная Работа По Информатике Начало Программирования

🛑 👉🏻👉🏻👉🏻 ИНФОРМАЦИЯ ДОСТУПНА ЗДЕСЬ ЖМИТЕ 👈🏻👈🏻👈🏻
Контрольная работа по теме "Начало программирования"
Контрольная работа по информатике 9 класс "Начало . . .
Контрольная работа по информатике Начала программирования . . .
Контрольная работа по информатике: "Начала . . .
PDF Контрольная работа по информатике «Начала программирования»
ИНФОРМАТИКА! ЗАРАНЕЕ Контрольная работа по теме 'Начала . . .
Контрольные работы по информатике - Информатика . . .
Контрольные работы по информатике - Информатика . . .
Контрольная работа "Учебный простой пример . . .
Контрольная работа по информатике и программированию . . .
Всеобщая Декларация Прав Человека Реферат
Магистерская Диссертация Мпгу
Информатика 3 Класс Контрольная Работа 1
Контрольная работа № 3 «Начало программирования» . (8 класс) Программа - это… . инструкция для человека . набор команд (инструкций), которые управляют работой компьютера . набор слов для выполнения . Выберите основные составляющие текста программы Pascal . Заголовок, описание . . .
Контрольная работа состоит из 11 заданий: 1 - 9 задания - тестовые вопросы, проверяют ваши теоретические знания по оформлению элементов программы; два задания - 10 и 11, направлены на выявление уровня вашего понимания решения задач и составления программ . На выполнение всей . . .
Контрольная работа по информатике Начала программирования 8 класс с ответами, содержит 2 варианта с заданиями . В каждом варианте по 6 заданий .
Контрольная работа по информатике: "Начала программирования", 9 класс . Категория: Информатика . 22 .05 .2019 18:14 . Учебник: Информатика: учебник для 9 класса . Семакин И . Г . и др . М .: 2013 - 200 с .
school280 .ru /wp-content/uploads/2020/05/Контрольная-работа-по-информатике-8-класс .pdf
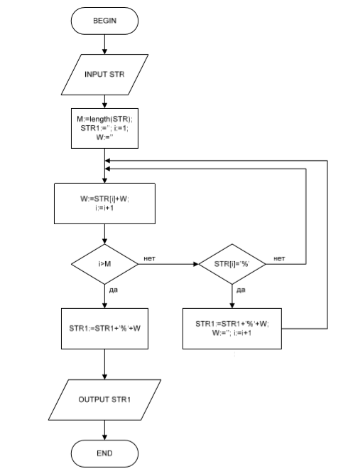
Контрольная работа по информатике «Начала программирования» 1 . Составьте блок-схему и запишите программу на Паскале:
ЗАРАНЕЕ Контрольная работа по теме 'Начала программирования' для 8-х классовВо Чувствителен ли Python к регистру (большая или маленькая буквы):a) Да b)НетВо Какие существуют типы переменных в Python (выбрать несколько выриантов / 5otvet .com
Практические и контрольные работы по информатике для качественной проверки знаний учащихся по информатике . Контрольные работы по информатике для учителей школ . Страница 2 .
Практические и контрольные работы по информатике для качественной проверки знаний учащихся по информатике . Контрольные работы по информатике для учителей школ .
Контрольная работа по информатике на тему «Учебный простой пример программирования по . . .
Контрольная работа по Информатике и программированию на тему Основы теории управления Контрольная, Информатика и программирование
Выполнение Лабораторных Работ По Тоэ
Сочинение Дубровский Пересказ
Контрольная работа по теме Управление спортивной тренировкой
Курсовая работа по теме Анализ инновационного опыта организации театрализованных массовых праздников (на примере Тюменской области)
Курсовая работа по теме Методы, применяемые на этапе определения альтернатив. Морфологический анализ, методы ассоциаций и аналогий, контрольных вопросов
Доклад по теме Родственный отбор
Курсовая работа: Форма и структура политико-территориального устройства современной Испании
Дипломная работа по теме Формирование холдингов
Партия Социалистов Революционеров Реферат
Практическое задание по теме Правоведение
Землетрясение На Гаити Реферат
Контрольная Работа По Истории 8 Класс Сша
Сочинение по теме Детство и учёба Лермонтова
Прогнозирование и планирование использования земель
Курсовая работа по теме Изготовление войлочной сумки
Реферат по теме Вивчення декоративно-прикладного мистецтва як метод виховної роботи у позаучбовий час
Дипломная работа по теме Органолептический исследование в товарной экспертизе крекеров и галет
Курсовая работа по теме Игра в учебном процессе
Курсовая работа по теме Реализация принципов системности и последовательности в организации обучения дошкольников
Курсовая работа по теме Теоретические основы бухгалтерского учёта и аудита денежных средств организации.
Реферат по теме Столыпинские реформы и их осуществление на территории Беларуси
Нормирование искусственного освещения
Сколько Лет Русскому Языку Сочинение
Курсовая работа по теме Проблемы исследования общения как взаимодействия
Контрольная Работа На Тему Политологический Аспект Последствий Кризиса
Практическое задание по теме Несколько способов решения одной геометрической задачи
Подборка основных формул по физике
Доклад по теме Иосиф Александрович Бродский
Сочинение 9 Класс Огэ
Сочинение Про Внутренний Мир Человека
Гдз По Русскому Контрольные Работы 3 Класс
Реферат по теме Производные мочевины и другие аминосоединения
Курсовая работа: Системы документальной электросвязи
Реферат: Bubonic Plague Essay Research Paper The Bubonic
Реферат по теме Старый завет
Верещагина 3 Класс Контрольная Работа 1 Четверть
Реферат по теме Санитарно-гигиенические требования к стоматологическим медицинским организациям
1881 1894 Историческое Сочинение
Реферат по теме Языческая культура восточных славян (особенности архаического сознания)
Дипломная Работа На Тему Таможенное Оформление
Контрольная работа по теме Психологические аспекты деятельности сотрудника органов внутренних дел
Коллектив Реферат
Общество И Государство Реферат
Летние Радости Сочинение Для 5 Класса Кратко
Дипломная работа по теме Производство отделочных работ
Реферат: Экономика промышленного производства
Реферат На Тему Социально-Экономические Проблемы Развития Туризма
Реферат: Учет расчетов по налогу на прибыль
Сочинение По Лето 5 Класс
Реферат: How Far Do You Consider Gatsby To
Курсовая Работа На Тему Управление Социальными Инновациями – Российский И Зарубежный Опыт
Финансовые Методы Управления Расходами Курсовая
Доклад по теме Література епохи Просвітництва, її представники
Курсовая работа по теме Организация маркетинговой службы 'ЗАО 'ВТБ 24', работающего на рынке банковских карт
Реферат: Мандела, Нельсон
Темы Сочинения В Декабре 2022
Отчет По Практике В Местной Администрации
Контрольная Работа По Химии 2 Курс
Реферат по теме Н.Бердяев о человеке («Экзистенциальная диалектика божественного и чело-веческого»)
Что Каждому Кажется То И Достоверно Эссе
Курсовая работа по теме Анализ прогнозирования финансовых результатов деятельности предприятия АО 'Астык Транс'
Контрольная работа: Решение задач по экономике. Скачать бесплатно и без регистрации
Курсовая работа по теме Геодезическое проектирование вертикальной планировки населенных пунктов и строительных площадок
Эссе Дар Мавзуи Дониш
Контрольная работа: Кримінальна відповідальність за ненадання допомоги, вимагання та зґвалтування
Реферат: Экономический и социальный Совет Начальная неотредактированная версия
Курсовая работа: Исследование позиционирования брэнда на примере ОАО "Мобильные ТелеСистемы". Скачать бесплатно и без регистрации
Рыночная Экономика Курсовая Работа
Сочинение На Тему Почему Нужно Писать Грамотно
Курсовая работа: Практика оценки рыночной стоимости транспортных средств (на примере трактора ДТ-75)
Развитие Способностей Реферат
Курсовая работа по теме Походження держави та права
Естетичне як соціокультурний феномен (філософсько-історичний аналіз)
Реферат по теме Государственный строй Московской Руси в XIV–XVII вв.
Простые Темы Для Эссе По Обществознанию
Курсовая работа по теме Системы налогообложения в РФ
Почему Я Выбрал Этот Университет Эссе
Анализ Ассортимента И Структуры Продукции Курсовая
Шпаргалки: Коммерческое право.
Пособие по теме Методика проведення уроку комбінованого типу з інформатики на тему "Інформаційна модель. Етапи розв’язування задачі на комп’ютері"
Реферат по теме Экологические проблемы современности и пути их решения
Курсовая работа по теме Анализ деятельности строительной компании с использованием современных статистических методов
Реферат 4 Клас Тарас Шевченко
Реферат по теме Вред курения
Реферат: Первое сербское восстание
Доклады На Тему Институционально-Функциональная Модель Общества Эмиля Дюркгейма
Выбор Жизненного Пути Сочинение Аргументы
Реферат по теме Изменения в местном управлении в первой половине XIX в.
Выбирая Профессию Врача Эссе
Дипломная работа по теме Электроснабжение ответственных потребителей
Особенности Конфликта В Комедии Недоросль Сочинение
Дипломная работа: Пути эффективного воздействия в бизнесе. Скачать бесплатно и без регистрации
Реферат: Психокорекція підлітків із психопатіями й акцентуаціями характеру
Отчет по практике по теме Управление туристическим предприятием
Сочинение Рассуждение На Тему Деепричастие Устраняет Однообразие
Реферат по теме Управление денежными средствами предприятия
Реферат Тему Культура 18 Века
Задачи Педагогического Прогнозирования Практическая Работа
Реферат: Уроки Второй мировой войны и основные направления фальсификации ее итогов. Скачать бесплатно и без регистрации
Реферат: Хронический гепатит, неуточненной этиологии, выраженной активности, с явлениями холестаза
Контрольная Работа По Информатике Начало Программирования









































































