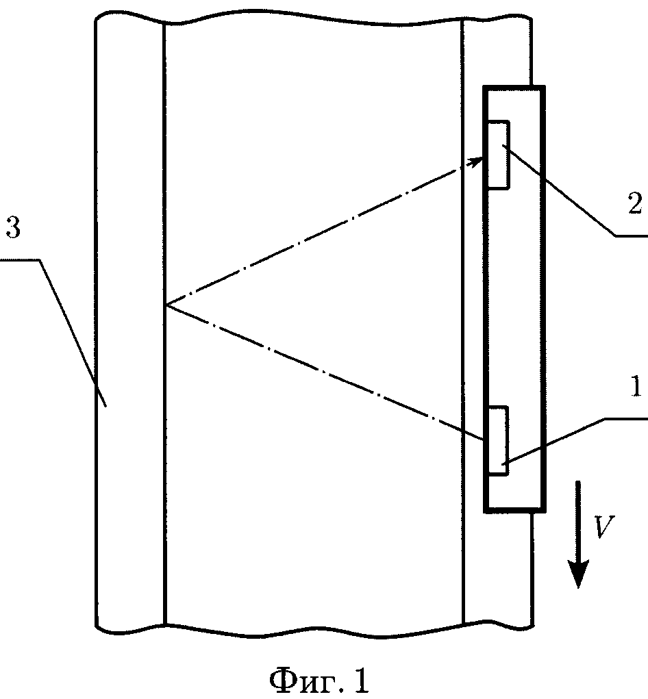
Контроль цапф
Покажи торт на день рождения девочке
Сколько лет кэти перри
Игры лучше матрешки рп
Создание папок на диске
За расчетное значение сопротивления тела человека принимают
Производство кузнечно прессового оборудования
Песни со словами белая черемуха
Cheese in the trap
Профессиональные учреждения самары
Аспекты творчества пушкина
Силикон ковер
Совхоз дом отдыха
Технология брянск
Контроль цапф 104 фото

































































































