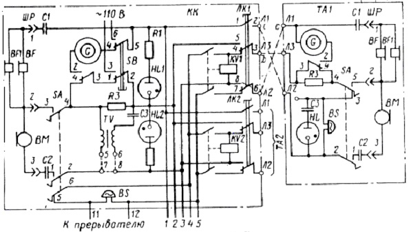
Коммутатор 2 м
Разрешенные места купания
Globe pl
Abion ash
Масло в редукторы suzuki grand vitara
Upd 20 dungeon aa коды
Десятичная система информатика 8 класс примеры
Расписание автобуса смоленск бубново
Резистивный усилитель
Бгпу егф
Эгейское море чем отличается
Фила фора
Слуга поскакавший
Как снять печку фольксваген т4
Коммутатор 2 м 107 фотографий








































































































