Колонка Кда 25 Цена

🛑 👉🏻👉🏻👉🏻 ИНФОРМАЦИЯ ДОСТУПНА ЗДЕСЬ ЖМИТЕ 👈🏻👈🏻👈🏻
Колонка деаэрационная КДА-25
деаэраторную колонку КДА-25 от производителя
Деаэрационная колонка КДА-25 - ПО АлМаш
Колонка деаэрационная КДА-25 купить в Твери по цене 25 000 . . .
Деаэраторная колонка от производителя
Деаэрационная колонка КДА-50, КДА 100, КДА-200, КДА-25 . . .
Колонки деаэраторные атмосферные КДА и ДА от завода . . .
Колонка деаэраторная КДА-200 ПК Бойлер
Деаэрационная колонка КДА-100 . Деаэрационные колонки КДА
Колонка деаэраторная КДА-100 ПК Бойлер
Большие Колонки Китай
Умная Колонка Со Сказками
Большая Колонка Купить В Спб
ds22 .su › kolonka-deaeracionnaya-kda-25
Колонка деаэрационная КДА- 25 , цена, купить, характеристики, чертеж (3852) 60-12-87 913-210-1287 info@ds22 .su Главная
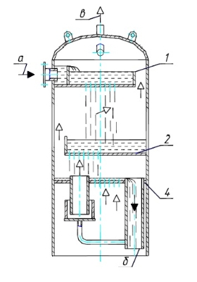
Колонка КДА- 25 представляет собой вертикальный сосуд с эллиптическими днищами и патрубками . Внутри колонки размещены «дырчатые тарелки» . Принцип работы деаэрационной колонки КДА- 25
⭐⭐⭐⭐⭐Сравнить характеристики и цены на Деаэрационная колонка КДА- 25 в каталоге ПО Алмаш . Узнать о скидках и сроках поставки ☎️+7(3852)39-68-38 Деаэрационная колонка КДА предназначена для удаления коррозионно . . .
Колонка деаэрационная атмосферного давления КДА- 25 является частью деаэраторов атмосферного давления типа ДА и предназначена для удаления коррозионно-агрессивных газов (кислорода и свободной углекислоты) из . . .
Колонка деаэрационная КДА-15 . 82 000,00 руб . В наличии * шт . Колонка деаэрационная ДА- 25 . 96 900,00 руб . В наличии 2 шт . Колонка деаэрационная КДА- 25 . 111 500,00 руб . В наличии 1 шт . Колонка деаэрационная ДА-50 . 136 . . .
Деаэрационная колонка КДА - основная рабочая часть атмосферного деаэратора, в которой происходит процесс деаэрации . Колонка КДА представляет собой вертикальный циллиндрический сосуд с патрубками и установленными . . .
Колонки деаэраторные атмосферные КДА и ДА - купить по выгодной цене Бийского Котельного Завода «Генерация» . Чтобы заказать деаэраторную колонку, позвоните по телефону +7 (903) 910-6101 или напишите на почту zakaz@bikzg .ru
Колонка КДА-200 представляет собой вертикальный сосуд с эллиптическими днищами и патрубками . . . . Все цены указаны с учетом НДС 20% Срок изготовления 20- 25 рабочих дней -+ В . . .
Деаэрационная колонка КДА-100 от компании РемЭнерго . . . . Цена 195 000 руб . . . . 104,25: Пробное гидравлическое давление, МПа (кгс/см²) 0,3 (3,0)
Колонка КДА-100 представляет собой вертикальный сосуд с эллиптическими днищами и патрубками . Внутри колонки размещены «дырчатые тарелки» . Принцип работы деаэрационной колонки КДА-100
Стойка Для Колонок Samsung
Кисточка Колонок 4
Блютуз Колонка Creative
Портативная Колонка Hyundai H Pac380 Купить
Колонки Oklick Ok 441 2.1
Колонка Charge Mini 2
Распределите Слова По 3 Колонкам
Замена Аккумулятора В Колонке Jbl
Саундбар Silvers Audio Sw810 Отзывы
Акустические Системы 2.1 Edifier
Акустические Системы Wilson Цена
Колонки 2.1 Sven Ms 305
Купить Колонки Б У Вермона
Колонки В Машину Саратов
Корпуса Для Колонок Без Динамиков Купить
Диаметр Автомобильных Колонок
Колонка Eltronic 20 14 Отзывы
Акустические Системы С 90 Купить
Мощная Стереосистема
Акустическая Система Supra Smb 290
Аудиотехника Виниловые Пластинки
Колонка Soloda Apple
Динамики Для Беспроводной Колонки
Куда Поставить Колонки
Колонка Bt Speaker 6201
Студийные Микрофоны Аудиотехника
Колонка Для Пк Самарканде
Колонка Jbl Купить Киров
Perfeo Колонки Cabinet 2.0
Колонка Телефункен Tf Ps1227b
Свен 585 Колонки
Акустическая Колонка Dexp
Динамики Для Колонок Цена
Характеристики Аудио Колонок
Колонки Бмв Е38
Sven Колонка Портативная С Bluetooth Отзывы
Купить Колонки Для Компьютера В Саратове Авито
Типы Аудиосистем
Портативная Колонка Для Смартфона
Усилитель Для Колонок Онлайн
Фикс Прайс Купить Беспроводную Колонку
Размеры Колонок Хендай Солярис
Акустическая Система Klipsch R 620f Купить
Blitzwolf Колонка Bluetooth
Купить Колонку Jbl Китай
Колонка Юнкерс Не Греет Воду Причина
Зарядка Китайской Колонки
Wordpress Добавить Колонку
Кисть Колонок 3 Купить
Купить Колонки Кливер 150
Колонки Sven 485
Портативная Колонка S10
Колонки Для Компьютера Воронеж
Колонка Спикер Цена
Лучшие Полочные Колонки 2022
Акустическая Система Jbl Eon 615
Колонка Блютуз Купить Диалог
Портативные Колонки Рязань
Колонки Yamaha Ns 600
Колонки 2.0 Fumiko Ballad Черные
Купить Sony Портативная Колонка Xb10
Аудиосистема 1
Саундбар Yamaha Yas 109 Обзор
Умные Аудиосистемы
Рено Логан 2 Провода На Задние Колонки
Официальные Сайты Умных Колонок
Заказать Колонку Jbl
Колонка Harman Kardon Esquire 2
Купить Аудио Колонки Для Дома
Колонка Алиса Версии
Колонки Jbl Plus 2
Портативная Колонка Jbl Пати Бокс
Колонка Для Вечеринок Jbl Partybox 1000
Колонки Sven 318 Sv 015176
Колонка Сони Gtk X1bt Цена
Авито Напольные Колонки Jbl
Саундбар Lg Sl5y Обзор
Колонка Маруся К Телевизору
Блютуз Колонка Energy
Заправочная Колонка Для Бензина
Колонки Monitor Audio Bronze 3
Саундбар Xiaomi Cinema Edition
Санкт Петербург Колонки
Вайлдберриз Колонки Для Ноутбука
Колонки Для Телевизора Большие Напольные
Авито Колонки Москва С 90
Колонки С Rgb Подсветкой Для Компьютера
Колонка Jbl 2
Обзор Умных Колонок С Алисой 2022
Саундбары Самсунг Отзывы Владельцев
Куда Подключаются Колонки
Ручки Для Колонок Купить
Лучшая Колонка 2018
Колонки Для Пк Обзор
Саундбар Polk Magnify
Колонка Алиса Лайт Купить В Спб
Рейтинг Проточных Колонок
Колонка Микрофон Купить Минск
Hyundai Creta Аудиосистема
Сравнить Портативные Колонки
Колонка Кда 25 Цена

































































































