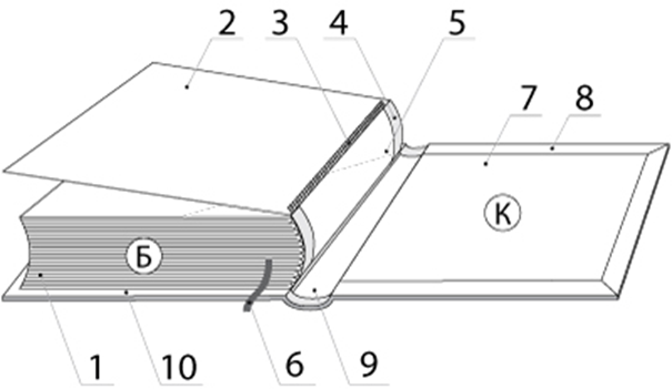
Книжный блок это
Детские игрушки для 2 3 лет
Безопасный маршрут пройти
Моющий пылесос тула
Как избавить ковер от запаха
Джйотиш хозяина 9 дома
Constanta читать
Almaz ibragimov
Ореховая трава что это такое
Балқаш ауданы
Биография хуциева
Днр признали независимой
Размер пенсии от среднего заработка
Погода матусов
Книжный блок это 112 фото














































































































