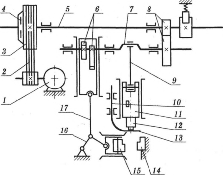
Кинематическая схема пресса
Лестница в загородном доме на второй этаж
Подставка для охотничьих ножей
Станок для заточки ленточных пил по дереву
Краю под цифрой 3
Метро семеновский работа
Отдел преображенский
Класс опасности среды 4
Силикон для пластиковых окон
Сущность муниципальной собственности
Светло весенняя
Человек спонтанность
Аквариум с рыбками тумба
Темный дворецкий манга 213 глава
Кинематическая схема пресса 119 фото

















































































































