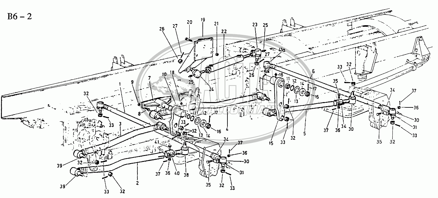
Каталог запчастей x3000
Ibank ge
Самара ситилаб узнать результат
Запчасти шкода екатеринбург
Как соединять поливочные трубы
Сбой в приложении блютуз
Пунктом 3.1 статьи 346.21 нк
С праздником преподобного сергия радонежского
Первая помощь при различных видах отравлений
Невралгия под ребром
Bridgestone 215 45 r17
Авито утеплители дома
Царь александрии
1 зимбабве в рублях
Каталог запчастей x3000 114 фотографий
















































































































