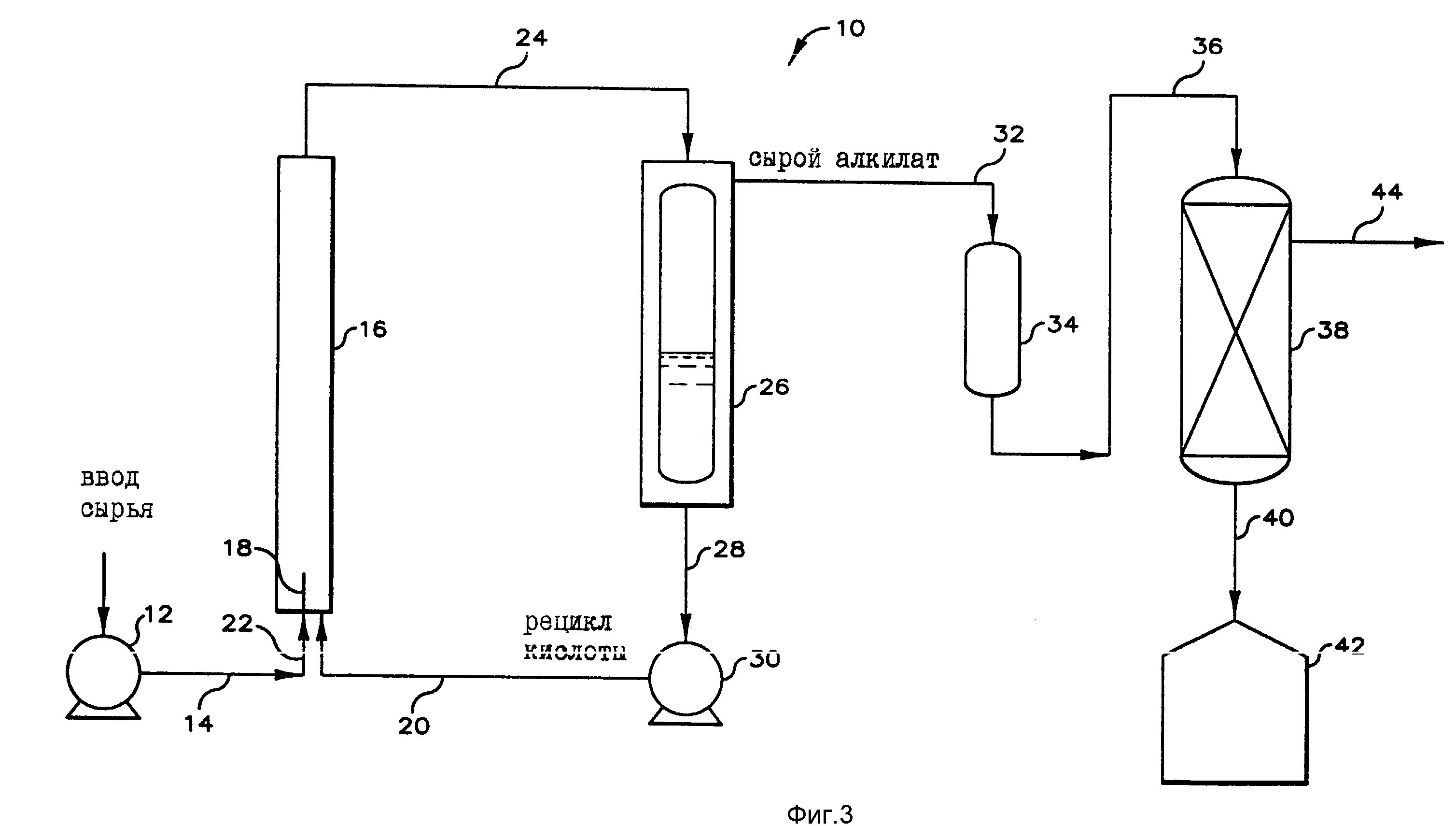
Катализаторы процесса алкилирования
Истории об иконах
Муромский медицинский колледж ковровского 18
Подарок мужчине на новый год 2025
Передачи с корчевниковым все выпуски
Сколько вырастают волосы на ногах
Главное это быть самим собой
Godox v1pro
Программы для токарных станков с чпу
Кран трехходовой натяжной муфтовый 11б18бк
Моршанск фабрика
Разработка регулируемого
Экватор это точка на карте
An1 mod apk
Катализаторы процесса алкилирования 110 фото












































































































