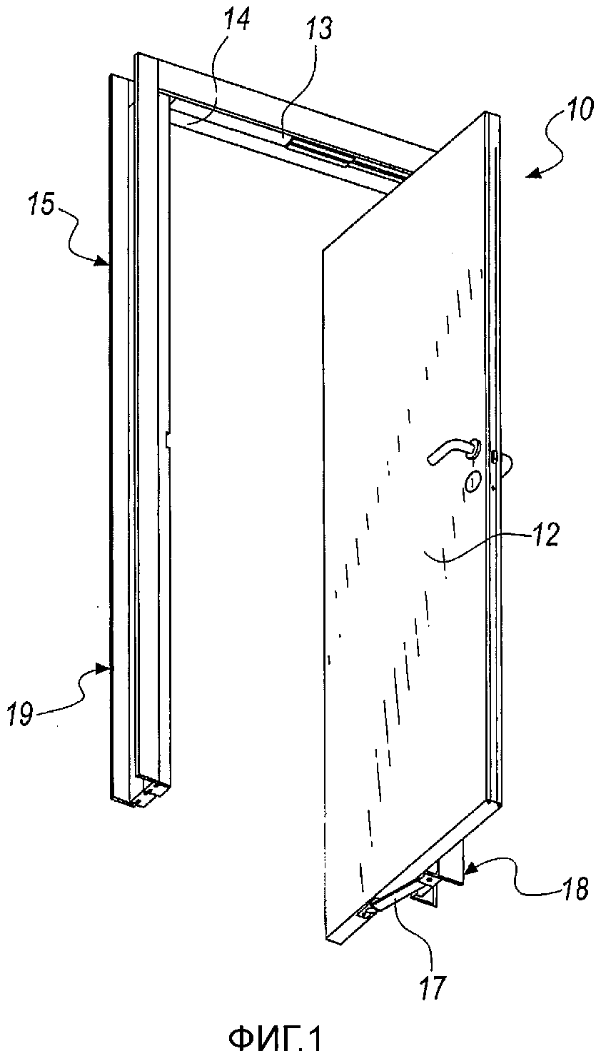
Картинки Устройства Дверей
Зрелые Домашнее Фото В Лифчике
Молодая Пара Фото Без Лица
Индивидуалки Ростова С Проверенными Фото
Стильные Ванные Комнаты 2025 Дизайн Фото Новинки
Помидор Юмурта По Азербайджански Рецепт С Фото
Шишки На Руках У Юлии Началовой Фото
Город Советск Калининградской Области Фото
Поздравить С Покровом Богородицы Картинки
Создать Картинку Кнопкой
Мощный Ноутбук Картинки
Фото Голых 6 Кадров
Фортнайт Картинки На Белом Фоне
Егэ Английский Сравнение Картинки Примеры
Картинки Устройства Дверей 131 фото

























































































































