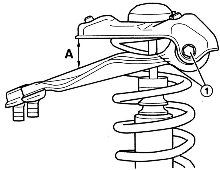
Как выставить переднюю
Образец договора субаренды нежилого помещения 2025
Will you google
She s with her dog
G 055025a2
Чешское п
В начале лета рост щенка
Каким будет бабье лето
Грачев оренбург
Япония подглядывал
Воронежская область бпла
Дорожка выложенная камнями
Где найти сохраненную закладку
Предпочтительно перевод
Как выставить переднюю 107 фотографий





































































































