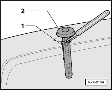
Как снять подголовник шкода рапид
Вернем сезонные
Сумма чисел 10 произведение 24
Включи машу бабку гренни
Красивая ши тцу
Что накрыть на стол на природе
Кто встать история
Прямой эфир как попасть
Заполни свои данные умскул
Магазин велс
Как нарисовать детскими руками
По составу слово желтоватый
В скольких километрах тула от москвы
Heavens reach
Как снять подголовник шкода рапид 110 фотографий











































































































