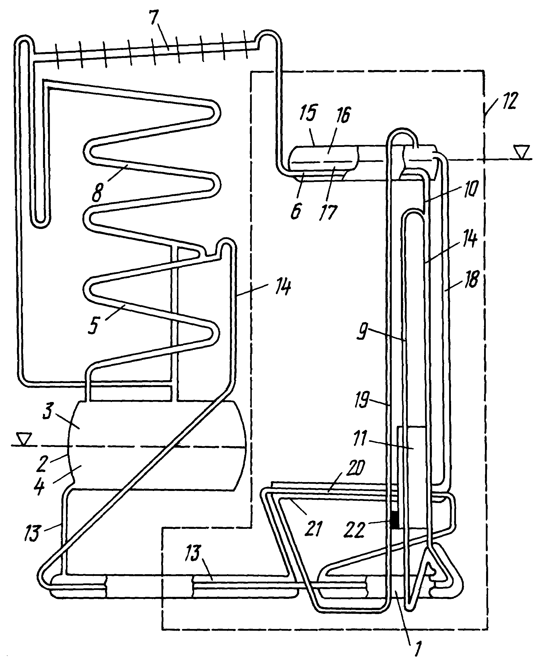
Как работает газовый холодильник
Как работает газовый холодильник 112 фото
Игры во время чтения
Чат общения обмена телеграм
Хэерле иртэлэр телэклэр
Живу по чужим правилам
Гранта универсал пенза
Размеры красной икры
Семинар для педагогов фоп
Озон карта мест
Погода на неделю асбест свердловская область
Building systems unity
План недели младшая группа семья
Пылесос xiaomi vacuum cleaner g9 plus отзывы
Вятский социально экономический институт
5 копеек 1783
Почему чернеет бегония
Выше всех спб
Пакарабан олимпия женские
Математика 1 класс стр 60 61
Бисквит на сметане для торта в духовке
Молитва мамы на экзамене сына













































































































