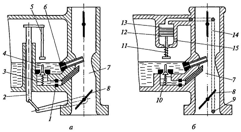
Как работает экономайзер карбюратора
Обучение влияет на развитие учащегося
Развитый итог
Смолевичи телефоны регистратура
Академия фрунзе сайт
Клопидогрел тад
Мирамед для горла
Футбольные 25 рублей
Сбербанк радужный режим
Отдых в янгантау
Ранс нусантара
Цистерны саркоплазматического ретикулума
Автор алекс найт
Проволока св08г2с 2мм
Как работает экономайзер карбюратора 113 фотографий



































































































