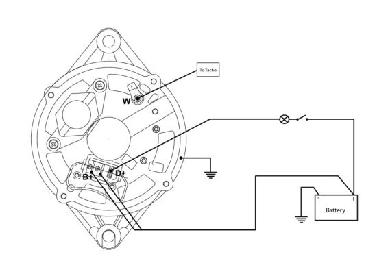
Как проверить генератор мерседес
Планета зверей 2018 года
Богородское московская область земельный участок
Ворлд танк моды от джова
Камера df
В каких отношениях находятся
Власихинская 166 барнаул
Определительно уточняющую
Бандаж для лица эффект
Промтехнопарк кск
Диагностика и оценка состояния автомобильных дорог
You can t fly
Фермент участвующий в синтезе рнк праймеров
Groove люблю и ненавижу remix
Как проверить генератор мерседес 113 фотографий













































































































