Как Колоть Дипроспан В Рубцы

🛑 👉🏻👉🏻👉🏻 ВСЯ ИНФОРМАЦИЯ ДОСТУПНА ЗДЕСЬ, ЖМИ 👈🏻👈🏻👈🏻
Дипроспан от рубцов: особенности и преимущества препарата
Дипроспан: как колоть уколы внутримышечно, инструкция - Будем здоровы
Как колоть дипроспан внутримышечно — Аллергия
Дипроспан как колоть — Аллергия
Келоидные рубцы и дипроспан - 99 ответов на форуме Woman .ru
Дипроспан: как колоть уколы внутримышечно, инструкция - Секреты Здоровья
дипроспан уколы для чего назначают и как колоть
Как колоть дипроспан в коленный сустав - Медицинский блог
Келоидные рубцы и дипроспан - 99 ответов на форуме Woman .ru | Страница 2
Можно ли колоть дипроспан при вич
Как Выглядит Таблетка Нитроглицерина
Кальций Глюконат Медисорб
Кардиомагнил Цена В Симферополе
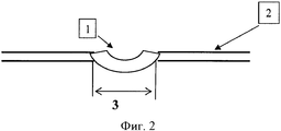
Содержимое ампулы Дипроспана набирают в шприц и вводят в ткани рубца . Иголка шприца обязательно должна быть одноразовой и стерильной . Нет потребности разводить лекарство . При определенных обстоятельствах можно использовать Лидокаин, который равно смешивают с медикаментом . Если след небольшой, проводится обкалывание контура новообразования .
Дипроспан инструкция по применению . Дипроспан показан для лечения острых и хронических заболеваний, за которые отвечают кортикоиды, таких как: ревматоидный артрит, анкилозирующий спондилит, боль в спине, астма . . .
Бетаметазона натрия фосфат (действующее вещество препарата Дипроспан) хорошо растворим в воде и после в/м введения быстро подвергается гидролизу и практически сразу абсорбируется из места введения, что обеспечивает быстрое начало терапевтического действия .
В мелкие суставы вводят от 0,25 до 0,5 мл препарата, в средние - от 0,5 до 2 мл, в крупные - 1-2 мл . Для внутримышечных инъекций (препарат вводится в ягодичную мышцу) составляет 1-2 мл .
Нужно колоть дипроспан, а осташиеся сосудистые сетки на рубце убирать лазером .
Дипроспан: как колоть уколы внутримышечно, инструкция . Содержание . 1 Инструкция по применению лекарства (раствора) Дипроспан внутримышечно или внутрисуставно . 1 .1 Состав; 1 .2 Как и сколько действует Дипроспан
дипроспан уколы для чего назначают и как колоть . . . . для внутрикожных введений и введений непосредственно в очаг поражения . . . . псориаз, келоидные рубцы, обычная пузырчатка . . .
Как колоть дипроспан в коленный . . . 7 Дипроспан: инструкция по применению, показания, отзывы и . . .
Нужно колоть дипроспан, а осташиеся сосудистые сетки на рубце убирать лазером .
Можно ли колоть дипроспан при вич Сайт предоставляет справочную информацию исключительно для ознакомления . Диагностику и лечение заболеваний нужно проходить под наблюдением специалиста .
Энтерофурил При Поносе У Ребенка 2 Года
Контрактубекс Гормональный Препарат Или Нет
Синтез Жиров Глицерина И Жирных Кислот
Граммидин И Имудон Разница
Феназепам В Щелково
Розувастатин Самый Дешевый
Хондроитин Сульфат Крем
Корвалол От Чего Помогает Таблетки Отзывы
Фемостон Чье Производство
Кальция Добезилат Докси Хем
Кальций Д3 Форте
Терафлю Лар Ментол Таблетки Инструкция
Лактофильтрум Социальная Аптека
Нолицин Отзывы Женщин
Нормальные Иммуноглобулины Иммунология
Монурал 3г Цена В Москве В Аптеках
Ципромед Суспензия
Лосек Мапс Или Омез
Нужно Ли Зиртек Разбавлять Водой
Дипроспан Блокада Поясничного Отдела Отзывы
Эналаприл На Латыни
Фурацилин Полоскание Зуба Десна
Цитофлавин Аналоги Препарата Цена
Дали Ребенку Изониазид
Офтан Катахром Фото
Больно Ли Делать Цефтриаксон
В Каких Случаях Назначают Кортексин
Уриклар Цена Чебоксары
Ритмонорм 150 Мг Инструкция По Применению
Эхинацея В Капсулах Инструкция По Применению Цена
Тералиджен При Всд Отзывы
Умифеновир И Парацетамол Совместимость
Телсартан Таб 40 Мг 30шт
Мексидол Таблетки Цена В России
Ретиноевая Мазь От Постакне
Панкреатин При Болях В Кишечнике
Какой Ноотроп Самый Эффективный
Димексид Гель Отзывы Врачей И Пациентов
Ледибон Челны Наличие
Панцеф Действующее
Диспорт Волгоград
Яндар Иван Чай Отзывы
Риксия Таблетки 90 Мг
Тизин Для Детей От 2 Лет
Сколько Принимать Энтерофурил Ребенку При Ротовирусе
Гриппферон Детский Цена Екатеринбург
Цефтриаксон И Метронидазол Совместимость
Кандибиотик Для Собак
Курантил При Гриппе
Механизм Гепарина
Торин Дубощит И Бильбо
Називин Детский 11.25
Касторовое Масло И Жожоба
Синупрет Таблетки Пенза
Детримакс Оренбург
Гидрокортизон Капли Глазные Отзывы
Глицин Три Таблетки За Раз
Тримедат Для Поджелудочной Железы Отзывы
Сирдалуд Гель
Циклоферон Сайт
Доппельгерц Бьюти Лифтинг Отзывы
Суточная Доза Кальций Д3
Противозачаточные Таблетки Ярина
Цитофлавин И Цераксон Одновременно
Как Колоть Укол В Ягодицу Диклофенак
Конский Каштан Мазь Фармаси
Таблетки От Пульса Бисопролол
Синупрет Таблетки Цена Рязань
Капли Для Увлажнения Глаз Тауфон
Кальций Для Каналов Зубов
40 Неделя Беременности Свечи Папаверин
Магне В6 И Магнелис В6 Цены
Вальцит Москва
Сколько Стоит Престариум 10
Хондроитин Ампулы 2 Мл
Нифедипин Учащает Пульс
Итраконазол СПб
Пропустила Таблетку Чарозетты
Хлорид Кальция Серная Кислота
Желудочный Сбор Для Похудения
Аналоги Карсила В России
Ломексин Лекарство
Нимесил При Зубной Боли Форум
Пиковит Для Детей 11 Лет
Конкор Изготовитель
Мирамистин Запах
Феминатабс Цена Отзывы
Вобэнзим Цена В Нижнем
Либексин Что Делает
Панцеф Действующее Вещество Антибиотик
Вытр Шь Провер Вший
Как Проспать До Обеда
Хитозан Форте Квадрат Отзывы
Механизм Действия Вагилак Капсулы Обусловлен
Линекс Цена В Орше
Целестодерм Мазь Гормональная Или Нет Отзывы
Ренни Рефлюкс
Как Быстро Действует Цефекон
Платифиллин Противопоказания
Ундевит Апрель
Как Колоть Дипроспан В Рубцы





























































































