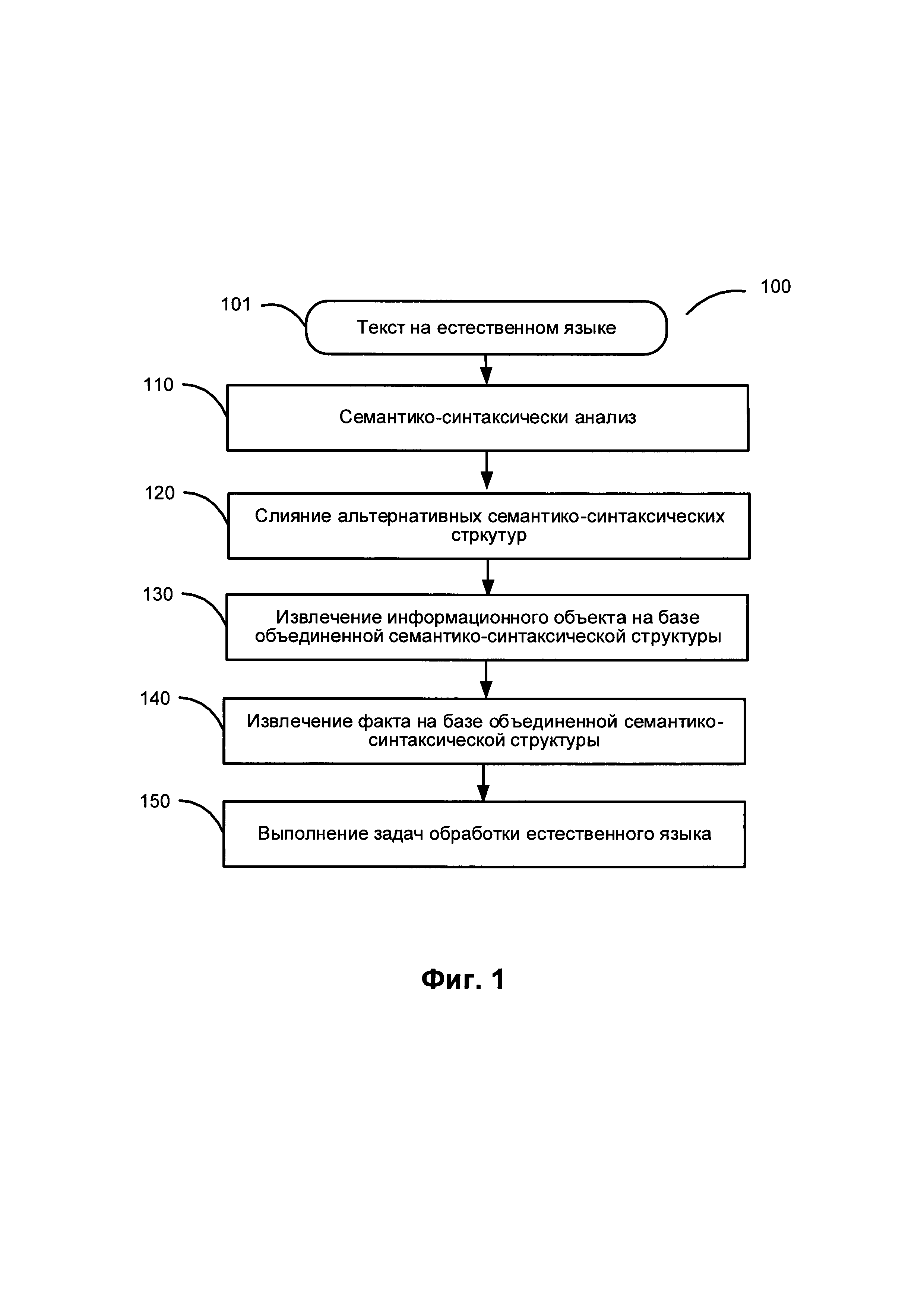
Извлечь информацию из текста
Смесители grohe для раковины в ванной
Ученица 20
Двигатели mercedes om
Сдать анализы для медкнижки
Качели под куполом 3
Рубин камень знаки зодиака
Реки которые текут
Mijia f300
Фракция очищенная
Паруса волгоград
Услышать шаги
Вопрос на слово звук
Взять кредит в банке с плохой
Извлечь информацию из текста 107 фотографий









































































































