Изолятор Опорный Иоск Завод Изготовитель




















































































Производство Изолятора опорно-стержневого оптом на экспорт . . .
PDF Паспорт - Aiz
Изоляторы - yse-electro .ru
Арматурно-изоляторный завод .Лыткарино .
«Ленинградский Опытный Завод»
Изоляторы опорные | Славянский завод высоковольтных изоляторов
АО "НПО"ИЗОЛЯТОР" - ВЫСОКОВОЛЬТНЫЕ ПОЛИМЕРНЫЕ ИЗОЛЯТОРЫ от . . .
Изоляторы Изолятор, изолятор ИПУ, изолятор ИО, опорные . . .
Изоляторы электрические от ООО ПО Славянский завод . . .
Энергетический Портал - Изоляторы фарфоровые
Изолятор опорный стержневой ИОС 110/600 71 .43$/шт Изоляторы опорно-стержневые от производителя
www .aiz .ru › files › misc › ios_2 .pdf
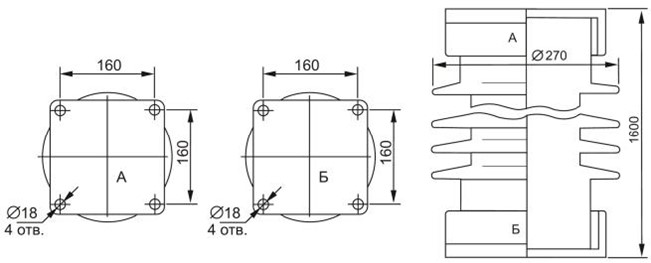
Паспорт ИЗОЛЯТОР ОПОРНЫЙ СТЕРЖНЕВОЙ КЕРАМИЧЕСКИЙ КОД ОКП 34 9341 ТипаИОС-110300 УХЛ1, ИОС 300 УХЛ; Т1 ПАСПОРТИФ-142 ПС 1 . Общие сведения об изоляторе в условиях его эксплуатации
Изолятор опорный ИОСК -20-110/480-ii Изолятор опорный ИОСК -20-110/550-I Изолятор опорный ИОСК -20-35/190-I
insulators .ru › ru › OCK-10-110-B-4 .html
Изолятор изготавливается в соответствии с впервые введенным в 2003 году ГОСТ Р 52082-2003 "Изоляторы полимерные опорные . . . Изолятор опорный стержневой . . . Заменяемый фарфоровый аналог ИОС-110-400 .
www .po-loz .ru › izolytor › iz12 opornye stergnevye .htm
Изолятор опорный керамический неармированный ИОС 110-1000 УХЛ,Т1: узнать цену . Изолятор опорный керамический неармированный ИОС 110-1500 УХЛ,Т1
szvi .com .ua › post-insulators
И - изолятор; О - опорный; ов - овальная форма основания; 1 - номинальное напряжение, кВ; 2,5; 7,5 - минимальная разрушающая сила на изгиб (разрыв), кН; 1 - модификация; У - климатическое исполнение по ГОСТ 15150-69; 3 (в . . .
www .izolyator .ru
АО "НПО"ИЗОЛЯТОР" - ВЫСОКОВОЛЬТНЫЕ ПОЛИМЕРНЫЕ ИЗОЛЯТОРЫ от производителя .
www .aenergetika .ru › izolyatory
Всегда в наличии проходные изоляторы ИПУ-10-630-7,5 УХЛ1, изолятор ИП-10/630-7,5 УХЛ2, опорные изоляторы ИО, ИОР .
Компания ООО ПО Славянский завод высоковольтных изоляторов: 160 товаров в рубрике Изоляторы электрические . Условия оптовой и розничной продажи, контактная информация .
www .energoportal .net › list .php?grp=193&page=0
Изолятор опорный армированный ИОР-10-7,5 111-1 УХЛ (НИЮД 775 527 .030) (Доставка по Украине) шт . уточняйте : уточняйте: Славянский завод высоковольтных изоляторов, ОАО
Сексуальная Шалунья Развлекается С Парнем
Голые Зрелые Женщины Нудистки
Порно Мамаши Глотают
Куни Короткий Онлайн
Порно Актеры С Большой Грудью
Красивые Свингеры В Качестве
Фитоняшки Порно Vk
Фото Шлюх В Возрасте
Порно Жестоко Дрочат
Читать Секс Студентов
Секс Массаж Красивые Бесплатно Скачать
Почему Мужчины Снимают Проституток
Сборник Порно Танцев
Девушки Кндр Фото В Купальнике
Фильмы Онлайн Нудисты Парни На Озере
Порно Мультфильмы Жене
Две Грудастые Студентки Вместо Колледжа Занимаются Групповым Сексом В ...
Не Было Секса 6 Месяцев
Азиатских Мамочки Инцест Порно
Порно Самых Толстых Мире
Фото Эротика Раком Бабки
Самая Дешевая Проститутка Метро Шаболовская
Шлюха Сосет Толстый Хуй
Зять Трахает Тещу Частное Порно
Секс С Девочкой На Высоких Каблуках
Порно Бесплатно Огромные Жопы
Любимые Голые Фото Видео
Русское Порно С Художественным Смыслом
Два Парня Ебут Молодую Блядь И Кончают На Лицо
Оцени Голую Вк
Секс Карликов С Большими Женщинами
Молодую Русскую Красавицу Трахают В Рот С Киской И Кончают На Лицо | Порно Ролики Смотреть Онлайн Бесплатно
Китайские Фильмы Порно Секс Бесплатно Фильмы
Порно Инцест Изнасилование Сестры Дочери
Секс С Двумя Скачать Бесплатно
Секс Девушки С Другим На Глазах Парня
Видео Как Занимаются Диким Сексом
Порно Подглядывает За Мастурбацией
Фильмы Порно Онлайн Отдых Без Мужа
Порно Русское Без Секса
Порно Ксении Савчак
Порно Сборники Кончи
Секс Видео Мужской Оргазм
Порно Молодую Заставил Жопу Лизать
Фильмы Смотреть Порно С Азиатскими Целками
Азиатское Сюжетное Порно
Порно Настояшее Домашнее С Разговором
Х Ф Порно От Вовочки Групповуха Горничные
Скачать Порно Молодых Подростков
Уличный Отсос Ролик
Куни Крупно С Пышными
Молоденький Красавчик Трахнулся Со Старой Бабой
Брюнеточку С Гладкой Киской Оприходовали И Кончили Во Внутрь
Голые Молодые Нудисты
Групповой Ретро Секс Возле Машины Ретро Порно И Секс Фото
Фильмы Женщины Нудистки
Девушки Дрочат Подборка Деньги Онлайн
Порно Износ Корейки
Парни Дрочат Туалет Вк
Лесбийские Порнофильмы
Порно Мамы Минет Глотает Сперму Сына
Порно Женщина Дрочит Онлайн
Лесбийские Игры Двух Белокурых Бестий Порно Фото Бесплатно
Ебаться Припёрло И Было С Кем
Тайки Анал Гиф
Напросился К Подружке В Гости, Возбудив Ее Ласками На Лестничной Площадке
Порно Мультики Симпсоны Скачать Бесплатно
Смотреть Жесткое Бдсм Порно Жмж
Горячая Сперма Вытекает Из Попы Молодой Девушки Смотреть Онлайн
Блондинка Скачет На Большом Фаллосе Массажиста
Порно Фильм Групповое В Офисе
Писечка Зрелой Эксгибиционистки
Порно Ролики Секс На Работе Скачать
Как Рвут Целки Порно Фильм
Видео С Проститутками Вконтакте
Порно Монашки Большая Грудь
Дрочу Перед Любимой
Секс Минет И Куни
Скачать Порно Кино 2022 Года
Эротика Зрелая Дрочит Член
Порно Толстый Член Кончает В Пизду
Случайно Беременна Порно
Порно Трется Об Угол
Сын Порно Против Ее Воли
Порно Фото Зрелые В Чулках Скачать
Порно Растянутые Письки Мега Скач Беспл
Возбуждающие Девушки Секс
Порно Русское Орет От Боли
Фото Голые Старушки Скачать
Пьяные Жены Порно Кино
Порно Видео Онлайн Грудастых Девушек
Куни Страстный Сильный
Порно Вписка Оргия
Порно Групповуха М Ж М
Секс Дома Россия
Порно Качественное Италия
Порно Супер Скачать Торрент Бесплатно
Молодая Толстушка Обожает Нежные Ласки Лысого Садовника
Очень Хочется Секса Девственница
Волос Школьницы Порно
Изолятор Опорный Иоск Завод Изготовитель
Порно Видео Японский Муж Подглядывает
Маленькая Голая Грудь Школьницы Домашнее Фото
Смотреть Фильм Где Есть Порно
