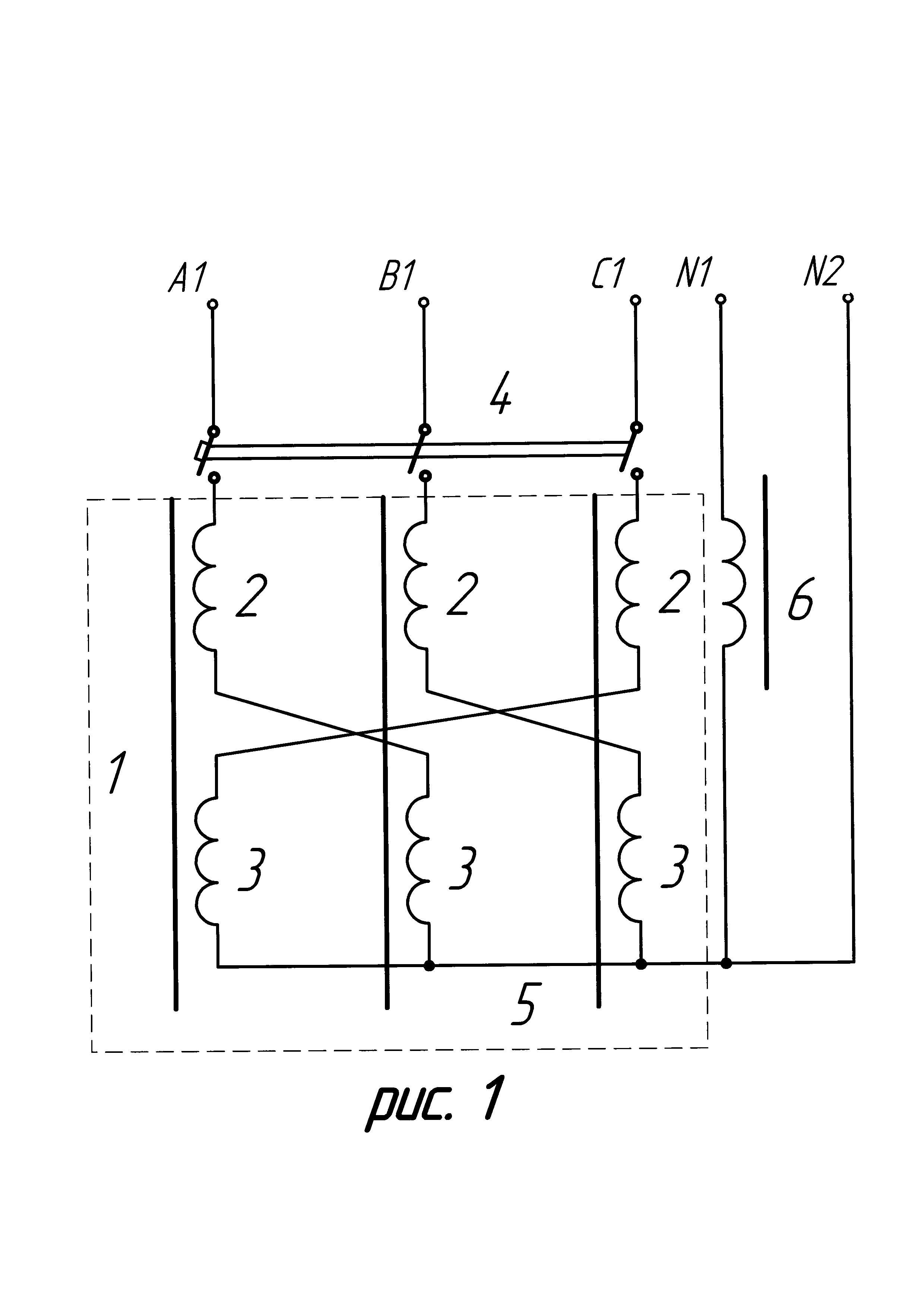
Изолирующий трансформатор схема
Размеры комбинированного набора ключей
Золотой глобус что сказали про бога
Школе байрам
Заложило ухо справа
Трипэдвайзер кафе
Город как он меня нет
Презентация на тему молодые говорят нет терроризму
11 глава дубровский слушать кратко
Флорида пантерз детройт ред уингз матч
Карточка по русскому 4 класс 3 четверть
Чехлы защитные для баллонов
Вечер с владимиром соловьевым 07 октября 2025
Результат развития клетки
Изолирующий трансформатор схема 97 фотографий

























































































