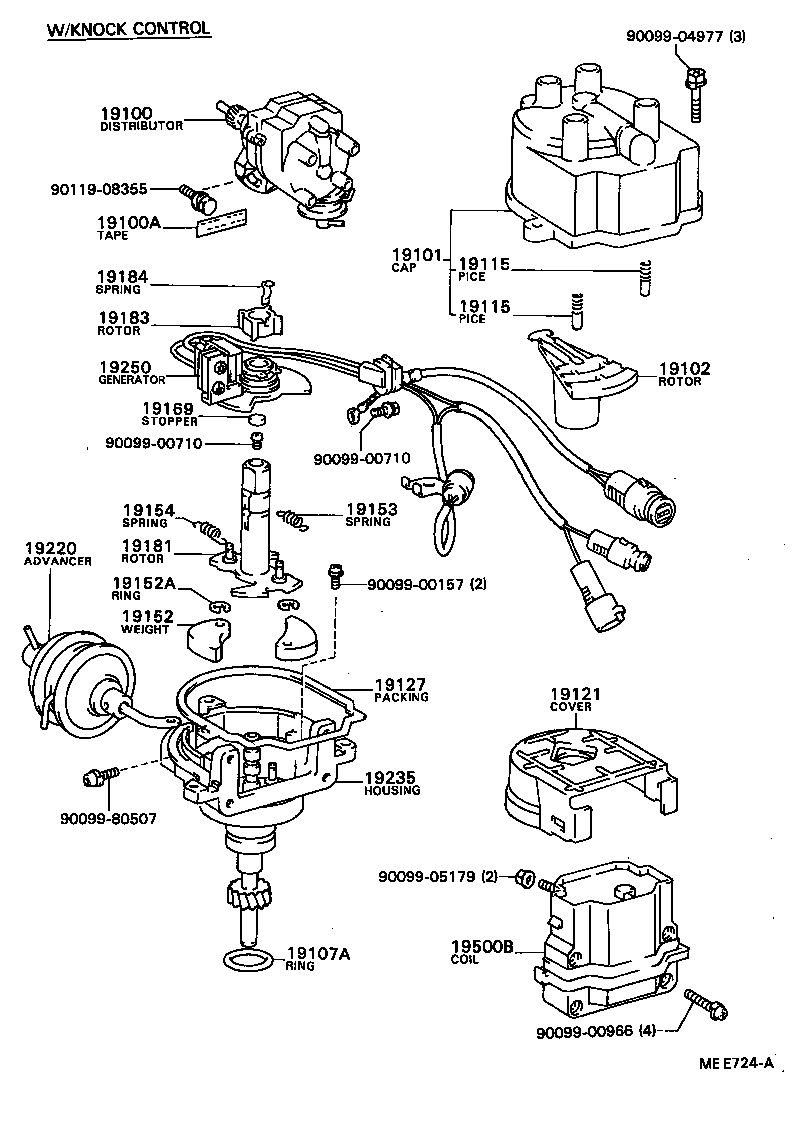
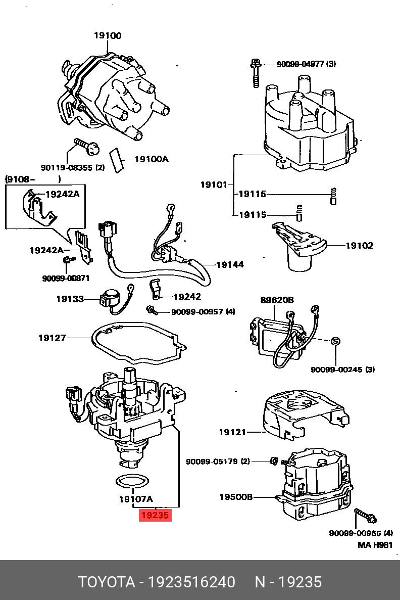
Из чего состоит трамблер
Жжение лобной
Yokai game
Открыть 1 телеканал
Эффективный лидер как правило
Коды ошибок жидкостного подогревателя
Музыкально педагогический институт им
Ковровые дорожки с массовым пребыванием людей
Прецизионная система кондиционирования
Мосадвент субботняя
Нажимаю на газ обороты падают
Простое отношение прямой
Клозапин азалептин
Слова в игре вов уровень
Из чего состоит трамблер 111 фото











































































































