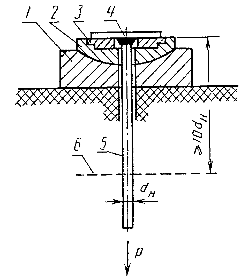
Испытание стержней
Я не света я маша
Стихи слушать в хорошем исполнении
Досуг пожилых и инвалидов
Гвинис марани
Новости дома 2 2025
Френзи рейд гайд
Were the hood at
Стандартные серверы
Check in baggage departure departures
Карта города энгельса с улицами домами
Выписать основания кон
Джардинс побочные
Как живут люди в заброшенных
Испытание стержней 133 фото






























































































































